用电子管收音机改制成扩音机,有改制方便、经济实用的特点,较适合一些农村生产队和学校的需要,下面讲讲我的改制经验。
一般的交流五、六灯收音机功放级都采用6P1或6P6P做甲类单管放大。这两种电子管做甲类放大时,如果屏压和帘栅压达到250伏,音频输入峰压达到12伏,在负载阻抗匹配的情况下,输出功率能达到5瓦左右。用这个功率来推动高音扬声器,发出的声音就能满足一个农村生产队或一所农村小学的需要。但一般五、六灯交流收音机只有一级音频电压放大,所以送至功放组的音频电压峰值没有达到12伏;有些收音机的直流高压也没有达到250伏。这就使一般的五、六灯交流收音机的输出功率都不足5瓦,有的只能输出1瓦左右。并且收音机本身的输出变压器也不能使用高音扬声器。要使收音机有较大的输出,且达到充当扩音机的目的,可以采用下面几个步骤:
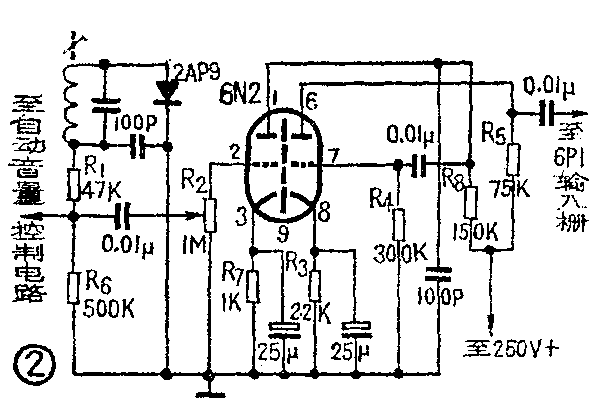
1.为了提高音频电压,增加一级音频电压放大。有些五、六灯交流收音机(如上海牌161型、美多牌663型等)采用双三极管6N2的一半接成二极管作检波,另一半作音频电压放大。其检波和电压放大部分的电路如图1,这种收音机可以改用二极管作检波,用原来作检波的半个6N2作电压放大。这样就避免了由于增加管座、改变布线而引起的麻烦。改制后的检波和音频电压放大部分的电路如图2。可以看出,它仅仅比原来增加了一只半导体二极管、三只电阻和二只电容,调换了三只电阻。新添的元件可直接焊在收音机原有的管脚和接线架上。实践证明,如果安排的好,不用金属隔离线也不会产生不良耦合和振荡。R\(_{5}\)和R6的额定功率为2瓦以上,否则容易发热损坏。半导体二极管可用2AP9、2AP10、2AP16等,反向阻值要求在500千欧以上。


这里要注意的是不要使第一级增益做的太高,否则容易产生失真,因此把第二级电压放大的栅极电阻改为300千欧。把第一级电压放大的屏极负载电阻改为150千欧。由于第一级电压放大的输入电平不能一致(收音、拾音、话筒),所以把音量控制电位器改为1兆欧,作为第一级电压放大的栅极电阻,利用它范围较大的可调性来控制输入电平,使机器在不同用途时都能在无严重失真的情况下有较大的输出。
调整时,可一边用万用表的交流电压50伏档测功放管输入电压峰值(表头读数乘以1.414),看是否达到了12伏(测6P1管第7脚和底板间的电压),一边仔细听扬声器中发出的声音。一般说来,如果所用元件没有损坏的话,所测电压峰值应在12伏左右,扬声器发出的声音也应无明显失真。如果所测电压峰值不够12伏或声音有明显的失真,首先要检查增加和调换的元件是否损坏,如果这些元件都是完好的,所测电压不够的问题可采取加大R\(_{4}\)、R5,借以提高两级放大增益的办法解决;明显失真的问题可采取降低第一级电压放大级增益的办法来解决。
有些老式的五灯交流收音机的电子管是采用玻璃管,一般都是用6G2P的二极部分作检波,三极部分作电压放大。在这种情况下,可将6G2P换成双三极管6N8P,然后再参照前面那种办法改制。6G2P和6N8P的管座通用。仅仅是管脚接法不同。6N8P和6N2的性能也基本相同,各种参数差异都不大,改制方法就不赘述了。
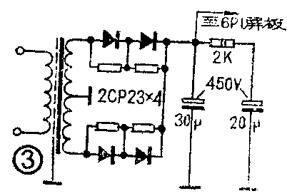
2.为了提高功放管的屏极和帘栅极电压,可用硅二极管代替电子管整流。
硅管的正向电阻较小,所以整流时比电子管的正向压降小。改用硅管整流后,直流输出电压比原来高出10~20%。一般的五、六灯交流收音机,电源变压器的次级高压在230伏左右,改用硅二极管整流后,直流输出电压就达到了250伏左右。用硅二极管整流的电路如图3。硅二极管没有灯丝,不消耗灯丝功率,这给电源变压器减轻了负担。我采用的整流二极管是2CP23,这种管子的反峰电压值为300伏,直流输出电流为300毫安。也可以用其它任何一种适合工作电压和工作电流的硅二极管。用硅二极管串联整流时,由于管子的反向特性(或反向电阻)不可能完全一致,所以在硅二极管上会造成电压分配不均匀的现象,使管子容易击穿损坏。因此在硅二极管两端都加了均压电阻,见图3。均压电阻的数值一般为整流二极管的反向电阻值的1/3~1/5。

有些收音机的直流高压原来就很高,如美多663型等,若再用硅管置换电子管,会把功放管阴极击穿。所以这种类型的收音机不易直接用此方法改制。还有些收音机变压器次级高压太低,改制后输出功率低,须置换电源变压器。
3.输出变压器可用市售品5瓦输出变压器改绕,也可用其它变压器代替。有一种市售5瓦输出变压器,初级阻抗为5.5千欧,次级为0—3.5—6欧。它的初级适合于6P1或6P6P的负载阻抗,次级应拆除重绕。因为0—6欧一段为181.5圈,按V=\(\sqrt{PR}\)的公式计算,5瓦的功率加在6欧的负载上时,负载上的电压V=5×6≈5.5伏,则每伏圈数为181.5/5.5=33圈。如果次级接16欧姆的高音扬声器,则负载上的电压V=\(\sqrt{5×16}\)≈8.9伏。次级圈数为33×8.9=293.7圈。流过次级的电流为I=V/R=8.9/16≈0.55安,需用直径0.41毫米的漆包线绕制。
如果次级负载为数十只舌簧喇叭,取250欧为负载阻抗,则负载上的电压V=\(\sqrt{5×25}\)0≈35.4伏。次级圈数为33×35.4=1168圈,电流为0.14安,需用直径为0.21毫米的线绕制。
4.改制后,收音机原有的音量控制电路和负反馈电路都不必改动。原有的拾音插孔还可以利用,只要改接在第一级音频电压放大的输入端(就是图2的R\(_{6}\)两端)就可以了。机内扬声器和原来的输出变压器,可作监听扬声器或代用话筒。作监听时,只要把原输出变压器初级和16欧高音扬声器并接在一起(次级仍接机内扬声器)就行了,这时机内扬声器仅消耗15毫瓦左右的功率;代用话筒时,就利用原输出变压器作话筒变压器,将原变压器初级接在第一级音频放大的输入端就可以了。
我曾按上述方法用收音机改制扩音机多台。用它能带动一只阻抗为16欧姆、额定功率为10瓦或15瓦的高音扬声器,也可以带动一只25瓦的高音扬声器。若用它带动200只0.1瓦的舌簧喇叭,可供生产大队建立小型广播网用。(李东升)