遵照毛主席关于“备战、备荒、为人民”的教导,为了配合部队、民兵夜间射击训练,我们自制了晶体管夜间射击闪光器。该闪光器体积小、重量轻、闪光频率稳定,信号清晰;并可通过开关来控制闪光灯亮、灭时间的长短,以适合战术训练要求。
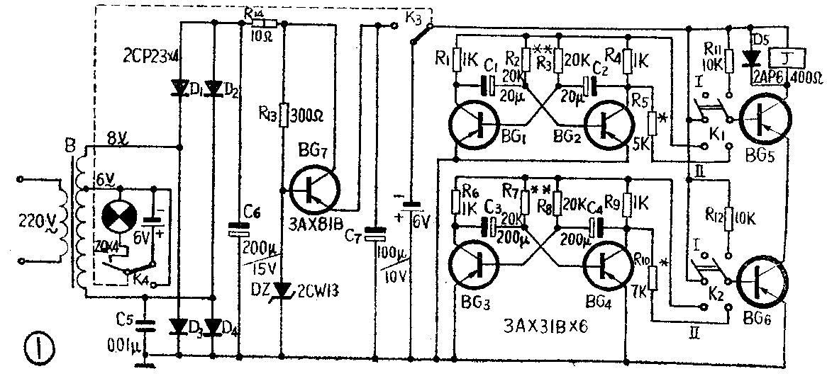
晶体管夜间射击闪光器的原理电路见图1。由晶体管BG\(_{1}\)、BG2及BG\(_{3}\)、BG4分别组成两组振荡频率不同的自激多谐振荡器。在BG\(_{1}\)、BG2这组电路中,电容C\(_{1}\)、C2的交替充电与放电,使晶体管BG\(_{1}\)与BG2也交替地饱和与截止,于是从BG\(_{2}\)的集电极输出一振荡信号,其振荡频率主要地取决于R2、C\(_{1}\)或R3、C\(_{2}\)。由于选用元件时使R2=R\(_{3}\),C1=C\(_{2}\),根据需要,适当选择R2、R\(_{3}\)的数值,控制BG1、BG\(_{2}\)的导通时间约为0.15秒,截止时间约为0.15秒,所以每秒钟两个管子轮流导通与截止各3次。同理,对于BG3、BG\(_{4}\)一组,控制管子导通时间为3秒,截止时间也为3秒。

BG\(_{5}\)、BG6组成两级放大器。从图1中可以看出,若开关K\(_{1}\)、K2置于“Ⅰ”位置,由于基极接电源负端,所以BG\(_{5}\)、BG6均导通,且BG\(_{5}\)的集电极电流足以启动继电器J,于是J的触点接通,小灯泡亮。若此时K1的位置不变,而把K\(_{2}\)拨向位置“Ⅱ”,则由于BG6的基极接的是BG\(_{4}\)的集电极输出,而BG4输出的是3秒钟内有信号,3秒钟输出信号为零,于是BG\(_{6}\)也3秒钟导通,3秒钟截止,因而BG5也是3秒钟导通,3秒钟截止,而继电器在BG\(_{5}\)导通时间内启动,灯泡亮;在BG5截止时间内因无电流通过而断开触点,灯泡灭。所以灯泡是亮3秒,灭3秒。同理,若K\(_{2}\)置于“Ⅰ”,而K1置于“Ⅱ”,则灯泡以每秒钟闪亮3次的频率重复,即长闪光。若K\(_{1}\)、K2都同时置于位置“Ⅱ”,则灯泡在3秒钟时间内闪光9次,灭3秒钟,再闪光9次,成为3秒闪光,3秒灭。
元件选择
晶体管BG\(_{1}\)~BG6可选用3AX31B型,要求β选在40~100之间,并按组配对,配对管子的β值相差小于5即可。继电器选用PCM-1型时,它的吸合电流为8毫安。我们在用PCM-1型时,在原线圈上又加绕了一些线圈,使其线包电阻为400欧。因它的触点接片弹力太硬,先用锉刀把接片锉得薄些,这样可使它的动作更灵敏、准确。
开关K\(_{1}\)、K2均为双刀双掷扭子开关。闪光灯用2.5伏的白炽灯泡。在选元件时,尽量满足R\(_{2}\)=R3,R\(_{7}\)=R8,C\(_{1}\)=C2,C\(_{3}\)=C4。
闪光器的电源可以由市电交流220伏供给,也可以用于电池供电。若用市电,稳压电源的变压器可用市售的节电变压器或电铃变压器,变压器次级8伏输出接整流器的输入端,而次级6伏输出作为灯泡电源。若用干电池供电,则共用8节1号电池,4节作为闪光电路中晶体管的电源,另4节为灯泡电源。
安装与调试
整个闪光器装在一个200×150×100(毫米)\(^{3}\)的自制木盒里,见图2。盒子里还装有15米靶台导线以连接闪光灯泡用。并留有装8节一号电池的位置(上下分两层),以备在没交流市电的地方可用干电池。全部元件装在一块100×60(毫米)2的印刷电路板上,印刷电路板见图3。


安装时,最好是安装一部分调整一部分。现以第一组振荡器为例说明其调试方法。一般只要元件R\(_{2}\)、R3、C、C\(_{2}\)数值正确,焊接无误,即可正常工作。调试时可用三用表直流电压档测试BG1、BG\(_{2}\)的集电极电压,若表针有明显的摆动,说明电路工作正常。如果是两管的集电极电压接近零电位,则表明两管均处于饱和状态,电路不起振,可适当地增大R2、R\(_{3}\)的阻值或更换β值较小的管子。R2、R\(_{3}\)增大后,为使振荡频率保持不变,耦合电容C1、C\(_{2}\)也应相应减小。在调整电阻R1、R\(_{3}\)时,需用一只47KΩ电位器串接一固定4KΩ电阻,以防烧坏管子。在用电位器调试时,用秒表或手表计时观测闪光频率,使其每秒闪三次,即可焊下电位器,测一下数值,换上固定的电阻。同理调第二组振荡器,使其亮三秒、灭三秒。
使用方法
使用时,若用市电则市电从闪光器盒子左侧的交流输入插孔接入。若需要增加闪光灯的数量,那么闪光灯的电源应改用蓄电池或容量较大的干电池并从盒子外侧的外电源插孔引入。盒子上还装有闪光灯插孔,是用来连接闪光灯泡的。
从图2可以看到,面板上装有交、直流电源转换开关、照明灯开关及闪光灯控制开关K\(_{1}\)、K2。当K\(_{1}\)、K2均拨向下方,此时闪光灯长亮;若把右边开关K\(_{1}\)拨向上方时,则闪光灯就呈现长闪光;若把左边开关K2也拨向上方,则闪光灯呈现3秒闪光(3秒钟内闪9次)、灭3秒;若这时再把右边开关拨下,则闪光灯为亮3秒、灭3秒。因此,通过开关可以控制闪光灯,以满足夜间射击训练的要求。(解放军某部 曾良生 李晓帆)