我们仓库的主要生产工具是电动起重设备——桥式行车及龙门行车。供行车行走的路轨最长达300米。由于供给行车架空滑触线电源的总开关箱,装在靠路轨一端的墙上或电杆上,当行车停在另一端需要使用时,驾驶员开启电源很不方便。切断电源也是如此。此外,当行车使用完毕后,如果没有切断电源,架空滑触线就会带有380伏电压,容易造成事故。针对上述问题,我库青年业余科技小组试制成功行车滑触线自动断电装置,在五吨桥式行车和十吨露天龙门行车上经半年多时间的使用,效果良好。当行车需要使用时,只需在驾驶室按一下电钮,滑触线上即有电流送来;在行车不使用时间超过某一预定时间后,又能自动切断滑触线上的电源。整个装置具有方便、节电、安全的优点。

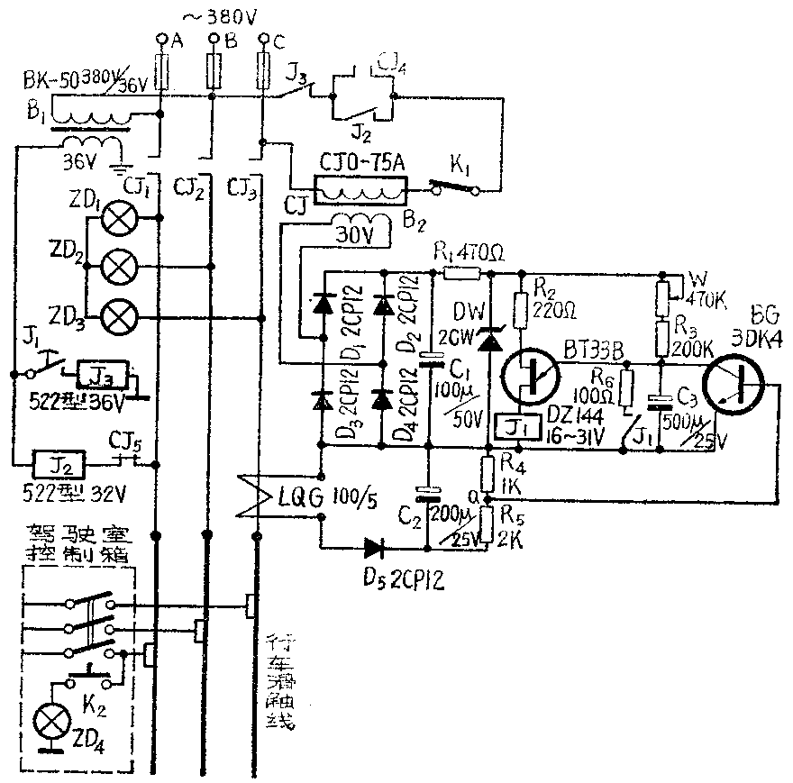
这种行车滑触线自动断电装置的电路如图所示(其中虚线部分装在行车驾驶室里,其余部分装在行车滑触线一端的控制箱中),包括启动控制回路、延时继电器、电流信号控制回路三大部分:
启动控制回路由变压器B\(_{1}\)、交流接触器CJ、交流继电器J2和J\(_{3}\)、指示灯ZD4组成。
时间继电器由单结晶体管BT、直流继电器J\(_{1}\)、电容C3、电位器W和电阻R\(_{2}\)、R3、R\(_{6}\)组成。采用这种电路可以得到较长的延时。时间继电器所用稳压电源的电源变压器B2利用CJ线圈做初级,另用φ0.23毫米漆包线绕165圈做次级。
电流信号控制回路由电流互感器LQG、二极管D\(_{5}\)、电容C2及电阻R\(_{4}\)、R5和三极管BG组成。
下面介绍自动断电装置的工作过程及原理。当驾驶员需要开动行车时,揿下启动按钮开关K\(_{2}\),继电器J2吸动,其常开触点闭合,接通交流接触器CJ线圈控制回路,CJ\(_{1}\)、CJ2、CJ\(_{3}\)闭合将主电源接通,行车滑触线通电。同时CJ4自保,CJ\(_{5}\)断开使J2释放。这时行车上的电机就可以正常工作。
电机运转时,滑线上就有电流通过,电流互感器LQG次级线圈中产生一小电流,然后将电流信号变为电压信号。以五吨桥式行车为例,从一台电机工作到电机全部工作,次级线圈上接300欧电阻时,实测电压变化范围为8.5伏~18.5伏。此电压信号经D\(_{5}\)半波整流,C2滤波及R\(_{4}\)、R5分压后,a点电位变化范围为+1.1伏—+3伏左右,使三极管BG导通,单结晶体管截止。这就保证了行车上只要有一台电机工作,滑触线电流就不会被切断。
再看行车不使用时的情况。所有电机都停止工作后,滑触线上没有电流通过,LQG次级无电流输出,a点处于零电位,使BG可靠截止。这时,延时继电器的稳压电源将通过W和R\(_{3}\)向C3充电。经过一定延时,当C\(_{3}\)上的电压达到单结晶体管的峰值电压时,BT突然导通,使继电器J1吸动,带动J\(_{3}\)动作。J3常闭触点断开,切断CJ线圈回路,CJ\(_{1}\)、CJ2、CJ\(_{3}\)断开,使滑触线断电。同时,CJ常闭触点CJ5\(_{1}\)次级36伏低压电源的一根线经J2线圈引至驾驶室。
延时继电器电路中,R\(_{6}\)的作用是在继电器J1吸动时,给电容C\(_{3}\)提供放电回路。
从电机停止工作到滑触线上断电的延迟时间,由电位器W调节。一般选定延时3到10分钟。
通过上面的介绍,我们不难看出,这种自动断电装置的设计思想,是用电流信号控制回路控制延时继电器的工作,进而控制滑触线上通电或断电。
最后再谈谈安装使用时的注意事项:
1.当线路接好,装到行车电路上时,首先应检查指示灯ZD\(_{1}\)—ZD3是否接地。如接地时必须去掉地线,改接成星形接法。
2.安装时必须注意三相交流电相位。可能有两种不正常情况:一种是把照明灯和K\(_{2}\)接在同一相位上了,这时合上照明灯开关就会使J2动作,导致交流接触器CJ自动吸引;在照明灯开关闭合情况下,本装置失去了断电作用。另一种情况是K\(_{2}\)接到了B相或C相上,把ZD1~ZD\(_{3}\)中的两个指示灯串入启动回路,致使揿下开关K2时,J\(_{2}\)上的电压低于启动电压,不能吸动,而发出“知、知”的声音。这时应重新调整相位。
3.维修线路时必须把K\(_{1}\)断开,避免发生安全事故。(上海金属材料公司五星路仓库 胡皆振)