走进某染料化工厂的一间工作室,只见水泵将液体料抽入一个容器内,酸度控制仪器自动测定PH值,然后氨水控制阀打开流入定量氨水,进行氨解反应。楼上另一间屋子里,一台比普通收音机稍大些的仪器,指示灯忽亮忽暗。……操作的工人同志指着仪器说:“这就是一台JCK-16型简易程序控制器。过去启动水泵、加氨水、加碱等工作,都要人定时下楼去开阀门。现在用了简易程序控制器,就把这些过程按预定时间和条件自动地联结起来,实现了自动程序控制,既节约了劳动力,又提高了生产效率。”
JCK-16型简易程序控制器,是由上海市科技交流站电子电器队试制,由上海交通电器厂生产的。它是一种介于继电器控制与专用电子计算机之间的通用自动控制装置。主要适用于需要经常修改或变动程序,重复进行的简单动作过程的自动控制,如化工生产中某些反应过程的控制;程控机械中注塑机、印刷机、机械手的控制;生产自动线中电镀、染色、包装及冲床、钻床、组合机床的控制等。对于中小型规模生产的程序控制尤为适宜。


这种简易程序控制器,由带二极管插销的插孔板、计数器、译码器、一致电路、秒脉冲源等几个部分构成,原理方框图及总逻辑图分别如图1、图2所示。它能控制十六个程序,每个程序最多可有八个动作信号输出能力。每个程序过程的转换,可根据温度、压力、液位、流量、重量、位移、时间和电压等外给参量或与门信号、或门信号和无触点开关信号等进行控制。在详细介绍各个组成部分之前,我们先结合图1粗略地描述一下控制器的工作过程:计数器Ⅰ是程序计数器,它的十六种状态对应十六个程序。至于在每一程序中完成那些动作,每一程序的动作进行多长时间,是否已经完成,整个工序由那几道程序组成等,是由在仪器面板上的“动作设定”、“动作数值设定”、“动作完成设定”、“复位设定”等设定插孔中,选插带有二极管的插塞决定的,实际上是构成了二极管矩阵网络。控制器工作时,与某一程序相对应的电信号,首先经动作设定矩阵中二极管通路,输出相应的动作信号,再经放大、驱动电路,推动有关对象动作。计数器Ⅱ接受秒脉冲源或被控参量的计数脉冲,作为相应的动作计时。当某一程序进行的时间,和生产工艺预先规定的时间相符时,经动作数值设定矩阵中二极管通路,就有信号输出至一致电路,一致电路产生脉冲信号使计数器变为另一个状态,就实现了程序的转换。类似地,当某一程序的动作完成信号来到时(这时不是由时间控制了,叫做“条件控制”),一致电路也产生使计数器Ⅰ状态改变的触发信号,达到转换程序的目的。
下面分别介绍控制器的各个部分:
一、计数器 采用高抗干扰集成电路(HTL集成电路)JK触发器5GY61组成的二进制串行计数器。计数器Ⅰ由四只触发器组成,线路见图3。计数前先“清零”。第一个计数脉冲来到时,触发器C\(_{1}\)翻转,Q1为高电平“1”。因为5GY61触发器是负跳变触发的,所以Q\(_{1}\)由“0”变“1”时,对C2不起作用,此时计数器状态为“0001”。第二个计数脉冲来到时,Q\(_{1}\)由“1”变“0”,负跳变使C2翻转,Q\(_{2}\)由“0”变“1”,这时C3、C\(_{4}\)仍未翻转,计数器状态变为“0010”。……第十五个计数脉冲来到时,计数器呈“1111”状态。第十六个计数脉冲又使计数器回到“0000”状态。这样,四只触发器的十六种状态就能相应地代表十六个程序。

计数器Ⅱ由八只触发器组成,线路与计数器Ⅰ同。
二、译码器 由HTL集成电路与非门BJH-12组成。根据正与非门逻辑功能,只有在所有输入端同时为“1”时,输出才为“0”,因此与非门输入端都要接计数器Ⅰ相应程序状态各触发器输出为“1”的一端。为取得“1”电平控制信号,各程序译码器由两级与非门串接而成(参阅图2)。

三、动作设定 动作设定二极管矩阵如图4所示。输入端接译码器,纵线输出端接放大和驱动电路(共有十六个输出通道)。当在动作设定插孔中插入带二极管的插塞时,就把相应的输入端和输出通道接通了。以图4为例,当计数器呈“0001”状态,即第二程序时,D线为高电平,经二极管D\(_{1}\)使A线为高电平,JEC-2集成电路反相器导通,直接驱动小型继电器J1动作,进而推动有关对象动作。而当转为第三程序时,计数器呈“0010”状态,E线为高电平,经二极管D\(_{2}\)、D3使A、B两线均为高电平,J\(_{1}\)、J2同时动作,也就是说,第三程序同时有两个通道输出。
从图2中还可以看到,程序信号也送到了一致电路。

四、动作数值设定 动作数值设定二极管矩阵如图5左半部分所示。这一部分的作用,是在某一程序进行的时间和预先设定的时间相符时,向一致电路送出信号。矩阵的输入端接计数器Ⅱ,十六根横线分别决定十六个程序的动作数值,横线输出端接一致电路。工作原理如下:秒脉冲源不断地把计时脉冲送给计数器Ⅱ。当C\(_{1}\)为“1”时,M线为高电平。设计数器Ⅰ呈“0001”状态,即第二程序,该程序的动作数值由G线决定。现G线上只接一只二极管D4并和M线相连,因此M线为高电平时G线也为高电平,有信号送至一致电路。这就表示第二程序进行的时间与预先设定(通过二极管D\(_{4}\))的时间已相符。再来看第三程序的情况。由于H线上接了两只二极管D5和D\(_{6}\),分别和M线、N线相连,当M线为高电平、N线为低电平时,H线将被箝位在低电平,不能向一致电路送出信号;只有当C1、C\(_{2}\)均为“1”状态,M、N两线都是高电平,H线也是高电平时,才有信号送至一致电路。这表示第三程序进行的时间是通过两个二极管D5、D\(_{6}\)设定的。
综上所述,在上面的例子中,第二程序进行到C\(_{1}\)为“1”(计数器Ⅱ中其它触发器均为“0”)时结束,第三程序进行到C1、C\(_{2}\)为“1”时结束。在不同的动作数值设定插孔中插入带二极管的插塞,便可使各程序进行不同的时间。
计数器Ⅱ中某触发器为“1”状态时,该纵线上接的晶体管2GO12A导通,使数值显示指示灯点燃。
五、一致电路 前已提及,一致电路的作用,是当某一程序已进行完毕时(或者该程序进行的时间和预先设定的动作数值相符,或者该程序动作完成信号到来),发出触发脉冲,使计数器Ⅰ状态转换。这一部分电路示于图5的右半部分。由图5可见,对应每一程序有一与非门,它有三个输入端:程序信号输入端、动作数值信号输入端、动作完成信号输入端。动作完成信号输入端和外接插座相连,平时插座内触点闭合,接电源,因此该输入端为“1”。图5中,计数器Ⅰ呈“0001”状态,即进行第二程序时,D线送入程序信号。当第二程序进行到C\(_{1}\)为“1”(其它触发器为“0”)时,G线送入动作数值信号。此时与非门三个输入端均为“1”,输出为“0”,再经以下两级与非门输出也为“0”。这一负跳变信号便使计数器Ⅰ变为“0010”状态了,实现了程序的转换。
六、动作完成设定 一致电路中,每一程序与非门有一个输入端外接插座,这就是动作完成设定部分(参阅图5)。当某程序需要由条件控制时,将一插塞插入插座内,插座内触点断开,该输入端为“0”;等到这一程序的动作完成信号到来时(即条件满足了),相当于触点闭合,该输入端为“1”,程序便转换了。
动作数值设定是时间控制的。用条件控制时,动作数值设定的二极管不接。
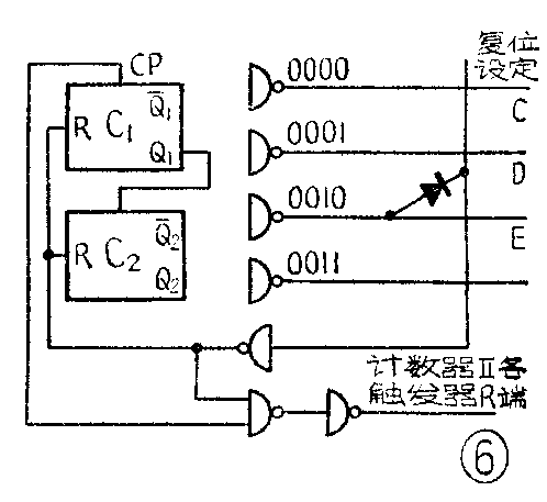
七、复位设定 当不需要控制器具有全部程序的控制功能,例如只需在第一、二程序间重复时,可把带有二极管的插塞插入“复位设定”插孔的第三个孔内,见图6。当第二程序结束转换为第三程序时,E线为高电平,经二极管通路又经与非门反相后,使计数器ⅠR端为“0”而呈“清零”状态,即回到第一程序。这样,程序便在第一、二两程序间循环。

八、秒脉冲源 示于图2右上角,由单结晶体管BT33F加一级放大电路组成,并通过20K电位器接到控制器面板上的一只波段开关(每档电阻20K),产生方波作为计数器Ⅱ的输入信号。调节电阻阻值,时基可在0.1秒~15秒内变化。
顺便指出,由于计数器Ⅱ由八只触发器组成,显然程序时间设定范围为1~255个时基。
通过上面的介绍,我们可以看到JCK-16型简易程序控制器主要有下列特点:
1.控制器对动作设定、动作数值设定等使用了插孔板,结构简单,通用性强。编制程序只需把各工作程序按时间控制或外接信号条件控制分别编排好,计时数值换算成二进制数形式,把带二极管的插塞插入相对应的插孔就可以了,因此编制程序方便,而且更改灵活。
2.由于采用了高抗干扰集成电路,控制器体积小,重量轻,耗电省,可靠性高,适用于实际生产环境的需要。
3.控制器的输入、输出均为脉冲信号,不易受外界干扰,提高了动作的准确性。
4.控制器的缺点是使用时间较长后,插孔可能氧化,出现接触不良现象;插孔若不慎碰撞,也会改变簧片的正常状态,影响机器的可靠性。(上海交通电器厂)