问:有一台六灯交流收音机收音正常,调谐指示管的绿光正常,但选择电台时,调谐指示管不起指示作用,为什么?
答:这是由于调谐指示管输入控制栅极的控制电压失常造成的。例如图中滤波电阻R\(_{1}\)阻值变得很大或开路,或旁路电容器C1漏电、短路,使自动音量控制信号加不到调谐指示管的控制栅极,造成调谐无指示。另外也可能是指示管内部损坏。管座接触是否良好,也应当检查一下。(毛瑞年答)

问:自装一台六管超外差式晶体管收音机,收音效果较好,但发现耗电特别大,电池用不多天就消耗完了,为什么?
答:这是收音机总电流过大造成的。一般情况功放级占总耗电80%以上,应重点检查。功放级故障可能是:①偏流电阻过小;②输出变压器绕组对铁心短路;③滤波电解电容器击穿或漏电;④劣质电解电容器错接在开关外(直接跨在电池两极上)等原因造成的。
一般正常情况下,无信号时总电流约在10mA以内,有信号时可增至几十毫安并随音量大小而波动。(薛喜答)
问:晶体管扩音机的功效管(例如3AD30)与散热片之间垫着一片云母片,而云母片上又涂有一种叫硅脂的东西,这硅脂起什么作用?换管以后不用行吗?
答:散热片是用来给晶体管散热的。但是由于晶体管壳与云母片或云母片与散热片之间接触不够紧密,便会使热传导不够良好,涂上硅脂后,则不再有空隙,便能降低热阻,对散热有帮助。
换用新晶体管时,仍应涂上硅脂,可以用小刀细心把原有硅脂刮下再用。(方锡答)
问:有一台电视机,图象和伴音都正常,但在屏幕上端出现两条明亮的横线,为什么?
答:这两条明亮的横线是电视台在发送电视节目的同时,在场逆程中(行扫描第19、20行和331、332行)发送的测试信号。正常的电视机光栅最上端的几行都被机内消隐信号所消去。即使未消去,也在屏幕以外,因此正常的电视机在屏幕上看不见这两条横线。
但当电视机场扫描部分有故障,使场扫描逆程时间变长时,这两条明亮的横线就落在屏幕上了。这时,如果场消隐脉冲幅度不足,或者不够宽,就不能把这二条横线消隐掉。至于场扫描逆程太长,其原因较多。例如在用多谐振荡器作振荡的电视机里,很可能是控制逆程的R、C电路时间常数太大造成;而在利用间歇振荡器作振荡的电视机里,可能是振荡管导通时间太长,电子管栅极或晶体管基极定时电容器数值太大,或管子衰老而使其输入电阻变大造成。
又如在场输出级中,输出变压器初级并联的电容变值或校正线性的负反馈网络中某元件变值。以“北京牌825—2”型电视机为例(见附图),当场输出级负反馈网络的C漏电或R变值,使得负反馈加深,引起扫描顶部压缩及场扫描起始点线性变差,因此,二条亮线就出现在屏幕上方。

这种故障修理的方法,是更换电容器或电阻。若亮线仍不能完全移到屏幕以外,可以用一只50KΩ电位器代替R,调整电位器,便可以使亮线移出屏幕。
另外,加强机内消隐信号也可在很大程度内消除亮线,一般可加大消隐耦合电容(即消隐电路中的微分电路的电容)。(林永恩答)
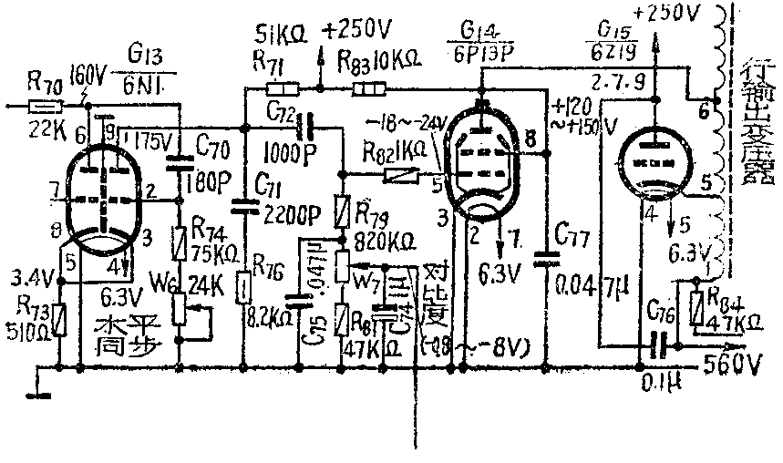
问:有一台104—2型电视机行幅度不够,每边缺少10多毫米,为什么?
答:行扫描幅度不够,大多是由于行振荡管或输出管衰老。最简单的办法是更换管子试试。若更换管子后幅度仍不足,可测量一下行振荡管和输出管的工作电压。104—2型机的行扫描两个管子的工作电压见附图。如果某一级工作电压失常则应检查与该级有关的元件。例如,6P13P帘栅压太低,很可能是R\(_{83}\)变值或C77漏电。如发现6P13P栅负压太低(正常值应是-18V~-24V),则可能是振荡管输出低,应检查振荡管工作情况和级间耦合元件。

如果经检查电路部分无故障,那么可能是高压变压器或行偏转线圈中有匝间短路。
问:有一台电子管电视机,使用一段时间后发现行频调不到同步怎么办?
答:这种电视机往往是使用6N1电子管作行振荡管。电子管6N1使用一段时间后特性变了,使电视机行振荡频率也变更,就会出现行频旋钮调至极边位置都不能使行频同步。以上题附图中电视机的行扫描线路为例,如果行频调节旋钮向左旋到底时接近同步,可将行频W\(_{6}\)电位器上串联的电阻R74阻值减少15~20千欧;如果行频调节旋钮向右旋到底时接近同步,则可将原来的电阻R\(_{74}\)增加15~20千欧。(以上曾来顺答)