(缪士昌)电源变压器是一种电磁元件,在收音机和有线广播等设备中使用很广泛。现在介绍一下频率为50赫、容量在500伏安以下的小功率电源变压器的简易计算方法,供同志们参考。
设计电源变压器时首先要知道使用的技术要求,包括:电源频率;电源电压;次级输出电压及电流;整流电路性质和结构形式等。现将具体设计步骤分述如下。
一、变压器次级输出功率的计算
变压器次级各线圈的总功率可用下式计算:
P\(_{2}\)≈UⅡI\(_{Ⅱ}\)+UⅢI\(_{Ⅲ}\)+……+UnI\(_{n}\) (1)
式中:P\(_{2}\)为次级总功率,单位伏安;UⅡ、U\(_{Ⅲ}\)……Un为变压次级各个线圈输出的交流电压值,单位为伏;I\(_{Ⅱ}\)、IⅢ……I\(_{n}\)为各个线圈输出的交流电流值,单位为安。
当只知道对无线电设备所要求的直流电压及直流电流时,必须根据所采用的整流电路的形式及负载特性来计算P\(_{2}\)。
现根据几种常用整流电路将计算变压器输出电压和电流的方法分述如下。
1.全波整流电路:在实用的整流电路中都带有滤波器。一般滤波器有电容输入式和电感输入式两种。而采用不同的滤波器时,流过变压器中的电流的波形又不一样,所以变压器输出的直流功率与线圈所需的伏安定额值(称为利用系数)也不同。我们分析整流器的电流波形后就可知道:
当电容负载(采用电容输入式滤波器)时,变压器次级线圈中的电流是短而高的脉冲,每半个次级线圈中的电流有效值I\(_{2}\)为负载电流I0的1.1倍,即I\(_{2}\)=1.1I0;而输出的直流电压U\(_{0}\)可达到线圈电压峰值(\(\sqrt{2}\)U2)的70%,即U\(_{0}\)=0.72U2≈U\(_{2}\),整个次级线圈的电压UⅡ为2U\(_{2}\)(见图1),所以次级线圈输出功率将为
P\(_{2}\)=UⅡI\(_{Ⅱ}\)=2U2I\(_{2}\)=2U0×1.1I\(_{0}\)
即 P\(_{2}\)=2.2U0I\(_{0}\)(伏安) (2)
式中:U\(_{0}\)、I0分别为次级输出的直流电压和直流电流。

当电感负载时(采用电感输入滤波器),变压器次级线圈的电流是另一种短形脉冲。此时U\(_{2}\)=1.1U0,I\(_{2}\)=0.707I0,所以
P\(_{2}\)=UⅡI\(_{Ⅱ}\)=2U2I\(_{2}\)=1.56U0I\(_{0}\)(伏安)(3)
2.桥式整流电路(见图2):在实用电路中亦带有电容输入式和电感输入式二种滤波器。根据同样道理,经过波形分析可知:

当电容负载(电容输入式滤波器)时,U\(_{2}\)=U0,I\(_{2}\)=1.56I0,所以
P\(_{2}\)=UⅡI\(_{Ⅱ}\)=U2I\(_{2}\)=1.56U0I\(_{0}\)(伏安)(4)
当电感负载(电感输入式滤波器)时,U\(_{2}\)=1.11U0,I\(_{2}\)=I0,所以
P\(_{2}\)=UⅡI\(_{Ⅱ}\)=U2I\(_{2}\)=1.11U0I\(_{0}\)(伏安)(5)
二、铁心的选取
1.计算公式:
S\(_{0}\)·Sc=10\(^{4}\)P\(_{2}\)(1+η)/B~2.2ηk0j(厘米4)(6)
式中:S\(_{0}\)为铁口心窗面积(厘米\(^{2}\),见图3),

S\(_{0}\)=h·l1,
S\(_{c}\)为铁心截面积(厘米\(^{2}\)),
S\(_{c}\)=l0·b·k\(_{c}\)
其中k\(_{c}\)为铁心占空系数,当片厚为0.35毫米时取0.91;片厚为0.5毫米时取0.94;
k\(_{0}\)为导线占空系数,用以估计导线的绝缘、层间绝缘及绕组间的绝缘,其值参看附表,一般为20%~30%,即0.2~0.3;
B\(_{~}\)为磁通密度(高斯),根据实验可知,B~选得太大,如B\(_{~}\)>15000高斯,会造成初级电流及铁损显著增大,可能烧坏变压器;反之如选得太小,则变压器体积增大。在选用时要考虑上述两种因素,对不同的铁心材料可选用不同的B~值。如D41~D43-0.35毫米热轧硅钢片,B\(_{~}\)可取11000~14000高斯;对D21~D22-0.35毫米热轧硅钢片,B~可取9000~12000高斯。

j为导线的电流密度(安/毫米\(^{2}\)),此值由变压器的允许温升、线圈的散热情况、允许电压降等要求来决定的。表中所列数据是对普通开放式、A级绝缘的变压器而言。根据实验,一般j可取2~4安/毫米2为宜。如果取得太高,会使铜损显著增加,直至温升提高造成线圈烧坏;如取得太小会增加变压器的体积,不经济。
η为变压器的效率(%):
η=P\(_{2}\)/(P2+P\(_{M}\)+PC)
式中:P\(_{2}\)为变压器次级输出功率;PM为铜损耗功率;P\(_{C}\)为铁损耗功率。在正规设计中要在最后验算η值,它与B~、j、ΔU%等都有关,在简易设计中,为了简便起见,我们只介绍经验数据,不作验算。η值不宜选得太大,否则会使初选铁心尺寸取得太小,结果线包放不下。一般取70~95%。
2.根据上述S\(_{0}\)·Sc值,可由附表选取铁心,或可选取满足S\(_{0}\)·Sc值的其他型号的铁心。当次级绕组多时还应适当选用较大的铁心尺寸。
三、线圈匝数计算
1.每伏匝数T\(_{v}\):由输入正弦波的电磁感应的基本方程式,可求得在当f=50赫时的每伏感应电动势所需的匝数为:
T\(_{v}\)=10\(^{8}\)/222B~S\(_{c}\)(匝/伏) (7)
2.初级线圈匝数:
W\(_{Ⅰ}\)=UⅠ·T\(_{v}\)(匝)
3.次级线圈匝数:
W\(_{Ⅱ}\)=UⅡ(1+ΔU%)T\(_{v}\)(匝)
式中:ΔU%为线圈中导线的铜阻电压降值,其大小由变压器输出功率来决定。当P\(_{2}\)<100伏安时为10%;当P2>100伏安时为5%左右。
4.初级电流:
I\(_{Ⅰ}\)≈P2/U\(_{Ⅰη}\)(安) (8)
5.导线直径:因为导线的圆截面积等于导线的电流I除以导线的电流密度j,等于(π/4)d\(^{2}\),所以导线直径d可由下式计算
d\(_{Ⅰ}\),Ⅱ,……n=1.13\(\sqrt{I}\)Ⅰ,Ⅱ,……nj(毫米) (9)
6.空载电压:(供检验时参考用)
U\(_{Ⅱ}\)0……n0=(WⅡ……n/W\(_{l}\))·UⅠ(伏) (10)
7.初级空载电流:由变压器铁心的磁化电流及铁损电流等来决定,计算比较麻烦,在简易计算中可不计算。但在变压器的检验时可用以检验线圈是否短路和B\(_{~}\)值是否选得合适等。在一般情况下,空载电流I0~≤(0.2~0.5)I\(_{Ⅰ}\)
8.线圈的结构(图4):

(1)每层可绕匝数
n\(_{Ⅰ}\),Ⅱ,……i=hm(筒底高一两端空位)/k\(_{v}\)·d外径(匝)
式中:h\(_{m}\)为线圈实际绕制长度;kv为排绕系数,当导线直径小于0.5毫米时取1.1;当导线直径大于0.5毫米时取1.05。
(2)各个线圈共绕层数:
N\(_{Ⅰ}\),Ⅱ,……i=WⅠ,Ⅱ,……i/n\(_{Ⅰ}\),Ⅱ,……i(层)
(3)绝缘厚度:
a.线圈底筒厚度一般为1.5~3毫米,用硬纸板加工而成。
b.各绕组的层间绝缘,由导线直径大小及上下层之间的工作电压来决定。可用0.03毫米厚玻璃纸、0.05毫米厚电话纸或0.12毫米厚电缆纸等。
c.各绕组的最外层绝缘,由工作电压大小来决定,一般可用2~5层0.12毫米电缆纸。
(4)静电屏蔽:为了避免收、扩音机的输出信号有调变交流声的干扰,在变压器的初、次级线圈之间加一层静电屏蔽。这可以绕一单层线圈作屏蔽,这层线圈的一端接地;或用铜箔等金属材料在初、次级间绕一层,二端相互绝缘,一端引出接地,在外面加3~5层0.12毫米电缆纸作绝缘。
(5)各线圈的厚度:
A\(_{Ⅰ}\),Ⅱ,……i=KB·N\(_{i}\)(d外径+层间绝缘厚度)+绕组外层绝缘
式中:K\(_{B}\)为叠绕系数,当导线直径小于1.0毫米时取1.15;当导线直径大于1.0毫米时取1.2。
(6)各线圈的总厚度:
A\(_{总}\)=底筒厚+屏蔽厚+AⅠ+A\(_{Ⅱ}\)+…………+Ai+0.5(毫米)
校核应能满足A\(_{总}\)<l1时,线包才能放得进铁心。如A\(_{总}\)>l1时,则要重新选用大一些的铁心型号进行计算。
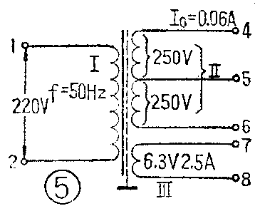
四、设计举例
试设计一只六灯收音机用电源变压器。技术要求为:初级电源频率f=50赫,电压U\(_{Ⅰ}\)=220伏;次级高压输出为U0=2×250伏,I\(_{0}\)=60毫安,使用全波整流,采用电容输入式滤波器;次级灯丝输出为UⅢ=6.3伏,I\(_{Ⅲ}\)=2.5安;初、次级间加静电屏蔽层。
按照上述要求,变压器的电路如图5。具体计算如下:

1.次级输出功率:因为U\(_{Ⅱ}\)=2U2,U\(_{2}\)≈U0,I\(_{2}\)=1.1I0,所以,可用下式计算次级输出功率:
P\(_{2}\)=2.2U0I\(_{0}\)+UⅢI\(_{Ⅲ}\)=2.2×250×0.06+6.3×2.5=48.7伏安
2.选取铁心:根据算出的P\(_{2}\)值,在附表中选取j的中间值3.8安/毫米\(^{2}\),η取80~85%的中间值0.83;B~选取13000高斯;k\(_{0}\)选用0.22,可得:
S\(_{0}\)·Sc=10\(^{4}\)P\(_{2}\)(1+η)/B~2.2ηk\(_{0}\)j
=10\(^{4}\)×48.7(1+0.83)/(13000×2.2×0.83×0.22×3.8)=45厘米4
根据此值可选取附表上的GEB22×44型铁心,材料为D42—0.35毫米硅钢片,或可选用满足此值的其他型号的铁心。
3.线圈匝数计算:
(1)每伏匝数:
T\(_{v}\)=\(\frac{10}{^{8}}\)222B~S\(_{c}\)=108;222×13000×8.81=4匝/伏
(2)初级线圈匝数:W\(_{Ⅰ}\)=UⅠT\(_{v}\)=220×4=880匝
(3)次级线圈匝数:
W\(_{Ⅱ}\)=UⅡ(1+ΔU%)T\(_{v}\)=2×250×1.1×4=2200匝,中心抽头处为1100匝。
W\(_{Ⅲ}\)=UⅢ(1+ΔU%)T\(_{v}\)=6.3×1.l×4=28匝
4.初级电流计算:
I\(_{Ⅰ}\)=P2/U\(_{Ⅰη}\)=48.7/220×0.83≈0.26(安)
5.导线直径计算:
d\(_{Ⅰ}\)=1.13\(\sqrt{I}\)Ⅰ/j=1.130.26/3.8=0.292毫米,选用QZφ0.29毫米线,d\(_{3外径}\)=φ0.34毫米。
d\(_{Ⅱ}\)=1.13\(\sqrt{I}\)Ⅱ/j=1.130.066/3.8=0.148毫米,选用QZφ0.15毫米线,d\(_{Ⅱ径外}\)=φ0.19毫米。
d\(_{Ⅲ}\)=1.13\(\sqrt{I}\)Ⅲ/j=1.132.5/3.8=0.92毫米,选用QZφ0.90毫米线,d\(_{3外径}\)=φ0.99毫米。
6.空载电压计算:
U\(_{Ⅱ}\)0=(2200/880)×220=550伏,
中心抽头处为275伏。
U\(_{Ⅲ}\)0=(28/80)×220=7伏
7.结构设计:
(1)每层可绕匝数:底筒高为38毫米,两端空位为2.5毫米。
n\(_{Ⅰ}\)=hm/(d\(_{外径}\)Kv)=(38-2×2.5)/(0.34×1.1)=88匝/层
n\(_{Ⅱ}\)=33/(0.19×1.1)=158匝/层
n\(_{Ⅲ}\)=33/(0.99×1.05)=31匝/层
(2)各线圈的层数:
N\(_{Ⅰ}\)=880/88=10层
N\(_{Ⅱ}\)=2200/158=14层
N\(_{Ⅲ}\)=28/31≈1层
(3)绝缘层计算:
a.底筒用2毫米厚硬纸板。
b.初级层间绝缘用1层0.05毫米厚电话纸;次级高压用1层0.03毫米厚玻璃纸。
c.初、次级外层绝缘均用4层0.12毫米厚电缆纸;最外层绝缘用2层0.12毫米厚电缆纸。
d.静电屏蔽绕在初级外层,用φ0.19毫米导线绕100匝左右,一端引出接地;外面用四层0.12毫米厚电缆纸作绝缘。
(4)各线圈的厚度计算:
A\(_{Ⅰ}\)=1.15×10×(0.34+0.05)+4×0.12=4.96毫米
A\(_{Ⅱ}\)=1.15×14×(0.19+0.03)+4×0.12=4.02毫米
A\(_{Ⅲ}\)=1.15×1×0.99+2×0.12=1.38毫米
A\(_{屏}\)=0.19+4×0.12=0.67毫米
(5)变压器线圈总厚度计算:
A\(_{总}\)=2+0.67+4.96+4.02+1.38+0.5=13.53毫米
此时A\(_{总}\)=13.53毫米;l1=14毫米,满足A\(_{总}\)<l1,合理。