(谢峰)凯歌4D4型晶体管电视机是上海无线电四厂的产品。本文简要地介绍它的电路原理,供使用、维修参考。
一、工作原理
1.高频头
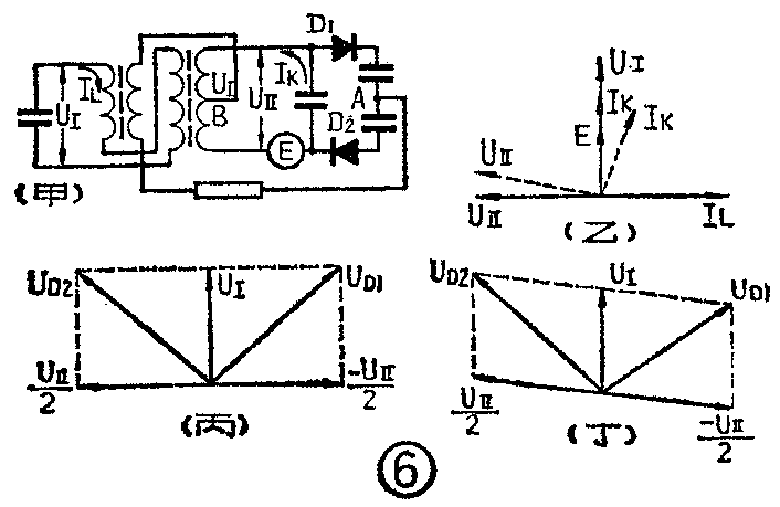
高频头输入阻抗为75欧与本机拉杆天线阻抗(75欧)相匹配。当使用机外对称振子天线时,可将天线馈线插头插入后盖上的两个插孔,这两孔为阻抗变换器的输入端。由于对称振子天线的阻抗为300欧,为使其与75欧输入回路的阻抗相匹配,采用了阻抗变换器B\(_{1}\)。其原理解释如下:参看图①(甲),图中有四个绕阻,由于绕组2被短路并接地,绕组1又与绕组2共一个磁心,因而也被短路,这样图①(甲)可简化为图①(乙)、(丙),由于绕组3、4圈数相等中心接地,根据自耦变压器原理C点对地的电压为A、B两点间电压的1/2,C点对地的阻抗为A、B间阻抗的1/4,即C点对地阻抗为1/4×300欧=75欧。

本机高频头由三级组成(参看电原理图),其中1BG\(_{1}\)作高频放大,1BG2作混频,1BG\(_{3}\)作本机振荡。微弱的电视信号由天线接收后经输入回路进入高放管放大。高放级输入回路采用电感电容分压式电路(图②)。电容100P对高频信号可视为短路。1~5频道的电感采用串联方式,因为在低频时电感量较大,线圈圈数多,又是空心线圈,这样做较为容易些。


高放级输出回路采用电容分压(1C\(_{1}\)0与1C7)接地,相当于我们所常见的电感抽头式,达到阻抗匹配的目的。1C\(_{5}\)(1P)为中和电容。
电视信号经双耦合回路和电容分压后送入混频管基极,同时本机振荡信号经电容1C\(_{17}\)也送入混频管基极,两信号在混频级进行差拍得出已调制的中频信号(34.25兆赫),这个信号经1L3、lC\(_{18}\)、1C23及2C\(_{7}\)、2Q5所组成的双调谐回路送入中放管(2BG\(_{1}\))的基极。1C23越小耦合越紧,调节1L\(_{3}\)、2C7、2Q\(_{5}\)可得到较好的频率特性。
本机振荡是由晶体管(1BG\(_{3}\))和电容组成的电容三点式振荡器,等效电路如图③。其特点是:由于反馈电压从电容两端取得,电容对高次谐波呈现低阻抗,故输出信号中高次谐波分量小,波形比较好;其次它能得到较高的振荡频率,并受晶体管极间电容的影响较小。1L4是频率微调电感,它是通过转动凸轮使1L\(_{4}\)的磁心做上下运动,达到微调的目的。图③中L′为1L4和各频道本振电感并联后的等效电感。

高频头的增益约在25分贝以上,带宽约为6.5兆赫。
2.图象中频放大器
它的任务是将混频后所得到的较弱中频信号放大到1伏左右,并保证信号不失真。本机的图象中放采用三级单回路参差调谐共发射极放大电路。回路2B\(_{1}\)2\(_{3}\)分别调谐在31、28.3、33.7兆赫左右(如图④甲)。三级合成再加上四个吸收回路的作用,所得频率特性曲线形状如图4(乙)。

中放特点是(1)频率高(图象中频为34.25兆赫),(2)频带宽(5兆赫左右),(3)曲线形状比较特殊。由于电视信号是采取残留边带发送的,即0.75兆赫以下的低频是双边带发送,0.75兆赫以上的中高频部分是上边带发送,故接收机中放应压低0.75以下低频分量,否则低频分量的振幅将比高频分量的高一倍,就会出现失真。为了压低低频分量,需使图象中频载频处于频率特性曲线斜边高度的50%处(即斜边中点),否则会出现两种情况:一是图象中频载频在曲线斜边上半坡,使低频成分幅度太大,造成图象不清晰或方格信号边缘模糊;另一是图象中频载频处在下半坡,使低频成分幅度太小,造成图象拖尾或方格信号的黑格子镶白边。四个吸收回路2Q\(_{1}\)、2Q2、2Q\(_{3}\)、2Q13分别调谐在26.25、27.75、35.75、37.25兆赫。其中27.75兆赫是伴音中频,对这一点一方面要求调谐得比较准确,另外这点凹陷部分的带宽约300千赫,吸收的深度为95%左右。本机中放增益约60分贝,带宽约5兆赫左右。
3.视频检波
由于电视图象信号是采用调幅方式发送的,所以检波原理和收音机的基本一样,所不同的是:通带比较宽(6兆赫左右);另外在这里取得伴音第二中频。因为在检波二极管两端既加上一个0.2到1伏的图象中频电压,又加了一个几十毫伏的伴音中频电压,利用二极管的非线性特性,使两信号差拍得到6.5兆赫的伴音中频电压。回路中的2C\(_{33}\)、20Q8、2C\(_{35}\)为中频滤波网络,以滤除中频成分。视频检波器输出的全电视信号电压为1到1.2伏(峰值)。
4.视频放大
它的主要任务是将1伏(峰值)左右的全电视信号不失真地放大到20~60伏(峰值),去调制显象管的阴极,以得到满意的图象。视放为两级,第一级作预放,是射极跟随器(集电极对6兆赫以下的频率是接地的),除起阻抗变换和电流放大的作用外,送一个全电视信号到同步分离级和自动增益控制级。另外取出第二伴音中频并进行放大。2B\(_{4}\)与2C41调谐在6.5兆赫,2Q\(_{9}\)与2C44串联谐振于6.5兆赫,即对6.5兆赫构成共发电路。
5.自动增益控制
电视机所接收到的电视信号的大小,在不同的接收距离、不同的环境有很大差别。即使在同一地点也会因气温的变化或周围有运动着的反射物体而发生较大的变化。为了保持电视图象的稳定,必须有性能良好的自动增益控制(AGC)。本机是采用正向二级键控检波电路,具有变化较平稳,抗干扰能力较强的优点。第一中放管2BG\(_{1}\)是具有正向AGC特性的晶体三极管,其电流—功率增益特性如图⑤所示。2BG1管平时的工作电流为5毫安,电流超过5毫安时增益即下降,使输出到显象管的电平接近不变。当外来信号增强到使处于截止状态的键控管2BG\(_{8}\)导通,给电容2C20充电,它的平均值使2BG\(_{4}\)基极及射极电平上升,集电极电平下降,并通过2R3使2BG\(_{1}\)电流增大超过正常工作电流,这样2BG1增益便下降,起到自动增益控制作用。

若外来信号继续增强,2BG\(_{4}\)集电极电平继续下降,使2BG2集电极电平上升,以自动控制1BG\(_{1}\)的增益。1BG1未动作时2C\(_{1}\)0上的电压为2.2伏。外来信号从弱到强变化100倍时,视放输出信号的变化不大于1.3倍。
6.伴音
4D\(_{4}\)机的伴音通道共三级放大,2B4\(_{4}\)7\(_{8}\)均调谐在6.5兆赫,增益约60分贝。3C14、3C\(_{21}\)的作用是提高6.5兆赫增益的。调频检波器是采用对称式比例鉴频器。其两个调谐回路分别由3B7\(_{8}\)的初级线圈与电容3C26\(_{8}\)的次级线圈与3C31组成,它们都谐振于6.5兆赫。初级回路Ⅰ的谐振电压U\(_{Ⅰ}\)根据变压器原理感应到次级(相位相同或相反)加于A、B两点,B为回路Ⅱ线圈的中点如图6(甲)所示,在回路Ⅰ中电感支路中的电流I·L滞后于U·\(_{Ⅰ}\)90°,它通过3B8初级线圈(二圈)耦合到回路Ⅰ,在回路Ⅱ中得到一个感应电动势E·,同时引起一感应电流I·\(_{K}\),由于回路谐振,所以E·与I·K同相也与U·\(_{Ⅰ}\)同相(如图⑥乙)。当I·K流过回路Ⅱ时在回路中引起一反电动势U·\(_{Ⅱ}\),这个U·Ⅱ\(_{超}\)前于I·K90°,也即超前U·\(_{Ⅰ}\)90°。加到检波二极管D1、D\(_{2}\)上的电压分别是UD1和U\(_{D2}\),UD1=U\(_{1}\)-UⅡ2,U\(_{D2}\)=U1+U\(_{Ⅱ}\);2,其矢量关系如图⑥丙。由于调频信号某瞬间与回路的谐振频率(6.5兆赫)相同,所以这个合成电压UD1、U\(_{D2}\)大小相等,检波后在A点无音频输出。

当调频信号某瞬间高于谐振频率6.5兆赫时,因回路呈感性,I·\(_{K}\)滞后于E·一个角度如图⑥乙虚线所示。因而U·Ⅱ与U·\(_{Ⅰ}\)之间相位不成90°如图⑥丁,所以合成电压U·D2大于U·\(_{D1}\)。而当调频信号低于6.5兆赫时,UD2小于U\(_{D1}\)。这两种情况在A点就有相应的输出电压。比例鉴频器的输出电压不是由加到两只二极管上的电压的绝对值来决定的,而是由它们的比值决定的,其输出电压随调频信号频率变化的特性曲线如图⑦,为一S形曲线。鉴频器输出连接的2R29和3C\(_{36}\)为去加重网络,这是因为电视信号发送时,为改善音质,将高音频加重了,所以在接收机鉴频后必须将高音频成分相应地减轻,否则会感到高音太多。由于比例鉴频器是一高内阻电路,所以低放输入阻抗应比较高。采用无输出变压器(OTL)电路能获得宽的频带。用深负反馈(3R40、3C\(_{42}\)、3R36)可大大改善音质。

7.帧同步、帧扫描及帧消隐
帧同步信号的取得是由4BG\(_{1}\)、4BG5两只晶体管完成的。4BG\(_{1}\)用作幅度分离,是利用同步信号的幅度比视频信号的大\(\frac{1}{3}\)的特点,将同步信号从全电视信号中分离出来。即同步信号到来时,4BG1导通,4C\(_{1}\)被充电,同步信号过后4C1放电,在4BG\(_{1}\)的be结产生一个反向电压,使4BG1截止,这样在4BG\(_{1}\)的集电极得到一个被切割出来的复合同步信号。一路送到行扫描电路,另一路送到4BG5继续进行帧同步分离,因为行同步脉冲窄(约5微秒),而帧同步脉冲宽(约220微秒),利用这一特点将复合同步信号经过4R\(_{15}\)、4C12和4R\(_{18}\)、4C15两节积分后,就只剩下像锯齿形的帧同步脉冲了(如图8)。用它去触发4BG\(_{6}\)使帧扫描同步。

帧扫描电路是由4BG\(_{6}\)、4BG7及帧扫描输出管BG\(_{1}\)组成。这是一个特殊的自激多谐振荡器,因为BGl的集电极通过4R\(_{41}\)、4C27给4BG\(_{6}\)的基极以正反馈信号,形成自激振荡,使4BG6处于开关状态。4BG\(_{6}\)截止时经4R25、4R\(_{26}\)、4R28给4C\(_{19}\)、4C20充电。4BG\(_{6}\)导通时,4C19、4C\(_{2}\)0经4BG6放电,在4BG\(_{6}\)集电极形成一个负的锯齿波电压,再经4BG7送到BG\(_{1}\)进行功率放大。4W4是帧线性调节电位器,当4W\(_{4}\)阻值最大时,反馈量最小,由于简单的RC充电在C上只能得到指数形变化的电压(如图⑨甲)。当4W4阻值最小时反馈最大,在4C\(_{19}\)上除了指数形电压外,还有一个经R4、4R\(_{35}\)和4C19构成的积分网络对指数形电压积分而形成的抛物形电压,这两个电压叠加形成如图⑨(乙)的波形电压。所以调节4W\(_{4}\)可以得到所需的锯齿形电压。这个电压加到帧偏转线圈7L1、7L\(_{4}\)上。由于帧频低,其感抗比直流内阻小很多,所以流过帧偏转线圈的就是锯齿电流,使电子束作上下均匀的运动,这样看到的方格大小基本上是相等的。

帧幅的调节是以调节帧幅电位器4W\(_{6}\)改变BG1的放大量来实现的。调节帧频电位器4W\(_{5}\)或内部的微调电位器4W2,改变4BG\(_{6}\)的工作点即改变4BG6的导通时间,来达到改变帧扫描频率使之同步的目的。
为了消除帧逆程期间的回扫亮线,将帧逆程脉冲取出,经4BG\(_{12}\)管箝位后送到显象管栅极。4BG11、4R\(_{43}\)、4C31是保护BG\(_{1}\)管的,以防止BG1因反峰电压太高而损坏。
8.行扫描及高压
行扫描由自动行频、行振荡、行激励和行输出各级组成。
自动行频的作用是防止行同步以外的干扰信号及行振荡自身的漂移使电视图象破坏。
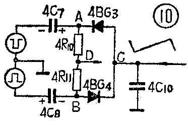
从同步分离来的一个正行同步脉冲,经4BG\(_{2}\)放大后在其发射极和集电极分别得到正、负行同步脉冲,可把它看作两个信号源(如图⑩)。从行输出变压器一绕组取出一个行逆程脉冲,经5R5、4C\(_{l}\)0积分后在C点得到一锯齿波,它和负、正行同步脉冲分别使4BG3、4BG\(_{4}\)导通,而使4C7、4C\(_{8}\)充电。当4C7、4C\(_{8}\)放电时,分别在A、B两点产生一个负的及正的电压。当图象同步时,A、B两点电压大小相等符号相反(如图⑾实线所示),因此D点没有输出。


如果行振荡频率趋向低于行同步信号频率(即相位滞后)时,则因C点电位升高,4BG\(_{4}\)两端电位差减小,4BG3两端电位差增大(如图⑾虚线)故4BG\(_{4}\)导通电流比4BG3小,因此在D点就有一个正电平输出,经滤波后送到4BG\(_{8}\)基极使提前振荡,频率趋高。反之也是一样,故能起到自动行频调整的作用。
调节电位器4W\(_{1}\)或机内微调电位器4W3也可起到控制行频的作用。
行振荡采用共集电极电路,由发射极回授,而发射极与基极阻抗相差不多,故变压器变比不必太大。基极串入一个稳频线圈有助于行频的稳定。
行输出管(3DD12A)工作在开关状态,当完全导通时,电源通过偏转线圈L构成光栅的右半部分(图⑿甲及图⒀C段)。当它完全截止时,由于线圈L中电流不能突变,仍继续流向电容C并形成振荡,振荡的正半周,由行输出变压器升高整流后作为显象管阳极高压(如图⑿乙及图⒀A段)。振荡的下半周L中的电流经阻尼管构成回路,L中的这部分电流构成扫描光栅的左半部分(如图⒀B段)。


调整4R\(_{44}\)可改变BG2(3DD12A)工作点,一般应调到比最小电流大几十毫安为宜。5L\(_{1}\)为行线性调节。
9.电源
采用全波整流,整流二极管上并联的0.01微法电容以减低反峰冲击。电源变压器初级并接的两只小电容以及滤波电容前串联的一个无编号小电感是消除高频干扰用的。电源为+12伏,纹波低于10毫伏。
二、生产中应注意的几个问题
1.高频头与中放连起来有时有自激,原因是由于增益高有回授引起的。解决这个问题时应注意下列几点:①加强电源滤波,高频头的供电由中放退耦后供给;②合理接地,这点很重要;③加屏蔽罩;④元件合理布局,走线要短;⑤适当调整中周变压器抽头和圈数比;⑥适当加入某些电阻破坏自激振荡如2R\(_{24}\)等;⑦把检波后的中频和谐波滤除干净。
2.行本身的辐射经天线接收后又反过来干扰行的同步。因行频虽不高,但它是工作在脉冲状态,有极丰富的谐波成分,免不了对外辐射。当外来信号弱时通道增益很高,行频干扰信号被放大到足以影响图象甚至破坏同步。解决方法:①各级适当加一些去尖脉冲的元件如C\(_{23}\)、4C26、4C\(_{29}\)、4C28、4R\(_{42}\)及C2、C\(_{3}\)、5C2等要分散安装;②走线要短、要合理安排;③采取一些工艺措施,防止高压打火及电晕等等。
3.伴音自激及伴音干扰图象。由于伴音第二中频被限辐后产生丰富的谐波,辐射到天线放大后窜入视频干扰图象,在屏幕上呈现一片细的干扰信号,将6.5兆赫信号短路此现象即消失。解决办法。①3BG\(_{4}\)7\(_{8}\)两回路及与3BG6、3BG\(_{7}\)的走线要尽可能短,必要时在末级加屏蔽罩;②加入3R10、3R\(_{18}\)等电阻,对于6.5兆赫信号的损失不大,但对6.5兆赫的高次谐波却有很大衰减。
伴音干扰图象的另外一种表现是随伴音的音量大小和频率的不同,在屏幕上出现相应的横条并与6.5兆赫无关。原因是27.75兆赫回路调谐不准确或27.75兆赫吸收不够深或各点调谐太尖锐引起斜率检波所造成。解决办法:①正确调谐回路,使屏幕上不出现伴音干扰;②伴音吸收回路2Q\(_{2}\)一定要调准在27.75兆赫上并要达到一定的吸收深度,可选择2Q2的Q值以及调整中放特性曲线,不使低频端的边峰太大。
三、正确使用及维护
初学使用电视机,往往由于不能正确使用而得不到满意的图象,因此了解正确使用电视机的方法很重要。
1.当电视机接通电源后,首先拉出机内拉杆天线,适当开大音量(参看图⒁)。如果无声可检查频道开关所指示的位置是否有误,如北京应对准2或8,上海是5等。

2.有了声音后适当开大亮度,屏幕上可能有图象或黑粗条或只有细线条或基本上没有图象。如果有图象就只需转动天线和微调旋钮,调到图象最清晰为止;若是黑粗条说明行频不同步,应转动行频旋钮使图象稳定,再调天线和微调;如果只有细线条,说明行失去同步很远,甚至可能听到很尖的行频叫声。这时应先调行频旋钮再调天线和微调;若无图象,则应先转动微调和天线,再根据上述情况调整。
3.有图象但上下或快或慢地跑动,则应转动帧频族钮使图象稳定。一般在正常情况下,行频和帧频旋钮顺时针或逆时针转动时,都可能破坏图象同步,调节此二旋钮时不要放在同步的临界位置,而应调在二边破坏点的当中,以防止看到半场时又要调节。
4.得到稳定而清晰的图象后,还应适当调节亮度和对比度旋钮,使图象灰度要好(即浓淡层次要多)。对比度太小图象灰淡,对比度太大,则应灰的地方也变黑了,应亮的地方又出现一块白光。所以亮度也要调到合适。
5.帧幅是调节图象上下的大小的。帧线性是调节图象上下的均匀性的(即匀称合乎比例),这两个电位器未装旋扭,出厂时已调好,一般平时不必调节。
6.机箱后面有两个开关,一个是远近程开关,除离电视台很近的用户外,一般均应放在远程位置。另一个是机内外天线转换开关,用拉杆天线时,拨放在“机内”位置,如离电视台很远或干扰较多,用机内天线得不到满意的图象时,可用机外天线将开关拨到“机外”位置。
7.电视机后盖上有通风孔,在使用时应将遮灰布拿掉使其自然通风散热。霉雨季节最好经常使用,可以用机器本身的温度去掉潮湿。长期不用时应防止灰尘和潮湿侵入。
8.电视机关机后,尽量不要动其他旋钮,以减少元件的摩损及开机调节时间。

行偏转:5股φ0.27线,各绕36圈。
帧偏转:φ0.23线,各绕652圈。
帧扼流圈:φ0.31线,绕760圈。
行振荡变压器:基极128圈,发射极43圈,输出36圈,线径均为φ0.2。
行推动变压器:初级80圈,次级40圈。线径均为φ0.39。
输入变压器:初级φ0.08线绕2200圈。次级φ0.13线,各550圈双线并绕。
行输出变压器:数据如下图。
