在使用电烙铁的焊线车间或班组里,因电烙铁拔插次数频繁,容易发生电源混线、超载熔断保险等中断电源的现象。如果没有指示设备,有时电源中断后不能立刻被发现,直到电烙铁发凉时才被查觉。为了解决上述问题,我们自制了一个电源保险熔断自动告警装置。

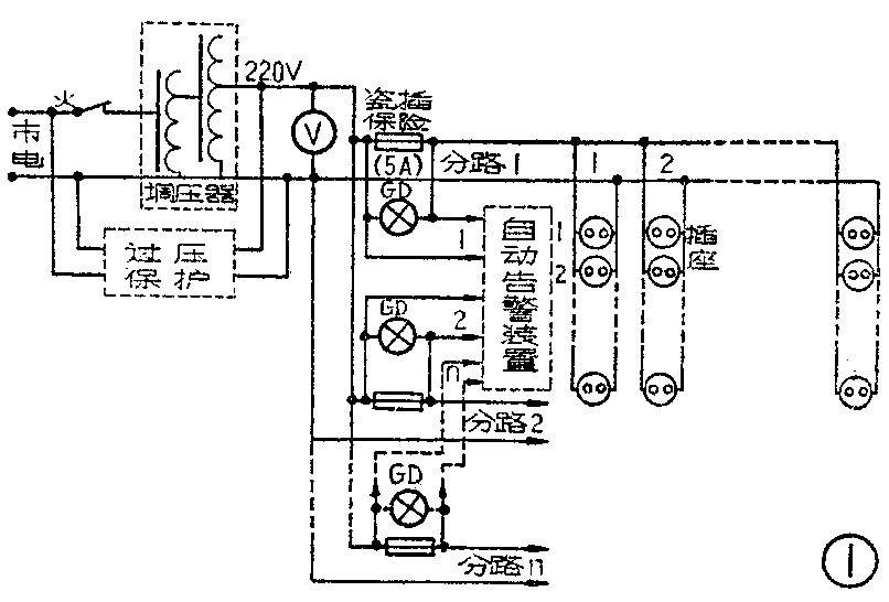
图1是自动告警装置在电源系统的安装部位。告警系统跨接在分路保险(5A)的两端,正常供电时,其输入端处于短路状态,所以告警系统不工作,不消耗电能。
当发生故障时,保险(5A)熔断,则告警系统与负载部分(或短路点)构成回路,使告警系统有电压输入,所以才有告警信号发出。

图2是自动告警装置详图。将自动告警装置跨接在分路保险的两端,每分路用一变压器(220V/24V)及桥式整流滤波电路,经二极管D复接到断续部分。断续部分的继电器J动作时,催修灯CD亮、铃响、并切断自身的启动电路。继电器A为切铃用,由按钮AK启动,接点a\(_{l}\)自保、a2切铃,C\(_{5}\)、R3串联后跨接在继电器J的两端,靠电容器的充放电来延长J的启动与释放时间,从而形成了继电器的断续动作。二极管D\(_{11}\)阻隔R3、C\(_{5}\)对外回路放电。
当发生下列情况时,本装置就发出告警信号:
1.长时间混线:当发生混线时,分路保险(5A)熔断,告警系统经混线处构成回路。告警灯GD明亮,催修灯CD闪亮,铃声断续响,等待处理。
2.查混线地点:由GD灯指示出所在分路,如烙铁混线(短路),可逐个往下拔,观察告警信号,当发现GD灯由明亮变暗亮时,即为混线处。因为有故障的烙铁拔掉后,告警系统与负载(即其他没有故障的烙铁)构成串联回路,回路阻抗增加,所以灯变暗。为了准确起见,可以反复插拔几次加以证实。当故障未排除之前,铃声一直响着,也可以用手动按钮AK进行切断。故障排除后插上保险(5A),告警状态自动解除。
3.瞬时混线:分路保险(5A)熔断,GD灯处于暗亮状态(亮度与负载有关),催修灯闪亮,铃响。此时插上保险(5A)即可恢复供电。
4.超载告警:当用电量超过保险负荷时,保险(5A)熔断,其告警状态同瞬时混线一样,此时必须减少负荷,否则保险(5A)插上后又会熔断。
5.安全检查:每天下班时可以逐个拔一下分路保险(5A),检查全车间各个班组是否有烙铁还插着。如果有,则GD灯暗亮,插着的烙铁越多灯越亮。如果没有,则灯不亮。
分路告警灯GD应小于或等于最小规格电烙铁的瓦数,最好用220伏、15瓦指示灯泡,否则告警系统不能可靠工作。
继电器应采用直流12伏至24伏范围内均能可靠工作的高灵敏度继电器,或者用能满足这一要求的电话继电器。
分路保险(5A)处,只能用瓷插式单保险,不能用电闸开关。因为保险丝熔断后,通过跨接的告警系统与负载组成串联回路,使闸刀上下端均带电,将无法更换保险丝。
变压器铁心可按初级220伏,次级24伏,0.5安培考虑。插座数量可根据分路保险容量而定。(邓殿顺)