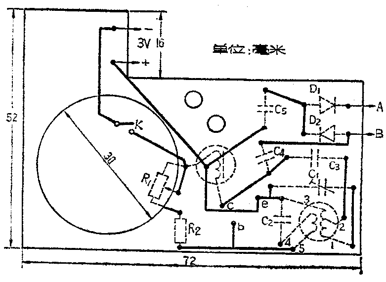
我根据再生电路能产生振荡的原理,安装了一种辨别高、低频三极管的测试器。其电路见下图(如果被测管为NPN型,只须将图中电池反接即可)。图中电表指示部分,可用万用表或耳机代替。

电路原理
将被测管插进电路后,可以看出这是一个共发射极再生电路。如果插入高频管,因再生过强,就会引起振荡,并将振荡产生的高频信号经电容器C\(_{4}\)、C5送到由二极管D\(_{1}\)、D2组成的整流电路,变成脉动电流,由电表指示出来。如果插入电路的是低频管,就不能产生振荡,那么电表也就无指示。因此,根据电流表指针是否偏转,即可辨别是高频管还是低频管。
元件选择
测试器的振荡频率主要由L\(_{1}\)的圈数和C1的容量来决定,可选在中波段535~1605千周之间。线圈L\(_{1}\)、L2可绕在普通电子管收音机调磁心式中周骨架或类似的小磁心上。我用Ф0.015毫米纱包线,L\(_{1}\)绕120圈,在20圈处抽头。同向绕15圈为L2。L\(_{2}\)的4、5端要按电路图所示接线,如这二端接错,电路不振荡(当C1为12P时,测出振荡频率为1500千周)。L\(_{3}\)是普通的高频扼流圈,可用Ф0.1毫米左右的漆包线在另一个小磁心上绕300~500圈。电位器R1的作用是调被测管的偏流和调节电路的振荡幅度。为防止管子因电位器旋至最小阻值时偏流过大而烧毁,必须串联一个固定电阻R\(_{2}\)。整流器可用2AP型晶体二极管。再生电容器C3的容量只要能使电路产生足够的振荡即可。除表头外,整个装置可放在一个小盆里。零件安装见下图。三极管插座可用Ф0.5毫米左右的单股裸铜线绕制,方法是:先将裸铜线并排地在大头针上绕20圈左右,抽去大头针即成插座。


使用方法
1.把万用表拨到直流电流0.5或1毫安档上(也可用相应的直流电表),正表笔接电路中A点,负表笔接至B点,将被测管插上,把K闭合,旋转电位器R\(_{1}\),如电表中表针有指示,则被测管为高频管;如表针无指示,则为低频管。
2.如果没有现成的万用表和相应的表头,在使用时,可用一副耳机(阻抗800~1000欧)插在A、B处。插上被测管,将K闭合,旋动电位器,如能听到啸叫声,就说明是高频管,否则就是低频管。
3.如果有一个表头,可综合各种好的电表电路,制作多用途的电表。这时二极管D\(_{1}\)、D2既是高频整流器,又是电表交流电压档的整流器。电源可直接用万用表里的电池。从电路图上看到,由于用了C\(_{4}\)、C5两个电容器,就将测试器里的直流电与电表分开,互不干扰了。
有关调整问题
1.电流表的量程:流经电流表的脉动电流大小,主要由电容C\(_{4}\)、C5容量的大小,被测管本身的频率特性以及电源电压、偏流所决定的。当振荡频率为1500千周,C\(_{4}\)、C5各为100PF,电源电压为3V时,调整偏流,测出一般高频管流经电表的最大电流均在500微安至1毫安左右。当其它参数不变,电压为1.5V时,最大电流在200到500微安。如果增大C\(_{4}\)、C5的容量,可使输出电流有所增加。因此在制作时,需考虑表头的灵敏度,以尽量达到满刻度。
2.振荡频率的调整:该装置的振荡频率最好调在1500千周。调整时在装置上插一个已知的高频管,接通电源,旋动电位器使电路起振(耳机中有啸叫声或电表指示在300微安左右)。然后将此装置靠近一架超外差式半导体收音机,并把收音频率调到1500千周。再用塑料起子慢慢旋转测试器中微调电容C\(_{1}\)和电感线圈的磁心,使收音机产生啸叫为止。这时,测试器的振荡频率就是1500千周。(工人 黄怀远)