我们使用普通元件制作了一台小型示波器,它的工作可靠、使用方便、线路简单、易于安装、成本低、体积小。
除了示波管采用8SJ29型3寸电子射线管外,只用三只6N1电子管和五只硅二极整流管(2CP18)和其它一些普通的无线电元件。本仪器的Y轴偏转系统的灵敏度为435mV/cm;X轴偏转系统灵敏度为760mV/cm;Y轴放大器的频率响应为:20赫~100千赫时,衰减不大于3分贝(以1千赫、430mV/cm作基准);当输入为1兆赫时,衰减为13分贝。在中学实验室和一般检修工作中已能满足需要。
原理简述
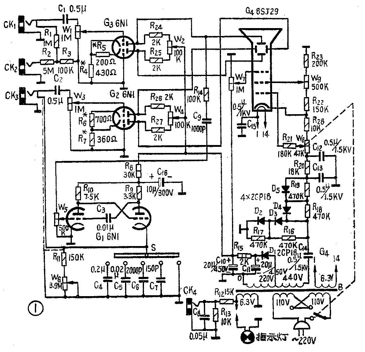
整机线路如图一所示。电源及示波管控制部分:晶体二极管D\(_{1}\)~D5、滤波电路和电源变压器(用普通五灯收音机的电源变压器)构成电源部分。D\(_{1}\)构成半波整流电路,输出的直流电压约为正300伏,做为各电子管的板极电源;还通过电位器W7给示波管G\(_{4}\)的第二阳极加上一个正电压,作为辅助聚焦的调整。D2~D\(_{5}\)及C14组成负高压半波倍压整流电路(R\(_{16}\)~R19为均压电阻),经C\(_{12}\)、R20、C\(_{13}\)П型滤波器后输出的直流电压约为-1200伏,电压全部降落在W3、R\(_{28}\)、R22、W\(_{9}\)、R23上。示波管G\(_{4}\)控制板上的电压对阴极来说为负压,故调整W8可控制负压的大小,以达到控制从阴极射出的电子数量,也就控制了荧光屏的亮度,故电位器W\(_{8}\)为亮度控制。R21是控制极的栅漏电阻。电位器W\(_{9}\)与G4的第一阳极相接,与第二阳极之间的电位差形成一聚焦静电场。调整W\(_{9}\),可使射到荧光屏上的光点达到最佳聚焦。

G\(_{1}\)构成产生锯齿波电压的扫描发生器。双三极管的左右两半构成一个多谐振荡器。两三极管交替地截止和导通。在右边三极管的阴极接有R11、W\(_{6}\)和C4~C\(_{7}\)的充放电电路。当右边三极管导通时,电源通过R8、R\(_{9}\)迅速向C4充电,形成返程。此三极管截止时,C\(_{4}\)通过R11和W\(_{6}\)缓慢放电,形成正程。因此,这是一个电压线性递减的锯齿波电压发生器。把适当的同步信号通过R14、C\(_{9}\)、W5加至G\(_{1}\)左边三极管的栅极,即可使扫描频率与被观测的信号频率同步,以达到屏幕上稳定的信号波形。扫描电压的频率范围可用转换开关S来变换,各档扫描频段为:10赫~100赫、100赫~1千赫、1~10千赫、10~100千赫。W6为各档扫描频率微调。
G\(_{3}\)(6N1)构成垂直偏转放大器,信号经插口CK1输入,经隔直电容C\(_{1}\)及Y轴增幅控制电位器W1加至上半个三极管的栅极。R\(_{4}\)为G3二个阴极共用的自给偏压电阻,由于它两端的电压随信号电压变化,而下半个三极管的栅极接地,R\(_{4}\)上的信号电压加至下边三极管的栅阴之间,其相位与上半个三极管的信号电压相反,这就形成了G3的推挽工作方式。板极输出的信号直接接到示波管G\(_{4}\)的垂直偏转板。电位器W2及R\(_{24}\)、R25是G\(_{3}\)的二个板极负载电阻,移动W2的滑臂位置可调节荧光屏上图形的上下位置。如被测信号的电压较高,信号可由CK\(_{2}\)插口输入,经R1、R\(_{2}\)及R3分压后进入G\(_{3}\)放大器,衰减量约-40分贝。采用推挽放大器的平衡输出电路,在失真度与频率特性等方面均较单臂输出的放大器要好,而电路仍较简单、元件数量也较少。
G\(_{2}\)构成水平偏转放大器。工作原理与G3相同,电位器W\(_{4}\)控制荧光屏上图形的左右位置。G1输出的锯齿波电压经插口CK\(_{3}\)、C2、W\(_{3}\)加至G2的栅极,经推挽放大后接到示波管的水平偏转板,在荧光屏上就会出现一条水平扫描线。当Y轴输入信号时,适当调节各旋钮就可在荧光屏上观察到信号的波形。当水平放大器从插口CK\(_{3}\)输入外接信号时,锯齿波电压被切断(S可拨到接地档使G1停振),这时示波器能利用李沙育图形测量频率或进行其它项目的测试。
50赫的6.3伏电压经R\(_{12}\)、R13和C\(_{8}\)阻容分压滤波后作为机内试验信号使用,其电压峰值为3.8伏,试验电压从插口CK4接出,输入到Y轴放大器插口CK\(_{1}\),扫描频段开关S放在最低档,这样不必外接信号,就能试验示波器的工作是否正常。
主要元件选择
示波管及电子管的选择:选择示波管主要根据电源电压、屏幕尺寸、体积大小及偏转灵敏度等因素来决定,不用五时示波管主要是因为用一般五灯变压器通常不易得到它所要求的负高压,而且整机体积也太大。二寸示波管屏幕尺寸又太小,故本机选用三寸(75毫米)的8SJ29型示波管,而且偏转灵敏度比二寸的示波管要高些。为了减少电子管的数量,简化电路,又要能推挽输出,同时考虑输出要有一定的推动功率,故选用6N1型双三极复合电子管,这种管子在市场上也容易买到。
整流器元件的选择:本仪器采用普通五灯收音机的电源变压器。二组6.3V分别供示波管及其它电子管灯丝;次级高压绕组440伏中心抽头,使用时中心抽头不接地,而将一端接地,这样中心抽头和另一端对地可分别得到220伏和440伏的电压。在本仪器中,由于正负高压的负载均较轻,同时为了缩小体积及节省灯丝负载,均采用硅整流二极管(2CP18)整流的半波整流电路。为了得到较高的负高压,将440伏接成半波二倍压整流电路,并将二个2CP18串联使用,以得到足够的反峰耐压。每只二极管上并接一个470千欧的电阻(1/4瓦),用作均衡反向电压,否则会因整流管的反向电阻不同使各自承受的反向电压不均匀而被击穿损坏。
电容器和电阻的选择:负高压滤波电容器C\(_{12}\)、C13及倍压电容C\(_{14}\)应选择0.5微法、1500伏的纸介电容(CZM型)。正高压滤波电容C10、C\(_{11}\)及C16选用铝壳电解电容器。扫描发生器中的电容器C\(_{4}\)~C7应尽量选择电容量准确及品质好的云母电容器或纸介电容,否则会因容量误差很大及损耗角大而使扫描频率范围误差很大,甚至不起振或振荡电压很小。C\(_{1}\)、C2选择容量为0.5~1微法耐压400伏的铁壳纸介电容,要求不漏电,外壳接地以防止外界的干扰。C\(_{15}\)是防止示波管阴极受灯丝50赫干扰调制的滤波电容,用0.5微法、1000伏的纸介电容。电位器全部用1瓦炭膜电位器,亮度控制电位器W8应带开关,作为电源开关。
制作与调试
(1)底板与机壳的加工工艺:本仪器安装在旧五灯收音机的底板上,仅将原底板的倾斜侧面弯成直角,锯去多余部分,然后在两侧各开六个Ф10毫米的孔,如所示,以便安装电位器(W\(_{1}\)~W9)、转换开关S、插口CK\(_{4}\)、电源引入孔等如图2及图3所示。仪器的外形尺寸为335×108×213毫米。为便于加工,机壳用0.5毫米厚的铁皮做成,如图4所示。由于电位器等控制钮均装在侧面,因此机壳两侧应挖去两块,然后以钻好孔的两块侧盖板(这两块侧盖板与图2所示底板两侧各孔相对应,孔径比电位器轴稍大即可)盖上去用螺丝与机壳和底板连接。注意在机壳的侧板上钻适当数量的散热孔。



仪器的前面板选用较厚的(约2毫米左右)铁板或铝板。按照示波管在底板上的高度在面板的适当位置开一个比荧光屏直径稍小的圆孔(约Ф75毫米),并在靠荧光屏的一面沿圆周锉削成斜面,以便嵌入作衬垫用的橡皮圆环。在面板下部开三个直径10毫米的圆孔,安装CK\(_{1}\)、CK2、CK\(_{3}\)三个插口。面板最下端中间为指示灯透光孔,孔外加盖一小条标有“X-输入”、“Y-输入”字样及红五星图案孔的有机玻璃板。在面板的荧光屏外加盖一块有机玻璃坐标板,厚3~4毫米如图4所示,在有机玻璃靠荧光屏一面用针尖刻划出+字形坐标刻度,坐标板上钻有与面板上相对应的两孔,以便用螺丝连接在面板上。装好后的仪器外观如图4所示。安装机壳前应首先开机观察一下水平扫描迹线,看是否在水平位置,否则需转动示波管直到水平扫描线迹恰好与X坐标轴相吻合。
(2)元件的安装、制作与接线:本仪器结构与一般示波器不同,它的控制旋钮都不在示波器面板上,而在示波器两侧的适当位置上。这样,就缩短了零件之间的接线,减少了电磁干扰,且缩小了整机体积,安装与接线也比较方便简单,使用时并无调节不便之感。
本机全部元件均安装在底板上。电子管及电解电容器利用原五灯机底板上的孔,G\(_{2}\)及G3安装在靠近面板的输入插口附近,G\(_{1}\)放在扫描频率控制开关S附近,电容器C11、C\(_{1}\)0放在后部电源整流器附近,以缩短接线避免互相干扰为原则,制作者可根据手头现成底板来适当布置。
电源变压器安装在底板下面,铁壳电容C\(_{12}\)、C13、C\(_{14}\)紧固在底板上面盖住原底板装变压器的孔,这样电容器铁壳和底板本身就构成了对电源变压器的磁屏蔽(如图3所示)。
示波管的支架及屏蔽罩圆筒用厚1.5毫米的铁板制成(如图3所示),圆筒比管身直径稍大一点,内垫橡皮以使示波管能嵌在支架圆筒中,并起一定的防震作用,示波管的位置可通过橡皮衬垫予以调节或转动。支架长70~80毫米,一端钻眼与圆筒铆接,另一端钻眼用螺丝固定在底板上面,使装入示波管屏蔽罩后屏幕正好与面板圆孔相吻合。14脚的示波管插座不必另买,可以自己制作,即用废旧八脚电子管座上拆下的铜插脚座,单个地插到示波管管脚上,然后再将接线焊在插脚座上,这样体积较小而且省去了一只价钱较贵的示波管座,但在拆装时因管脚是散的容易弄错,故最好在插脚片上刻上管脚数码。为便于制作者参考,将8SJ29的管脚接线图示于图5。注意每个插脚座插入管脚时要紧,防止松脱,否则将造成短路或断路。

各级元件应尽量集中在该级电子管管座附近。各级元件的接地端应集中在该级附近的一点接地。接线应尽量避免交叉重叠。整流二极管及保护电阻焊接在接线架上,并固定在底板下电源变压器附近。所有引到示波管各极的导线全部采用金属隔离线,并注意走线不要与其它元件相碰,以免接地或短路,最好各金属隔离线扎在一起再套上塑料套管(如图3所示)。焊接金属隔离线时应注意不要使其过热,焊接速度要快,以免外层屏蔽线与内部导线间的塑料层熔化造成短路。
接线首先应从电源部分及示波管各极开始,这部分接线完成之后先通电试验一下示波管的亮度和聚焦是否良好,只要示波管良好、管脚接线无误,负高压(-1200伏左右)及正高压(+300伏左右)正常,亮度和聚焦一般不会发生什么问题。注意试验时四个偏转板需连接在一起接地或按正高压。这时旋转亮度控制电位器W\(_{8}\),最亮时白天室内应清晰可见其光点,关到最暗时应完全不见其光点。聚焦控制W9及辅助聚焦W\(_{7}\)的试验应使W9在中间位置时光点聚焦最佳,否则要适当改变一下R\(_{23}\)及R22的阻值来调整。在中等亮度时当聚焦到最好时,光点的直径应不大于1毫米的圆点为合格。本机在亮度不太亮的情况下聚焦后的光点(或水平扫描迹线)可达到0.5毫米以内。试验时若出现聚焦后的光点不是小圆点而是聚不了焦或聚焦后的形状成条状或“Y”形状,这可能是下列几种原因引起的:示波管各极电压不正常或一、二阳极接反,这时多半会出现散焦;电源变压器的杂散磁场干扰(即磁屏蔽不好)、高压整流滤波不良,阴极受灯丝6.3伏50赫交流电压的调制等,这时多半会出现聚焦光点的畸变。本机在试验时曾出现激焦、“Y”形焦及“ 1”字形焦等情况,经检查是R\(_{23}\)阻值偏小、第一、二阳极接反(散焦及“Y”形焦)及阴极灯丝电压的调制(“1”字形焦),经调整及灯丝接一个0.5微法、1千伏的旁路电容之后上述问题就解决了。聚焦问题是业余安装示波器中比较难以解决的问题,但只要注意变压器及示波管的磁屏蔽问题以及上述可能出现的一些问题,聚焦问题也不难解决。
电源、示波管部分接线及试验完成后就可进行扫描及水平放大器部分的接线,最后焊接垂直放大器的线路部分。为避免不必要的交连和干扰,各信号输入线及级间交连线最好使用金属隔离线,外金属隔离层必须妥善接地。
(3)电路完全接好之后,再仔细检查一遍接线是否有差错,如线路及元件数据均无误,就可进行通电试验。将试验电压接到Y轴输入插口CK\(_{1}\),扫描频率开关S放到最低频率档,将W1及W\(_{3}\)关到最小位置,接通电源,稍等几分钟待各管达正常工作状态后,将亮度控制钮逐渐开大,荧光屏上即可出现大光点,适当旋动聚焦旋钮缩小光点,再配合转动辅助聚焦使其亮度不宜太亮,这时便可得到直径在1毫米以内的小光点。调节水平和垂直位置旋钮,使光点居于荧光屏中间位置(即座标原点),此时慢慢开大X轴增幅即可得到一条水平扫描线,再适当开大Y轴增幅并仔细调节频率微调旋钮及同步旋钮,荧光屏上便可出现一个稳定的正弦波。
在试验过程中,我们曾遇到过下列一些问题:①扫描频率有一档输出电压不均匀,频率误差较大,有时甚至停振;②X轴及Y轴光点位置控制移动的幅度不大,两边移动的距离也不均匀,③试验信号的正弦波形有较大的失真等。现将这三个问题的调整过程介绍如下:第一个问题是由于该档(1~10千赫档)的充放电电容器C\(_{6}\)是用的老式塑料薄膜电容,它的容量不准确,漏电也较大,同时开关的接点接触也不太良好,经换用2000微微法的云母电容并调整开关接点之后这个问题就解决了。第二个问题是由于位置控制电位器W2及W\(_{4}\)的阻值太小(开始是用25千欧的电位器),使二个板极的直流电位差变化较小,后来换用100千欧的电位器之后,两边移动的幅度总数可达40毫米,基本上能满足使用要求。至于二边移动的幅度不均匀是由于采用处理的电子管,它的二个三极管性能差异较大,我们采取适当调整其阴极电阻(即R4~R\(_{7}\))的办法基本上能使二个三极管的放大性能趋于一致,因此制作者必须根据实际使用的电子管来适当调整这些电阻的阻值,本电路中的数据(即R4~R\(_{7}\))仅供参考,但R4及R\(_{7}\)的阻值不宜用得太小,最好在300欧到1.5千欧之间选取。第三个问题开始我们是用一个33千欧的电阻直接从6.3伏电压降压取得试验电压,结果波形有些失真,后来改用R12、R\(_{13}\)及C8的阻容分压滤波,其失真度就很小了。(袁中和 金德初)