显象管是电视接收机中重现图象的一个重要元件。在修理电视接收机过程中,可能会遇到14寸和17寸电视机因显象管损坏而一时又配不到原来型号的显象管,影响了使用。我们在修理工作中曾将16寸偏转角110°的显象管用在14寸电视机中,实践证明,这种办法是简易可行的。现以改装上海牌104-2型电视机为例加以介绍。

改装方法
一、显象管的紧固装置:首先将安装显象管的紧固铁箍架按照16寸显象管的外形加以改制。然后,将16寸显象管装在改制好的架上并紧固好,注意把显象管外壳上的石墨涂层用原来的编织铜线接地。
二、偏转线圈:由于改用了110°的显象管,所以也要配用110°的偏转线圈,但应将这种偏转线圈的绕组接线头改接一下。国产110°偏转线圈的两个行线包是接成并联,两个帧线包是接成串联的,将它使用在70°偏转线圈的电视机中时,应将行线包改接成串联,帧线包改接成并联,以使与行、帧输出变压器的阻抗相配合。在接线时应注意两只线包的相位:如果光栅出现水平交错,是由于帧线包相位接错,如果光栅出现垂直交错是由于行线包相位接错,应将线包接线头位置调换。
三、显象管管座:由于16寸显象管的管脚与14寸70°显象管的管脚不同,原管座不能用,所以管座也要改成16寸显象管用的管座。若配不到合适的管座,可利用瓷的或胶木的小七脚管座,拆出其中的接触片直接焊于各相应电极的导线上,再套入对应的管脚,并套上塑料套管以免极间互碰。
调整
通过上述的改换工作后,就可通上电源进行光栅调整(原来所用的中心位置调整器及离子阱磁铁都不用了)。
1.显象管各极电压正常但无光栅,这是由于亮度电压不够而造成的,可适当减小亮度电阻的阻值(如上海牌104-2型电视机可减小R\(_{86}\)的阻值)。
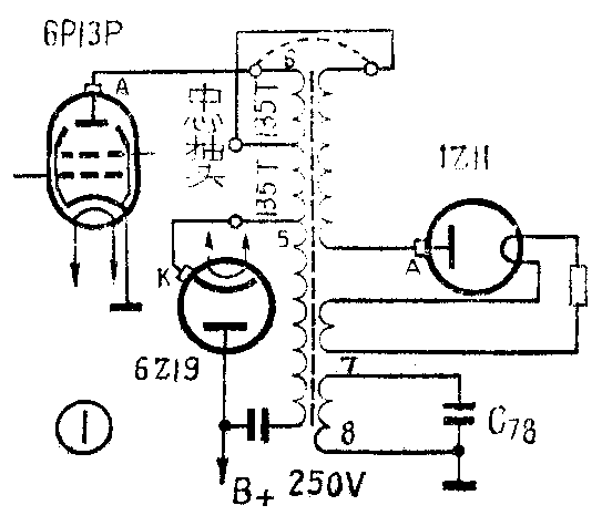
2.光栅垂直和水平幅度均小,这是由于换成16寸的偏转线圈后,高压升高(约17KV左右),偏转灵敏度相对降低,可采取降压的办法加以解决。方法是:在行输出变压器低压线圈的抽头5、6之间,再抽出中心抽头,并将高压线包原来接低压线圈抽头6上的一头,改接到这个中心抽头上(见图①)。这样幅度就可增大。如还嫌幅度不足,可在低压线圈抽头7、8之间再并接一只适当的电容器C\(_{78}\)(1000P~2000P之间),行输出电流仍应保持60毫安。
3.垂直线性不好,荧光屏重显的方格信号上部重叠,这是由于帧输出级与其负载阻抗不匹配而造成的。可用增加帧输出级的反馈电容或电阻的数值解决(如上海牌104-2型电视机,改变电阻R\(_{55}\)或电容C55的数值)。

4.水平线性不好,光栅中间狭两边宽,这是因水平扫描电流不足而引起的,可在显象管管颈与偏转线圈之间的上、下部位,放上两只用薄铜皮做成的短路圈,短路圈的外圈边长35毫米,宽25毫米,内圈的长、宽分别比外圈小3~4毫米,其形状如图②(尺寸要求并不很严格)。调节短路圈在管颈上面前后的位置或改变水平线性调整器的磁铁棒尺寸和增、减调整器的线圈圈数,即可得到解决。(上海电视机修理部吴纪祥 上海电讯器材厂 宗承玮)