原理
工业电视设备是一种利用电视原理把甲地实况传送给乙地观察者的一种装置。要实现这种传送,必须完成两种变换。如打电话,在发端将声音转换成电信号,由话筒来实现,在收端通过耳机将电信号转换成声音。图像传送和电话的声音传送相类似,在发端将图像转换为电信号,由视像管来实现,在收端通过显像管将电信号转换成图像。不过图像传送要比声音传送复杂得多。为了传送图像,必须将整幅图像自左至右、从上到下分成很多足够小的小单元叫“像素”,如图一,画面中有一个“上”字,假使我们把它分成20个小方块,即20个“像素”,7块黑的13块白的,如果按图上的编号一块块传送到另一个地方,并按原来构顺序排列起来,就会恢复原来的“上”字。“像素”分得愈小,图像清晰度就愈高,图像信号的频带就愈宽。目前我国的广播电视是每幅图画从上到下分成625行。

工业电视是通过视像管将每个像素转换成电信号,像素明暗不同,转换成电信号的强弱就不同。这种电信号大多数通过电缆(也有利用超高频电磁波)传送到接收端,在收端由显像管将电信号转换成一个个像素,这些像素如果按发端的顺序排列起来,就能恢复原来的图像,这就达到了传送图像的目的。为了使收端和发端的顺序相同,不使图像错乱,还必须设置同步系统,其组成的各部分方框图,如图二。

图二中扫描系统是为了保证逐点地传送像素的,虽然是逐个像素传送,但由于人眼的惰性,而在显像管屏幕上看到的却是一幅完整的图像。
视像管的工作原理如图三所示。包括电子枪、偏转系统和靶面。

图像通过镜头成像到靶面上,亮度不同的光照到靶面上,靶面光电导层的电导就不同,亮度大的区域,电导大,信号电流就大,这样就在负载电阻R上产生随图像亮度而变化的电信号。这个电信号很微弱,必须经过放大器放大。要求放大器输入阻抗高,信噪比大,灵敏度高,频带宽,因此要求预放器有很好的屏蔽。
偏转系统受同步系统控制,使电子射线偏转。随着时间变化,电子射线打到靶面不同区域,通过扫描系统,将整个画面全部转换成图像电信号,并混入同步系统供给的同步信号,一起传送到接收端。
在接收端则要把传送到的同步信号分离出来,用以控制接收端的同步系统以控制接收端扫描系统,使发送、接收两端的扫描同步,同时将图像信号放大。然后通过显像管将电信号转换为图像。显像管的构造如图四。它包括电子枪、扫描系统及荧光屏。由电信号的大小控制电子束的强弱,也就是控制荧光屏的明暗,重显传送过来的图像。

应用
随着我国电子工业的发展,工业电视在冶金、石油、化工、地质勘探、交通运输、电力、医疗、国防建设以及教学、科研等各部门的应用愈来愈广泛。
下面我们着重介绍一下工业电视在地质勘探方面的应用。地质勘探部门为了探矿及测量地层构造,每年都要钻大量的探井,过去都是通过多次提取岩心的方法来绘制地层构造断面图,分析地层构造和矿藏情况。目前地质部门钻井的口径有75毫米、90毫米、110毫米、130毫米等不同的口径,由于钻井口径小,深度大,地质工作人员无法直接观察地层情况;况且提取岩心非常麻烦,而且岩心很容易破碎,很难通过岩心反映井下全部真实情况。见过或从事钻井的同志都很清楚,每次钻取岩心只能1~2米,遇到松软或破碎地层就很难取上来,而且每次取岩心都要将钻杆提上来,每根钻杆只有十几米长,500米的钻井就需要接几十根钻杆,可想而知,由于取岩心使钻井的速度非常慢,如果减少取岩心的次数或不取岩心,钻井的速度就可以提高很多倍,因此地质部门的工作人员需要一只地下“千里眼”——井下工业电视。
地质勘探用的井下工业电视,可以完成下列任务:
1.观察钻井中的地层构造。如裂隙、断层、溶洞等。
2.区别色泽分明的矿石,确定矿层厚度,估计矿藏量。
3.观察井中衬砌套管的接缝是否良好,管壁是否断裂。
4.减少岩心提取次数,加快钻井速度,提高效率。
5.用于处理井下事故,如打捞工具和钻头。
井下工业电视的特点:
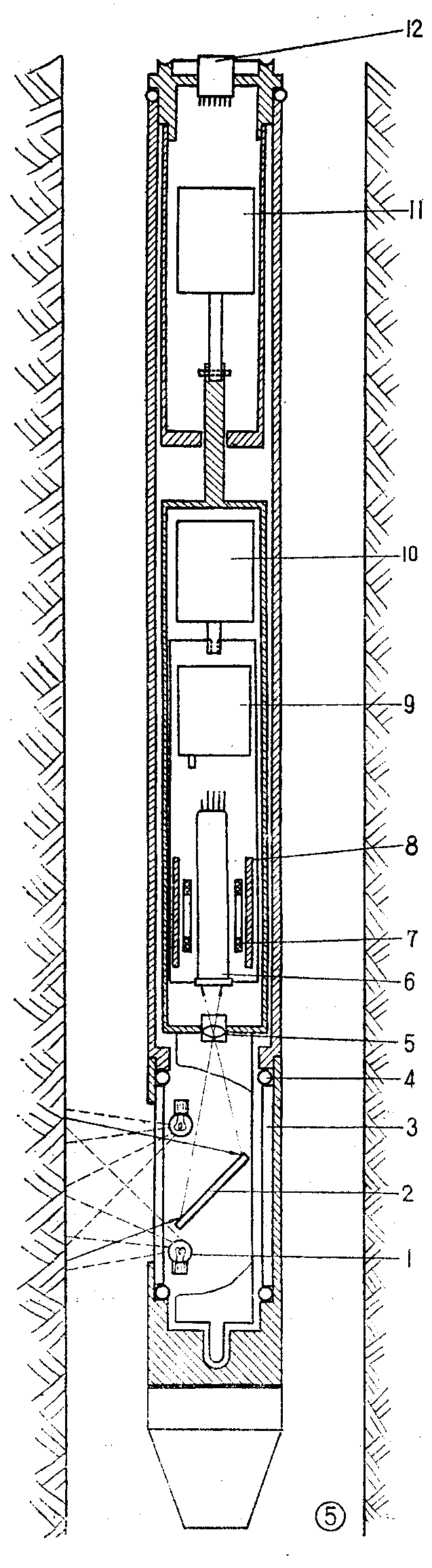
地质勘探用的井下工业电视,是为“大打矿山之仗”服务的。它和一般工业电视既有相同之处,在结构形式上又有不同之处;它的发端必须做到体积小、防水、耐压和自带光源。因为钻井中绝大多数有水,每10.33米水柱的压力就等于一个大气压力,如果是500米的钻井,那么探头(发端)就要承受50个大气压。为观察井壁情况,必须自带光源,将井壁照亮。由于钻井口径小,视像管和镜头不能直接对准井壁,而是通过一个与井壁成45°角的反光镜将井壁情况反射到镜头中。根据以上特点,井下工业电视具有图五的结构形式。

图中:1是光源;2是与井壁成45°角的反光镜;3是钢化玻璃筒;4是O形密封垫圈;5是近焦距镜头;6是视像管;7是偏转线圈;8是磁聚焦线圈;9是预放器;10是调焦电机;11是转向电机;12是电缆插座。
调焦电机是调整镜头焦距用的;转向电机是使整个发端的机心做360°转动,便于观察井壁四周。整个机器装在密封的筒内,通过多心电缆与地面控制器(包括收端)连接起来。如图六所示。

目前地质部门要求井下工业电视的摄像机部分的体积越小越好,因为现已采用金刚石钻头,钻井的口径很小,一般为45毫米至75毫米。这就要求摄像机采用新的器件,如静电偏转的视像管或固体摄像机;镜头要求用近焦距广角镜头;电缆最好用外层铠装钢丝绳的,可以负重,免得另外再加一根钢丝绳。
工业电视在地质勘探方面的应用很广泛,大有作为。如:冶金勘探部门希望利用井下工业电视来测量钻井的倾斜角度。在探矿过程中,钻井的测斜工作非常重要,几乎每口井都需要测斜,如果不测斜将会给矿业带来重大损失。让我们举例加以说明,如图七所示。假设钻井倾斜了30°(钻井倾斜是经常发生的),由于没有测斜仪,而误认为钻井没有倾斜。在1000米处有铜矿,准备开采,在乙处建设矿井,矿井建好了,投资很大,结果在乙处并没有矿。是勘探错误吗?不是,在钻井的1000米深处确实发现铜矿,由于钻井倾斜,铜矿实际是在甲处。这种事情,过去曾经发生过,因此钻井的测斜工作是非常必要的。

利用重锤原理的测斜仪,重锤的垂线和井身轴心线间成为α角,如图八。把这种测斜仪放到钻井的不同深度测量钻井的倾斜角度。这个倾斜角α测量者不能立即看到,而是通过一套定时系统间接测得。如:估计测斜仪下到100米需半小时,就将定时系统拨到半小时,当到半小时后,定时系统通过弹簧夹将重锤固定不动,然后将测斜仪提上来,将它从密封筒中取出来,再观测倾斜角α,每测一个深度的倾斜角,都要放下提取一次,很麻烦。若利用井下电视测斜,就很方便。将摄像机和测斜仪装在一起,地面上的接收端显像管上就可以直接看到钻井不同深度的倾斜角,既能提高精度又节省时间,为多快好省地开发矿业创造有利条件。(长春市无线电一厂欧阳杰)
