本文介绍在大庆油田推广使用的一种木工手压创安全装置。本电路采用了石英晶体振荡器,晶体管电路及组合管直流放大,因而工作稳定度较高、重量较轻、体积小;由于安全区面积较大,作用垂直距离在100毫米以内可调,在不影响工人正常操作的情况下,比较安全可靠。由于采取了电机、刀轴同时制动,较好的克服了旋转惯性,加快了停车速度。
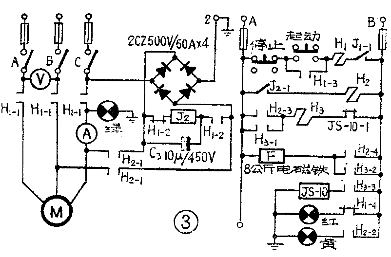
晶体管控制电路(见图1)可以分成以下几部分:由石英晶体Z 和BG\(_{1}\)的极间电容组成建立振荡元件,振荡频率为3兆赫,经C2、L(0.15m/m133圈高频瓷心电感)谐振回路选频后将振荡信号输往射极跟随器BG\(_{2}\),BG2起阻抗变换及开关作用。振荡信号经阻抗变换后输出至直流放大器,直流放大器由RG\(_{3}\)、BG4两只3DG12晶体管接成组合管形式。J\(_{1}\)为高灵敏继电器(JRX-11FQ型),D1(2Ap9)为反向保护二极管。合上电源闸刀后,H\(_{1}\)-4常闭触点将红灯电源接通,红灯亮。正常工作时,主控部分末级放大电流约55毫安,组合管基极偏压为4.2伏左右,继电器J1线圈有电,其常开触点J\(_{1}\)-1吸合。按下起动按钮,交流接触器H1线圈有电流通过,H\(_{1}\)-1吸合,带动刨刀工作的电动机M(2.2千瓦电动机)正常运转,红灯灭,绿灯亮(见图3)。红灯为停车指示,绿灯为运转指示,黄灯为电机制动时间指示。


当操作时,如果手不慎接近刀轴危险区时(见图2,刨床台面俯视图),即接近了主控振荡级的天线。由于人体的分布电容可以与建立该高频振荡的电容相比,故对振荡器频率有显著的影响,使振荡信号的频率和C\(_{2}\)、L回路的谐振频率不同,因此输出信号突然减小,使BG2迅速截止,末级组合管偏压降至3.5伏以下,致使末级电流降至10毫安以下甚至为零,继电器J\(_{1}\)释放,其原吸合触点J1-1断开。J\(_{1}\)-1断开后,H1线圈失电,H\(_{1}\)-1触点断开,电动机M断电,红灯亮,绿灯灭。此时电动机制动和刀轴制动同时进行。

电动机制动过程如下:H\(_{1}\)线圈失电后,触点H1-2动作,使原来充好电的电容C\(_{3}\)对J2(121型1A4000Ω高灵敏继电器)线圈放电,在一定的放电时间内,J\(_{2}\)线圈有电,其常开触点J2-1吸合,使H\(_{2}\)线圈有电,H2-1触点吸合,经桥式整流的直流电流约25安培,通入电动机定子造成强大磁场,迫使电动机转子立即停转。同时H\(_{2}\)-2吸合,黄灯亮。当C3放电电流减弱到一定程度时,J\(_{2}\)线圈失电,其常开触点断开,H2线圈失电,直流能耗制动电流阻断,黄灯灭。与此同时H\(_{2}\)-3,H2-4均断开。电动机制动时间可通过改变C\(_{3}\)数值调节。
刀轴制动过程如下:在H\(_{1}\)线圈失电的同时,H2线圈有电,H\(_{2}\)-4触点闭合,电磁铁F有电,带动了机械刹车,使刀轴制动。所以在电机开始制动时,刀轴制动立即开始,加快刹车速度。H2-3触点闭合,导致H\(_{3}\)线圈有电且自保。H3-2吸合,H\(_{3}\)-3也吸合,使时间继电器JS-10线圈有电,其触点JS-10-1延时断开,使H3线圈延时失电,H\(_{3}\)-2延时断开,从而使电磁铁F延时失电、刀轴制动延时释放。延时时间为0~4分钟连续可调。停车后,再次按下起动按钮,刨床就可以恢复正常运转。H1、H\(_{3}\)为CJO-20A交流接触器,H2为CJO-40A交流接触器,JS—10为0~4分钟时间继电器。
编后:本刊今年第三期刊登“木工手压刨安全装置”后,收到很多单位来信来稿,提出很多建议和他们自己的经验,例如大庆油田第三采油指挥部试验大队、上海建筑机械制造厂、交通部第三航务工程局船舶修理厂、湖南岳阳专区工程公司、湖南郴县建筑公司等,这些经验在提高电路稳定度、加强安全可靠性等方面都具有一定的特点。本期发表大庆油田第三采油指挥部的经验,供参考。
群众性的技术革新运动正在蓬勃开展,本刊特增辟“技术革新”专栏,希望广大工农兵技术革新积极分子把你们在应用电子技术方面的革新成果和经验,写成稿件寄给我们,以便相互交流、及时推广,使群众性的技术革新一浪高一浪地发展,为我国社会主义革命和建设作出更大的贡献。(大庆油田第三采油指挥部试验大队)