从萤光分析仪谈起
工业生产中,需要对生产的样品成分进行分析。例如炼钢时,要及时测定钢样中的元素含量,以便合理选配炉料,保证钢的高质量。萤光X射线光谱分析仪是快速测定样品中元素含量的一种新型仪器。它具有分析速度快,可以同时分析一个试样中的多种元素,不破坏试样,分析范围广等优点。目前,已逐步应用于冶金、石油、化工等部门。
萤光X射线光谱分析仪是怎样测定试样中的元素含量呢?原来,试样中的元素,在X射线照射下,会产生这种元素特有的新的X射线,称为“特征X射线”,而且这种特征X射线的频谱是复杂的。通常是测量元素较强的、干扰较小的谱线强度进行定量分析。这就需要将被测射线和其它射线分开。打个比方说,就好象因为不同电台发射的信号具有不同频段,接收时必须准确调谐一样。在萤光X射线光谱分析仪中,先把不同频谱的射线变成不同幅度的电脉冲,然后再对脉冲信号的幅度进行鉴别和测定,以达到定量分析的目的。这种方法称作射线能谱分析。
脉冲幅度分析器正是用来鉴别脉冲信号和测定脉冲幅度分布的。它只允许幅度在所需范围内的脉冲通过。脉冲幅度分析器是萤光X射线光谱分析仪中的重要组成部分,对研究放射性物质的性能也是不可缺少的。
工作原理
射线能谱分析显然要求通过脉冲幅度分析器的脉冲的最低幅度(下限)与最高幅度(上限)分别可调,范围适应于被分析的频谱。图1示出脉冲幅度分行器的方框图。不同幅度的脉冲通过幅度分析器的情况如图2所示。


图1中,阀调整电路控制可通过脉冲幅度分析器的脉冲的下限,阈值U\(_{v}\)如同门槛一样,幅度比Uy低的脉冲(图2中的I)一律不能通过;幅度比U\(_{v}\)高的脉冲(图2中的Ⅱ、Ⅲ),则能由下通道经过整形、微分,进入反符合电路。道宽调整电路控制脉冲的上限,只有幅度高于阈Uy与道宽U\(_{d}\)之和的脉冲(图2中的Ⅲ),才能由上通道进入反符合电路。反符合电路的门由上通道控制,上通道来的信号使反符合电路关闭。显然地,当上、下通道均有脉冲进入反符合电路时,它没有输出;当只是下通道有脉冲进入反符合电路时,它才有输出。这样,脉冲幅度分析器便能鉴别幅度在一定范围的脉冲了。例如图2中就只有脉冲Ⅱ能通过反符合电路而输出。
为了更容易了解上述过程,我们还可以再打一个比方:一条路的两边都有沟,只有跨过路一边的沟(相当于阈)才能到路上;但如果跨得太远,就会掉到另一边的沟里(相当于超过了阀与道宽之和),也不能到路上了。
还需指出,我们需要的是脉冲数而不管它的形状,因此可根据需要加入整形电路。图1中上、下通道都有整形电路,让上通道的脉冲比下通道宽一些。下通道脉冲微分后再进入反符合电路,可使反符合电路工作可靠。
测量时,上、下通道同时使用,可得到所测范围内脉冲数的总和(输出端接计数器),这就是脉冲幅度分析器的“微分”状态,也就是前边分析的情况。如将上通道断开,则得到比阀高的脉冲数的总和,为“积分”状态。
介绍几个特殊电路
下面就脉冲幅度分析器中的几个特殊电路做简单分析:
1.阀调整电路 见图3。电路输入信号为幅度不同的脉冲,输出信号为幅度高于阈值的脉冲。直流电源电压经稳压管DW\(_{1}\)、DW2稳压后,取其分压值作为三极管BG\(_{1}\)、BG2的基极电压,从而使A、B两点电位稳定。A点电位比B点电位高。因此在输入信号U\(_{1}\)=0时,二极管D1截止。当输入信号U\(_{1}\)(负脉冲)不为零时D1能否导通,视其幅度大小而定:

当|U\(_{1}\)|<UA-U\(_{B}\)时,D1仍截止,输出信号U\(_{2}\)=0;
当|U\(_{1}\)|>UA-U\(_{B}\)时,D1导通,输出信号U\(_{2}\)≠0。
因此,只有幅度高于U\(_{A}\)—UB的脉冲才能使电路有输出,这就起到了控制脉冲下限的作用。图3中,B点电位固定,调整电位器W\(_{1}\)可改变A点电位,从而使阈Uy=U\(_{A}\)-UB改变。DW\(_{1}\)和DW2使阈值稳定。由于是利用二极管D的导通与截止决定有无输出的,通常把D称为甄别二极管。
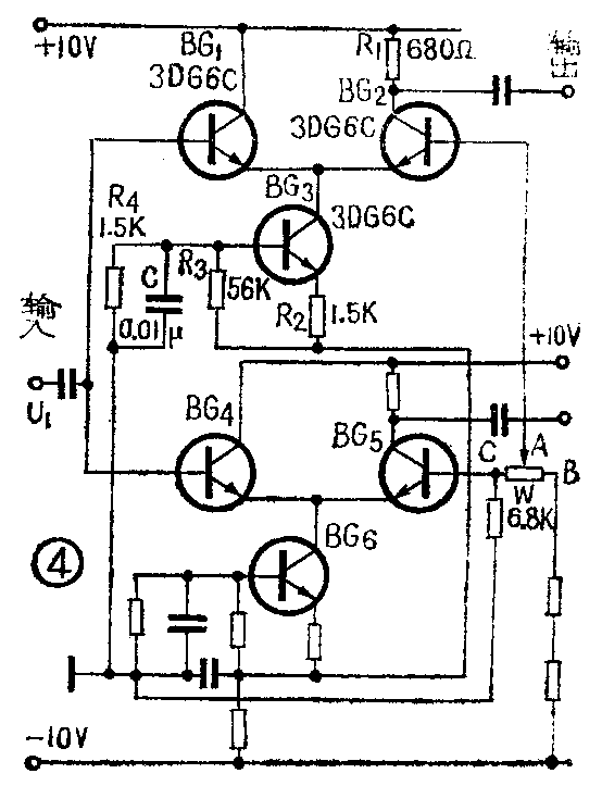
2.道宽调整电路 如前所述,它的作用是控制通过仪器的脉冲的上限。这部分电路由图4中的BG\(_{1}\)、BG2、BG\(_{3}\)及电位器W等组成。BG1、BG\(_{2}\)通过BG3耦合构成差分电路,用W改变BG\(_{2}\)的偏压,从而改变能通过它的脉冲的幅度。电位器W的活动头A越是调到B端,BG2就越处于深度截止状态,要求幅度越大的脉冲才能通过它。

通过阈调整电路的脉冲,同时进入上下通道。为了说明道宽调整电路怎样能起到控制脉冲上限的作用,图4下半部分画出了下通道中的对应部分。BG\(_{4}\)、BG5、BG\(_{6}\)也构成差分电路,不同的地方仅在于BG5的基极接在电位器W的C端,也就是BG\(_{5}\)比BG2容易导通。因此能通过道宽调整电路的脉冲一定能通过下通道,相反,能通过下通道的脉冲能否通过道宽调整电路,应由W调整的位置决定。设A、C两点电位差为U\(_{C}\)-UA=U\(_{d}\),且输入脉冲幅度|U1|>0就能通过下通道,不难看出,只有|U\(_{1}\)|>Ud的脉冲才能通过道宽调整电路。U\(_{d}\)就是前面提到的道宽,可通过电位器W调整。
3.反符合电路反符合电路的工作原理可用图5来简单说明。输入信号是下通道的整形信号,经C、R微分后负脉冲送入BG\(_{1}\)的基极。BG1能否工作要受BG\(_{2}\)的控制。当上通道整形电路无输出时,BG2截止,BG\(_{1}\)集电极有脉冲信号输出;而当上通道整形电路有信号使BG2导通时,BG\(_{1}\)不能工作,因此无输出。

脉冲幅度分析器的阈调整电路、道宽调整电路、反符合电路可以采取多种形式。至于脉冲幅度分析器中的整形电路,通常采用单稳态电路,这里就不详细介绍了。(北京矿冶研究院 萤光分析仪专题组)