本文介绍一种多用的低压电源,它可以输出低压直流电压、低压交流电压、低压三相交流电流和稳压直流电压。所以本仪器是实验室的一种通用仪器,广泛用于教学实验,在生产科研部门亦得到普遍运用。本仪器能代替蓄电池组当作直流电源,作充电机给蓄电池组充电,并供教学演示三相电机或其它三相电实验,亦常用作晶体管电子仪器的电源、晶体管收音机和扩音机电源、电镀用电源(如给印刷电路板镀金)以及作电解实验、低压安全灯、低压电烙铁的电源等等。
图1是这种仪器的外形图。主要由三部分组成,左边是低压交、直流电源,包括直流电流表。从电表下方的接线柱输出低压直流电压,从电表右方的接线柱输出低压交流电压。输出电压的大小由四只开关选择,可获得0到24V间任一偶数电压。最大输出电流为8A(长时间连续使用为6A)。中部是稳压电源,由一波段开关选择输出电压,分3V、6V、9V、12V、15V五档,最大输出电流为500mA。右边是三相电源,在三只三相输出插座的上方,有中心线插座,左下方有倒顺开关。总电源开关设在面板的右下角,仪器后盖上有保险丝管座,保险丝电流为1.5A。低压、稳压、三相各有一指示灯。

整机线路如图2所示,可看作由四部分组成,第一部分是降压变压器;第二部分是由四只开关、桥式整流器和直流电流表组成的整流器;第三部分是稳压器,包括独立的桥式整流电路;第四部分是由电感电容组成的裂相装置和倒顺开关。在仪器面板上,低压和稳压由一只双刀双掷开关控制,三相则由另一只开关控制。

变压器功率为200VA。图3铁心尺寸为a=38毫米,叠厚b=54毫米,窗口宽c=22毫米,高h=66毫米。每伏需绕三匝。初级用直径0.72毫米高强度漆包线。绕2×330匝,次级用直径1.74毫米高强度漆包线绕两组线圈,一组绕20匝,在第7匝末抽头;另一组绕60匝,在第20匝末抽头。这样,在次级就顺次获得2伏、4伏、6伏和12伏四个输出电压,见图2所示。这四个电压串联起来,最大电压是24伏。

怎样获得各个不同的输出电压呢?只要利用图2所示的四个双向开关,并且在变压器次级和开关之间连成适当的电路,就可以利用接通和断开四个相应的开关而得到零至24伏间的任一偶数电压。四个双向开关的一掷(图2中开关的左端)分别连到两组次级线圈的两个始端和终端,K\(_{1}\)和K2的另一掷(图中开关的右端)互相连起来,并和第一组线圈的中间抽头2连接;K\(_{3}\)和K4的另一掷也互相连起来,并和第二组线圈的中间抽头5连接;K\(_{2}\)和K3的两个换向键连接,接通3和4,使两组线圈串联;K\(_{1}\)和K4的两个换向键作为交流输出端,连接到仪器面板上的交流输出接线柱上。
图1中面板上的四只并排开关,平时都扳向上方(在图2中是扳向右方),这时输出电压为零。如果要选择4V输出,那就只要把4V开关K\(_{2}\)扳下,其余三只开关仍向上方。同样,为选择8V输出,就只要扳下6V和2V两只开关,这时,电流只通过6V和2V这两个相应的线圈,其余依此类推。想要得到多少伏输出,就使扳下的开关对应的电压之和等于这个电压伏数。譬如想要得到18V输出,可以扳下12V和6V两只开关,也可以板下12V和4V、2V三只开关,这时,12V和6V的线圈或者12V、4V和2V的线圈就串联到输出电路里,其它的线圈里则没有电流流过。
本仪器实际采用双刀双掷钮子开关,每两刀并联起来,当作单刀双掷开关用,以增加开关的容许电流。
因为低压电源经常长时间连续使用,因此要求变压器使用高矽矽钢片。为保证变压器有较高的效率,空载电流(次级断开无负载时初级接到220V电源,在初级线圈里通过的电流)不应大于50毫安。初次级间应加静电隔离。
低压直流电源用四只2CZ5A/50V硅二极管,组成桥式整流电路并串联一只10A磁电式直流安培表,我们采用85C1型电表。
桥式整流电路每只整流二极管承受的最大反向电压为1.414V\(_{S}\),其中VS为变压器次级交流电压的有效值,本仪器选取反向击穿电压为50伏的二极管作整流管。桥式整流电路流过每只整流二极管的平均电流为0.5I\(_{O}\),其中IO为流过负载的直流脉动电流平均值,本仪器选择最大整流电流为5安的整流管。由于整流二极管实际上具有正向电阻,存在管压降,所以经过整流后的直流输出电压低于变压器次级电压。空载时,变压器输出的最大电压为26伏,经整流后的最大直流输出电压为24伏,桥式整流电路上的压降在2伏左右。满载时,桥式整流电路上的压降大约为3至4伏;在12伏以下,降压3伏左右;在12伏以上,降压4伏左右。
本仪器的直流电流表测出的电流是平均电流,所以当利用本仪器进行电热实验时测出的电流值,严格说来,是不准确的。但差别不大,一般说来,这种差别可不予考虑。
关于稳压电源,线路和原理跟本杂志1974年第5期“实验电源”一文所介绍的相同,这里就不赘述了。所不同的,稳压电源自身采用一组桥式整流电路,用四只2DP4组成。稳压管用五只2CW或2DW,通过一只单刀五掷波段开关来选择,它们稳定在3V、6V、9V、12V和15V,跟稳压管串联的限流电阻R应通过实验确定,使选取不同的稳压管并且当输出电流在0—500mA间变化时,流过R的电流在5—12mA间,以保证稳压管的正常工作,当采用2CW11、2CW13、2CW16、2CW19和2CW20时,R大约为50欧。使用时要注意的是当需要不同的输出电压时,应选取适当的输入交流电压,这靠扳动四只开关K\(_{1}\)、K2、K\(_{3}\)、K4来解决。输入交流电压的大小,大致等于输出稳压电压的二倍,即输出3V,可使输入交流电压为6V,输出6V、9V,可使输入交流相应为12V和18V,输出12V和15V,使输入交流为24V。
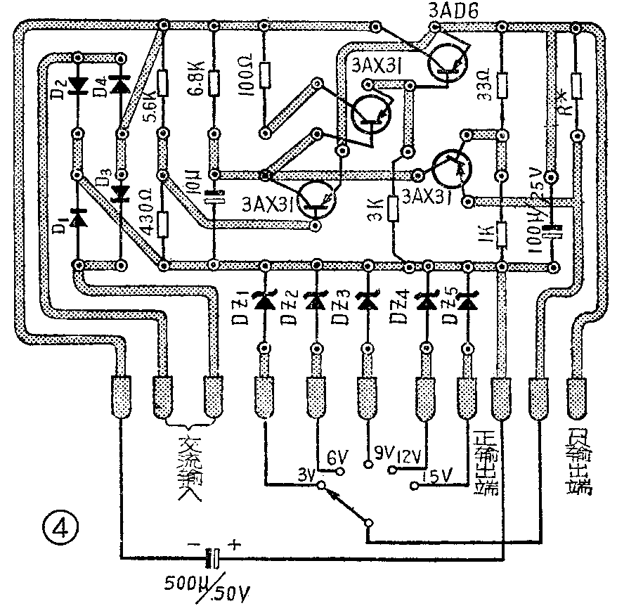
稳压部分采用印刷电路,如图4。500μ/50V电解电容体积较大,不焊在印刷电路板上,而另行放置在仪器底板上。3AD6晶体管要加散热片。

本仪器的三相电源是用单相交流电流经电感、电容裂相形成的。我们知道,在电阻电路里,电流与电压是同相的;在电感电路里,电流落后于电压90°;在电容电路里,电流超前于电压90°。根据这个原理,若把L、C接成图5a所示的电路,那么尽管L、C上加一相同电压,而L、C两个支路中流过的电流相位也是不同的,于是从A、B、C三端输出了裂相后的三相电流。如果把这三个电流分别供给三组线圈,那么就可以观测到,通过三组线圈的电流值不是同时达到最大值和最小值。而在时间上是有先后之差的,这个时间之差就反映了三个电流之间的相位差。若把这三个电流加到教学演示用的三相电机的三个线圈上(线圈可接成星形,也可接成三角形的,但线圈的空间相位应差120°),那么鼠笼就会沿着三个电流磁场的合成旋转磁场方向旋转。

图5a是我厂74年以前生产的JD-1型低压电源的裂相电路。图中电容器为10微法、耐压为250伏的交流金属膜铁壳密封电容器。电感线圈的电感量为1亨利,在舌宽24毫米、叠厚20毫米的矽钢片上,用直径为0.35毫米的漆包线绕1200匝,并且在对口的矽钢片间留1毫米左右的空隙(垫1毫米厚的绝缘纸片)。空隙的大小在测定电感量时进行调整,调到电感刚好等于1亨利时,固定电感铁心的相对位置。这样电容支路的容抗X\(_{C}\)与电感电路感抗XL基本相等,即X\(_{C}\)=XL=300欧,于是两个支路输出的电流大小相等。若L、C为纯电感、电容电路,则电感支路中的电流I\(_{L}\)→与电容支路中的电流IC→与支路电压V之间夹角应为90°,且大小相等、方向相反,如图5b所示。实际上L、C电路并非纯电感、电容,所以I\(_{C}\)→、IL→与V之间夹角应小于90°,因为V与A端的输出电流是同相的,所以从A、B、C三端输出三个不同相位的电流,如图5c所示。从图5可以看出,用220伏交流直接裂相,不太安全,而且三个电流之间的相位差也不太理想。
我们厂现在生产的JD-3型低压电源是用24伏低压交流电来裂相的。它的电原理如图6所示。因为变压器次级3、4两端连接后作为三相的中心线,所以1端与6端的电压相位相差180°,即A端与6端电压反相。我们知道,在L、C支路中,电流I\(_{L}\)→落后于6端电压V近90°,电流IC→超前于V近90°,而I\(_{A}\)→与V是反相的,所以,A、B、C三端输出的电流之间的相位差接近120°如图7所示,裂相结果比较理想。


图6中的电容为100微法110伏的CDJ交流电容器。电感量为0.1亨。这样X\(_{C}\)=XL≈33欧姆。为便于自制电感亦可用20—30欧姆、30瓦的线绕电阻代替。
两种裂相方法各有优缺点,前者直接从220伏市电裂相,可省掉一个变压器,但不安全;后者需用变压器,但安全,读者可根据需要与条件自己选择。
使用三相输出时,为使变压器两组次级线圈串联,应将4伏和6伏开关同时扳下。仪器中两组线圈连接后的引出线已接在面板三相指示灯下面的中心线插座上。
跟本仪器的三相电源配合使用的教学演示用三相电动机,三相线圈每组的直流电阻大约在20Ω到30Ω间最适宜,电阻过小,容易发热烧毁,电阻过大,鼠笼不易转动。(天津市四十二中学仪器厂)