在毛主席革命路线指引下,我们两单位的工人、干部和技术人员遵照毛主席关于“备战、备荒、为人民”的教导,深入调查研究,试制成JD—1型电导仪,适用于盐碱地土壤含盐量及地下水矿化度的测定。这种电导仪结构简单,携带轻便,适合野外使用。经过一个时期的试用,稳定性和灵敏度较好,受到广大贫下中农和农业技术人员的欢迎。现将该仪器的简单原理和使用方法介绍如下:
电路原理
测量原理见图1。RC相移振荡器的振荡频率为1.1千赫,振荡器的输出信号作为测量电源,用以测定溶液的电导,经过电压放大和整流后,用电表指示。

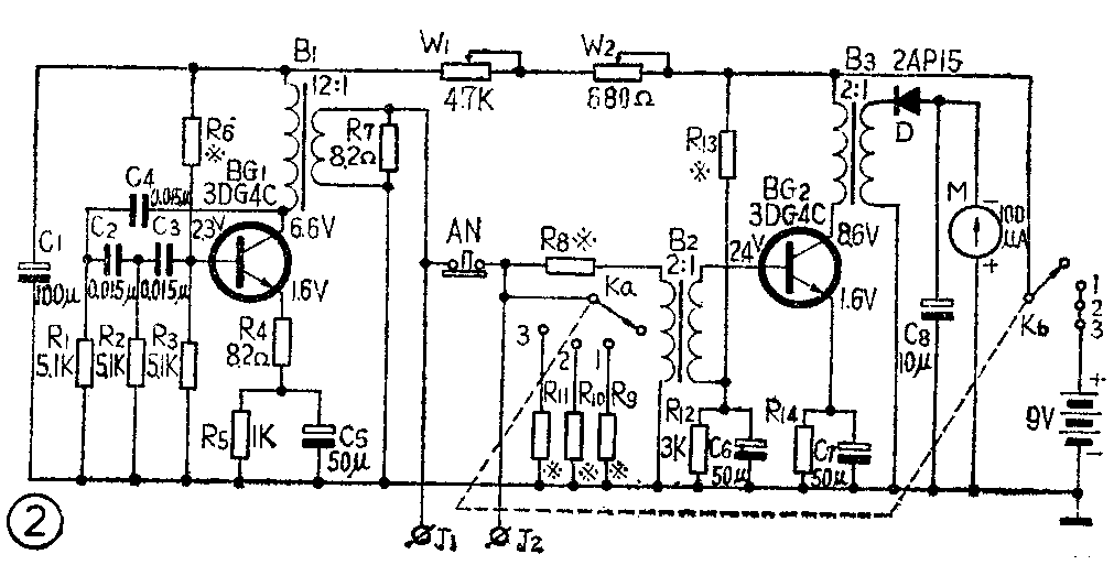
电导仪的电路见图2,左边部分为RC相移振荡器,右边部分为电压放大和整流。RC相移振荡是由晶体管BG\(_{1}\)和三节RC相移电路组成。单节RC相移电路如图3所示。设UR为电阻R两端的电压。U\(_{c}\)为电容C两端的电压,I为通过C、R电路中的电流,以电流I为参考,UR与I同相,U\(_{c}\)落后正I90°,合成电压U与UR相位差为60°是可能的,它们的矢量图如图4所示。三节RC可得到相移180°,再加上放大电路本身的180°相移,则反馈电压就和输入电压同相,正好满足产生振荡所要求的相位平衡条件。


因为一节RC电路的相移在0~90°之间,当相移90°时,输出幅度为0,所以至少要用三节RC相移电路才能满足相位平衡条件和振幅平衡条件。三节RC相移电路所产生的180°相移,也不是对任何频率都成立的,而只是对某一特定频率才能成立。因此,选择合适的RC元件的数值,我们就可以得到所需要的振荡频率,改变RC的值就能改变振荡频率。根据数学计算和实践证明:
振荡频率f≈\(\frac{1}{2π}\)\(\sqrt{6}\)RC
起振条件β≥45(β为晶体管的电流放大系数)在我们试制的仪器中,两管的β值均为50。
振荡器的输出变压器B\(_{1}\)和放大级输入、输出变压器B2\(_{3}\)的各项数据如图5所示。

主要技术性能和调整方法
1.主要技术性能:
①测量范围:
档位 R×10 R×10\(^{2}\) R×103
溶液浓度% 3-0.1 0.1-0.01 <0.01
②仪器工作时的环境温度:-5℃~+40℃(温度对盐溶液电导的影响,一般为温度每升高1℃,电导约增加2%)。
③仪器的灵敏度:标准溶液浓度每增加0.005%时,仪器电阻、电导的读数有明显的差别。
④测量频率:1100赫。
⑤仪器使用的电源:6F22型9伏积层电池。
⑥消耗电流:不大于6毫安。
⑦外形尺寸:19×12.5×6立方厘米。
⑧重量:0.65公斤。
2.调整方法
在图2中,W\(_{1}\)电位器为“粗调满度”,W2电位器为“细调满度”,是利用调整电源电压来控制振荡输出。R\(_{9}\)、R10、R\(_{11}\)为三档“量程选择”电阻,使不同浓度的溶液在电表上都能有明确的指示。AN为常闭合的按钮开关,当开关按下时,振荡输出信号即通过被测溶液至放大器。R6、R\(_{13}\)分别为BG1、BG\(_{2}\)的偏流电阻。
在调整BG\(_{1}\)、BG2工作点时,先不接R\(_{9}\)、R10、R\(_{11}\)三个电阻,W1、W\(_{2}\)电位器逆时针方向转到底。调整R6,使BG\(_{1}\)各极对地电压约为Uc1=6.6V、U\(_{b1}\)=2.3V、Ue1=1.6V。调整R\(_{13}\),使BG2各极对地电压U\(_{c2}\)=8.6V、Ub2=2.4V、U\(_{e2}\)=1.6V。
R\(_{3}\)的调整:它主要是使仪器处在环境温度-5℃~+40℃范围内,指针都能调到满度。把仪器放在+40℃的环境中,调整R3,转动粗细调旋钮W\(_{1}\)、W2,使表针能调到满度,然后把仪器放在-5℃的低温环境中,再转动W\(_{1}\)、W2,表针应能调到满度,如不能,可微动一下R\(_{3}\)使表针指到满度,把R3固定好,不再变动。根据我们的实践,把粗细调旋钮W\(_{1}\)、W2放在电阻最大位置(逆时针转到底),调整R\(_{3}\)使表针指在电阻15~20的位置上,就能达到在-5℃~+40℃范围内正常工作的要求(在室温20℃左右时调整)。
R\(_{9}\)、R10、R\(_{11}\)为三档量程电阻。调整这些电阻时,可用标准电阻箱代替被测溶液,接在接线柱J1、J\(_{2}\)上。先调第一档,在J1、J\(_{2}\)上接上100Ω阻值,调整R9使表针指在中心位置上,换上同值固定电阻。再把量程开关放到第二档位置,改接1KΩ阻值,调整R\(_{1}\)0使表针指在中心位置上,换上同值固定电阻。调整第三档时改接10KΩ阻值,调整R11,使表针指在中心位置上,换上同值固定电阻即可。在我们试制的仪器中,R\(_{8}\)、R9、R\(_{1}\)0、R11都用WH型微调合成炭膜电位器,调好后要把电位器固定好。
使用方法
使用前先绘制标准关系曲线,它是根据当地水、土的含盐化学组成比例制定的。例如河北沧州地区的盐类组成,主要为氯化物和硫酸盐。用1:1的分析纯氯化钠和硫酸钠盐类配制溶液(为了进一步符合当地的复杂盐分组成,也可以采用从该地具有代表性的水、土中直接提取的盐),将准备好的盐加纯蒸馏水,制成浓度为1100的原液1000毫升,再将此原液稀释为在0.01-0.05%内,每隔0.005%一个浓度;在0.05~0.1%内,每隔0.01%一个浓度;在0.1~0.5%内,每隔0.05%一个浓度;在0.5-1%内,每隔0.1%一个浓度。分别在温度10℃、20℃、30℃的条件下测定其电导。为了减小测量误差,在测定时仪器和溶液的温度要尽量接近。将测得结果在大格双对数纸上画出,纵座标为盐分浓度,横座标为电导值。再将所测结果按每档测定的同一温度点连接起来,可成为一直线。三个温度的三条直线接近平行。还可以把相邻两条平行线之间分成五等分,以便于在不同温度下测定时易于查找。按上述方法绘制的标准关系线如图6所示。考虑到不同的使用习惯,也可以用电阻或百分数为测定单位,用电阻时用双对数纸画线,用百分数时用半对数纸画线,结果都可以连成直线。

测定样品时,水样可以直接测,土样用天平称土20克,加水100毫升,振动三分钟,静置澄清后,即可测定。最后将查得的浓度乘以5(因水、土比为5:1),即相当于该土所含的盐量。
测定时,先将仪器的档位开关转到第一档,即可接通电源。测定千分之几浓度用一档,万分之几用二档,十万分之几用三档。接通电源等十几秒钟指针稳定后,调整粗、细调旋钮,使表针指示满度零位,即可进行测定。按下按钮,读出表针所指示的电导值,再测量一下该液体的温度。根据所测得的电导和温度两个数值,在标准关系线上查找,由横座标查出电导的数值,再由此点沿纵座标向上,查出与该液体温度相对应的直线上的一点,由此点沿横座标查到盐量浓度(%),即为所要测的含盐量。如果遇到含盐量过高的样品而测档不能测时,可用蒸馏水稀释含盐浓度,将测得结果再乘以稀释倍数即可。
本仪器是用260型铂黑电极,每测一样品之前要用该样品溶液少许洗涮电极,以防受上次测液的污染而影响读数的准确性。测试时必须把电极铂片全都浸没于测液中。(沧州市无线电元件厂 沧州地区农业科学研究所)