这是一种专为满足渔民收听广播需要而设计的渔业用七管三波段台式半导体收音机。电源电压为9伏,由六节一号电池串联取得。机内采用φ13O毫米8欧扬声器,并附有外接扬声器插孔,可以外接扬声器,与机内扬声器并联,同时放音。还装有外接天线插孔,可接入渔船长天线,以提高收音效能。为了适用于机帆渔船、农村和一般山区收听广播和气象预报,本机灵敏度、选择性等电性能指标设计得较高,输出功率较大,发音洪亮。整机结构也较牢固。
一、主要性能指标
1.频率范围:中波535~1605千赫;短波Ⅰ2~6兆赫;短波Ⅱ6~12兆赫。
2.灵敏度:中波不劣于1毫伏/米;短波不劣于100微伏。
3.选择性:偏调±10千赫衰减大于30分贝。
4.输出功率:额定输出大于500毫瓦,最大输出大于12瓦。
5.失真:200~400赫不大于10%;400~2000赫不大于7%。
6.假象波道衰减:中波不小于30分贝;短波不小于8分贝。
7.中频波道衰减:不小于14分贝。
二、电路原理及特点
全机电路图见图1。中波采用φ10×140毫米磁性天线或外接天线接收。短波Ⅰ、Ⅱ用外接天线接收。变频级采用共基调发振荡电路。这种电路较易起振,同时振荡频率也比较稳定。短波Ⅱ的本振频率是采用短波Ⅰ的二次谐波。这样两个短波波段合用一只振荡线圈,省去了一只振荡线圈,但是短波Ⅰ和短波Ⅱ的频率范围不同,覆盖不一致,为此在振荡回路采用更换垫整电容的方法加以解决,即在短波Ⅰ时回路垫整电容为C\(_{12}\)(1500微微法);当波段开关转换到短波Ⅱ时,垫整电容为C12与C\(_{15}\)(390微微法)串联,通过变换垫整电容来改变覆盖。相应地在输入回路短波Ⅱ处接入展宽电容C5(330微微法),以达到与振荡连同步的目的。

本机在收听短波时,通过波段开关的转换,将C\(_{13}\)与中波振荡线圈线成的串联回路,并接在变频管发射极回路上。由于该电路谐振于465千赫附近,从而降低了变频管对中频的电流反馈,提高了变频增益,相应地使短波段的整机灵敏度有所提高,起到短波提升作用。
考虑到渔场使用情况,保证有较好的选台能力,中放级采用电容耦合两级双调谐回路,这样就有良好的选择性。本机选择性30分贝的指标有较大的富裕量,同时有较高的中频增益。C\(_{2}\)0、C27为中放级的中和电容,用以消除晶体管极同电容正反馈而引起的中放级自激。在BG\(_{1}\)和BG2之间接有R\(_{7}\)和二极管D1作强信号抑制之用,从而增加了自动增益控制范围,其作用原理是:当外来信号强弱变化时,D\(_{1}\)的通导程度也随之变化,起到自动可变电阻的作用,而D1与R\(_{7}\)串联电路是并联在第一中放管回路上的,D1的电阻变化时就使该回路的Q值也随之变化,引起谐振阻抗的变化,控制变频级增益的大小。
检波级由D\(_{2}\)、C32和R\(_{15}\)、C33组成,其中D\(_{2}\)、C32、R\(_{15}\)由一屏蔽罩加以屏蔽,以防止中频啸叫,起到较好的作用。隔流电容器C34用来消除电位器产生的噪声。检波后的音频信号由耦合电容C\(_{35}\)送到BG4 进行前置放大。该级发射极电路串入电阻R\(_{21}\),起电流反馈作用。BG4 放大后的信号经C\(_{38}\)送到推动级BG5进行电压放大,以推动末级功率放大。R\(_{26}\)为反馈电阻。
末级采用耗散功率较大的3AX81作推挽放大。由于输出功率较大,一对3AX81B型晶体管加有散热片并借助底板大面积散热,以保证在输出功率较大情况下长时间连续工作。末级偏置电路中采用热敏电阻R\(_{3}\)0进行温度补偿,使功放级在环境温度变化时,工作电流保持稳定。微调电位器R33用来调整静态工作电流(整机静态工作电流为10~12毫安)。C\(_{42}\)、C43为功放管负反馈电容,用以提升低音。此外,输出变压器次级到BG\(_{5}\)基极接有反馈电阻R29,以改善音质和减小非线性失真。
C\(_{8}\)、R3,C\(_{31}\)、R17和C\(_{37}\)、R28、C\(_{4}\)0等元件组成退耦电路。
三、结构特点
机座采用底板式装配方法。除中频变压器、中放管BG\(_{2}\)、BG3和检波级D\(_{2}\)、C32、R\(_{15}\)装于一块印刷板上外,其他元件均采用装置板和线架形式装配。为了便于渔区和农村条件的检查维修,本机选用体积较大的元件。机座中变频及一、二中放和自动增益控制部分的元件大致安排在十四孔双层线架;前置低放电路元件安排在十三孔线架;推动级和功放偏置电路元件安排在十一孔线架。
考虑到海上使用时湿度较大,本机主要铁制零件都经过严格的涂复和防锈防腐等处理;中放电路印刷板涂有防水材料。机座与机箱的固定采用橡胶避震,双连与底座也有避震措施,以加强对高频机震的抑制。同时机箱有四个橡胶避震脚,以提高整机避震性能。
机箱木壳结构牢固表面覆有塑料板,可以耐腐蚀。
四、主要元件数据
1.中波磁性天线装置:输入线圈L\(_{2}\)初级用28×0.07毫米丝包线平顺绕56圈,电感量约为14.5微亨;次级基极线圈用0.12毫米丝包线平顺绕4圈(图2,甲)。磁棒另一端固定一小线圈为中波外接天线线圈L1,渔船上的长天线可接到这个线圈上,通过它将信号传到次级。该线圈由蜂房线圈(电感量约为200微亨)与4×0.08毫米的丝漆包线平绕10圈的线圈(电感量约2.2微亨)串联组成,如图2,乙。

2.短波Ⅰ输入线圈L\(_{3}\)(图3):初级采用φ0.19毫米漆包线平顺绕3312圈;次级用φ0.12毫米丝包线在初级线圈上平顺绕3圈,初、次级末端相隔约为3圈。初级电感量约为9.8微亨。

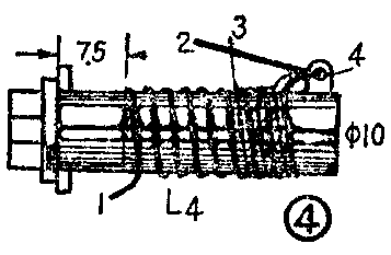
3.短波Ⅱ输入线圈L\(_{4}\)(图4):初级采用0.35毫米漆包线间绕(用带槽线圈管)1812圈;次级用φ0.12毫米丝包线在初级尾端匝间间绕2圈,初级电感量约为1.3微亨。

4.中波振荡线圈L\(_{5}\)(图5):振荡线圈部分用φ0.12毫米丝漆包线蜂房绕88圈,在始端第8圈处抽头②。振荡线圈①~③的电感量约为80微亨。反馈线圈用φ0.12毫米丝漆包线蜂房绕24圈。中波振荡电压约为80~150毫伏,可通过适当增减反馈线圈的圈数来调节振荡电压。

5.短波振荡线圈L\(_{6}\)(图6):振荡线圈用φ0.19毫米漆包线平顺绕40圈,在始端35圈处抽头②。振荡绕圈①~③的电感量约为6.8微亨。反馈线圈用φ0.12毫米丝漆包线在振荡线圈上平顺绕8圈。短波振荡电压100~180毫伏。

6.输入变压器:采用D42硅钢片,铁心截面积10×13毫米2。初级φ0.14毫米漆包线绕1200圈;次级φ0.13毫米漆包线绕2×400圈。
7.输出变压器:采用D42硅钢片,铁心截面积10×13毫米2。初级φ0.29毫米漆包线绕2×170圈;次级φ0.41毫米漆包线绕75圈。
8.中频变压器:双调谐中频变压器采用现成产品TTF—2—7型和TTF—2—8型;单调谐中频变压器采用TTF—2—9型产品。
五、其他说明
1.各级静态工作电流:变频级0.45~0.6毫安;第一中放级0.5~0.6毫安;第二中放级1~13毫安;前置级1.5~2毫安;推动级2.5~3.5毫安;功率放大级2毫安。
2.为了更好地满足广大工农兵的需要,本机在保持原电路及电性能不变的基础上作了些改进,新产品型号改为2J9—2型。改型后机心电路部分基本不变,而将中、短波振荡线圈改用大型线圈但参数不变。指针改为拉线式指针并改用新型磁性天线支架;外壳面板也作了改进,较原来的美观。扬声器改用125毫米×180毫米椭圆形扬声器,音质有所改善。(上海无线电二厂 )