这只外差式电视伴音接收器用了三只晶体三极管,二只晶体二极管,输出音频电压约100毫伏,在离电视台约五公里的地方,用一根长约一米的室内天线就能满意地收听。
电路结构和制作
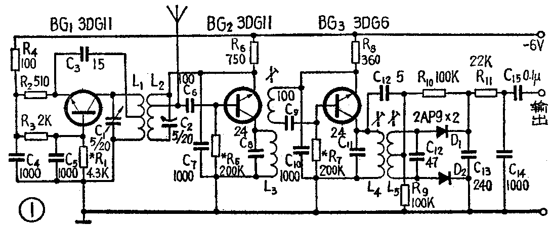
电路图见图1。BG\(_{1}\)与L1C\(_{1}\)组成共基电感三点式振荡器。BG2用作混频,振荡电压靠L\(_{1}\)与L2的互感耦合加到BG\(_{2}\)的基极,它与由天线来的电视伴音信号混频后产生10.7兆赫的中频信号。BG3用作中频放大。经放大后的中频信号送到后面的相位鉴频器,输出音频信号。

晶体三极管可用3DG11或其他特征频率较高的硅NPN小功率管。BG\(_{1}\)、BG2的特征频率(f\(_{T}\))最好大于300兆赫,BG3的f\(_{T}\)大于150兆赫,β大于30就可以了。BG1、BG\(_{2}\)、BG3的静态工作点可调节R\(_{1}\)、R5、R\(_{7}\)使分别为2mA,1mA,2mA。二极管D1、D\(_{2}\)可用2AP9或其他锗检波二极管。电路中所用线圈的绕制数据如下:当接收第五电视频道的伴音时,L1、L\(_{2}\)均用直径约1毫米的漆包线各间绕8圈,线圈总长都为15毫米,线圈外径均是10毫米。L1在4圈处抽头,L\(_{2}\)在2圈处抽头。L1与L\(_{2}\)同轴方向安放,两线圈相距15~20毫米。当收听1~4电视频道的伴音时,L1、L\(_{2}\)及C1、C\(_{2}\)要酌量增加。L3~L\(_{5}\)用直径0.1毫米左右的漆包线乱绕在电子管用465千赫的中周磁心架上,L3初级18圈,次级3圈,初级与次级紧贴在一起。L\(_{4}\)绕18圈,L5绕12圈,6圈抽头。L\(_{4}\)与L5平行放置,两线圈距离约2毫米。L\(_{3}\)与L4、L\(_{5}\)的距离最好大于40毫米,这样线圈不用屏蔽关系不大。实验时用电子管的465千赫中周磁心,经测量它们在10.7兆赫时Q值还在20以上,使用效果很好。但不能用半导体收音机用的小中周磁心、帽,因为它们在10.7兆赫时Q值很低。当然用高频磁心也完全可以。C1最好用空气绝缘式微调电容器,C\(_{2}\)可用瓷介小配定,C3、C\(_{4}\)、C5要用质量较好的云母或瓷介电容器,否则BG\(_{1}\)不易起振。安装时要注意应按线路图逐级一点接地。印刷电路板图见图4。

电路调试
调试时首先应使BG\(_{1}\)起振。将C1旋出到一半左右的位置,用万用表直流电压档按图2所示经一检波头去测量L\(_{1}\)中心抽头到地的电压,表上应指示2伏左右。如不起振可改变抽头位置及C3容量,改变接线或换一只三极管一试。L\(_{3}\)、L4、L\(_{5}\) 应调谐在10.7兆赫上。如无标准仪器,则可设法使它们谐振在同一频率上就行了。频率的绝对值差一些问题不大,但最好大于8兆赫,否则会对邻近的电视机产生干扰。另外也不宜太高,否则中放增益会变低。本电路虽没有用高放,试验证明只要中频选在10.7兆赫左右,即使电视机放在傍边也不会对收看产生干扰。如中放部分产生自激,可将L3初级二个头对调一下,或在L\(_{3}\)外加屏蔽罩。

中频调好后,接上天线,旋转C\(_{1}\),应有二个位置可听到电视伴音。此时的振荡频率,对第五频道的电视伴音来说,分别为91.75+10.7兆赫和91.75-10.7兆赫、可选用声音大的一个位量。转动天线位置及反复调整C2、L\(_{3}\)、L4、L\(_{5}\)的调谐磁心,使音量最大,音质最好。
音频输出可直接接到电子管收音机、晶体管高传真扩音机的低放级,因为它们的输入阻抗均为几百千欧以上。若接到一般半导体收音机的低放级,则应按图3加接一级射极跟随器。BG\(_{4}\)可选用任何锗低频小功率管,要求放大倍数(β)大一些,穿透电流Iceo小一些。调节R\(_{12}\)使其发射极电压为-2伏左右。R13是收音机上的音量控制电位器,此时须将收音机检波输出接电位器的一端断开。

(注:图1中C\(_{12}\)5应为C165,图2C\(_{16}\)应为C17)(梅香)