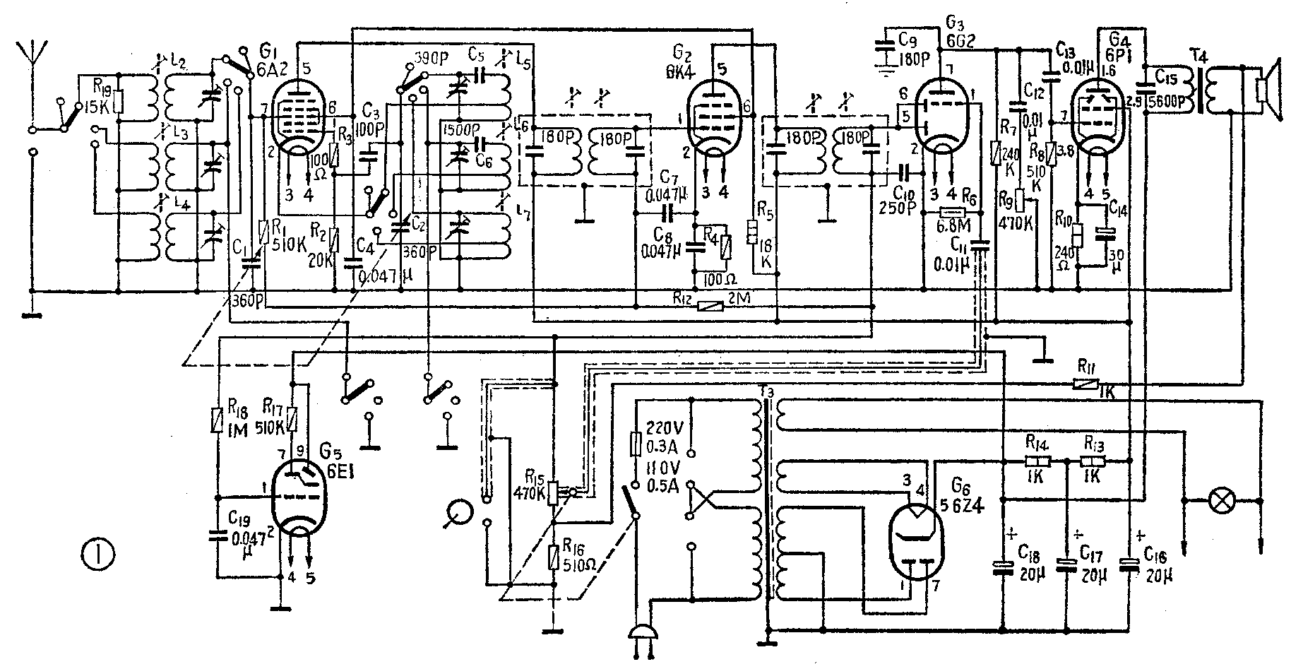
我们以普通六灯电子管收音机(图1)为例,比较系统地谈谈电子管收音机故障的检修方法,供同志们参考。

一、几种检查方法
1.直观检查法:观察收音机的外表现象,粗略判断故障所在。例如看到电子管的灯丝时亮时灭,就可判断这是造成收音机放音时有时无故障的原因之一;整流管屏极发红,表明整流管或整流电路有故障。此外,有些故障还可以用耳听、手摸、鼻子嗅闻的方法进行观察。例如金属壳电子管几分钟后仍然不热,就说明这个管子的灯丝断,或灯丝电路开路。如嗅到有焦糊味,可以断定是变压器或电阻、管座等有短路,被大电流烧焦。对一个有故障的收音机最好先进行上述直观检查,然后由表及里,进一步检查发现故障所在。

2.感应法和短路噪声检查法。感应检查法是手握改锥把,中指贴靠改锥金属杆(图2),将改锥接触被检查的低频放大管栅极。此时人体中感应的微弱低频电压将被放大器放大,从扬声器发出“嘟嘟”的声音,其频率为40~100赫。这说明放大器工作正常。如果将改锥点碰中频级或变频级的输入栅极,扬声器发出“咯咯”的声音,也说明中频放大或变频以后各级工作正常。这种方法使用习惯了,还能大致判断出放大器的放大能力如何。

短路噪声检查法,就是用改锥金属杆先后将各级放大器的输入端与公共地端短路几下,工作正常的放大器就能将这种因短路引起的噪声放大输出。这种方法可用来检查音量小的故障。
3.电压检查法:收音机能够正常工作,重要条件之一是各级电路加有正常工作电压。收音机无声、音轻、失真等许多故障都与工作电压是否正常有关。电压检查主要是用万用表适当量程测量各级电子管的屏极、帘栅极和阴极对公共地端的直流电压以及灯丝两端的交流电压。有必要时也可测量负栅偏压及变频级的振荡电压等。表1列出六管机电路各部分的电压数值,以作参考。
4.应急检查法:例如要检查电子管各极有无电压,也可采取直接打火或间接打火法。后者是利用一个8~16微法(耐压450伏)的大容量电容器,并接在要测电压的一点与公共地线之间(负端接地),如发出放电火花表明电路被测点有电压。这种方法可用于检查高电压,例如整流电路各处直流电压、功放管屏压和帘栅压等。直接打火法是将要查电路点与地端直接短路,此法一般用于检查电压放大级、中放级和变频级电路的屏极电压、帘栅压和阴极电压。从这两种打火法产生的火花大小和有无火花,可大致估计电路的电压情况,从而帮助判断出故障所在。
5.信号检查法:对收音机频率失谐、发音失真等故障用此法检查效果显著。方法是将高频(或音频)信号发生器发出的信号送进高频(或音频)电路,经放大后将有更大信号输出。如没有信号输出,则表明该级电路有故障。图3是检查时电路连接方法。

下面我们将按照各种故障的现象逐项分析故障的原因和检修方法。
一、无声和无电台信号
故障现象一:开启电源后音量电位器置于最大时,扬声器里没有任何声音。
检查方法:无声故障比较常见,原因也很多,例如电源电路断路,扬声器引线断或某处电阻等元件断路、电子管灯丝烧断、元件误碰形成短路及开关接触不良等等。因此,检查时,首先应排除明显的接触不良之处,然后逐级检查,逐步缩小故障范围。
首先从电源整流电路查起。这部分引起无声故障可按下述几种情况检查:
1.接通电源后,整机的全部电子管灯丝和指示灯都不亮。这表明电源部分有故障,可以检查电源插头、电源线、保险丝、电源开关和有关的接线有无开路的地方;检查电源变压器初级线圈有无断路。
2.仅有整流管亮,其余各管都不亮。一般不可能全部电子管都损坏,多半是由于供给各管灯丝和指示灯的低压6.3伏供电电路中有短路或开路造成的。可以先接通电源一、二分钟后用手摸一下电源变压器的线包,如感觉到有明显的温度上升,这是低压6.3伏电路中有短路。可顺灯丝电路观察一下,有无短路之处。如看不出毛病,则进一步断开电源变压器这一组6.3伏线圈的一端,用万用表测量它的电压,如有电压输出,故障必定还在灯丝电路中,可顺序分段将各电子管灯丝输入引线断开检查短路处,除灯丝连接线或管座会短路外,还要注意电子管内有否短路。如果将次级6.3伏线圈断开后无电压输出且线包发热,就可断定这个线圈内部有了短路。
如有6.3伏电压输出,线包也不发热,则要检查灯丝电源输出端有无开路之处,引出端子有时会有焊接不良现象,可重焊一下。
3.整流管灯丝不亮,其他电子管亮。这多半是由于整流管灯丝烧断,或管脚与管座接触不良;另外也可能是由于整流直流高压输出电路中有短路,造成整流管屏极与阴极间直接短路从而烧断整流管阴极和灯丝。要注意,如是整流管损坏,必须在排除整流电路中的短路故障后,才能插换新整流管,否则将继续烧坏新管。
检查时,先看整流管灯丝两端是否加有电压,这是由另一组6.3伏线圈供给的,检查方法同上。然后检查直流乙电电路中的短路,可用R×10或R×100档测量滤波电容器C18两端的阻值。如阻值很小,说明有短路,使乙电送不出。此时可进一步将C\(_{18}\)的“+”端与电路断开,再复查整流管阴极对地的电阻,如无短路而量C18已击穿短路,就可换上同容量或大些的新电容器解决。如果C\(_{18}\)断开后短路仍存在,就要继续检查短路之处。
4.整机电子管全部正常发亮,但无声。这时可用万用表测量乙电输出电压或观察调谐指示管(电眼)是否发绿光。如量不到电压或没有绿光,可检查R\(_{14}\)、R13是否开路,C\(_{16}\)、C17是否短路,如整流管温度极高说明整流管或直流输出电路中有短路故障;如外壳仅感觉有微温,这是灯丝加热温度,表明整流管没有处于整流状态。这时可测量加到整流管的交流高压是否正常,并检查整流管阴极是否烧断。如无交流高压,可能是电源变压器次级高压线圈中心头引线开焊。有些收音机采取高压中心头接偏压分流电阻的电路,还应检查偏压电阻是否开路。还有的老式收音机用扬声器励磁线圈作滤波扼流圈的,则应检查励磁线圈是否开路或短路。
接通电源后,各电子管灯丝正常发亮,调谐指示管发绿光,或用表能量出乙电电压,说明电源整流电路工作正常,那就要进一步检查功放级。一般功放级在加有电压时,扬声器中必定有一些交流声,一点声音没有,就应重点检查输出变压器初、次级是否开路,扬声器音圈是否开路?
故障现象二:开启电源后,音量电位器调到最大位置,扬声器没有广播信号,但有较弱的“嗡嗡”声。
检查方法:既然有嗡嗡声,可以断定整流器有直流乙电压输出,也说明功放级和扬声器能工作,那么故障可能出在低放部分。可按前述方法将改锥点触拾音器插口。低频放大电路工作正常时应有强烈的“嘟嘟”感应声从扬声器里发出。否则就应继续检查电压放大管的灯丝是否正常;放大管与插座的接触是否良好;然后检查电子管各极电压。一般较易损坏的元件有:①电压放大管G\(_{3}\)失效;②电阻R7变值,或断路;③耦合电容器C\(_{13}\)断路;④耦合电容器C11断路。
一般对电子管好坏的判断,可以在测量屏极电压时,将输入栅极对地端短路(阴极有自偏压电阻的电路,短路阴极也可以),此时正常的电子管由于栅偏压下降,屏极电流必然大增而所测屏极电压就会下降,这说明管子正常;如所测电压变动不明显或无变动,说明电子管阴极已失去放射电子的能力,可换一只新管子试试。
故障现象三:开启收音机电源,音量置于最大,调动双连可变电容器无广播信号但有强烈的交流感应声,当音量关小时,感应声减小。
检查方法:这种现象说明低频放大器已在工作,可继续寻找高、中频部分。先用改锥将中放管G\(_{2}\)的输入栅极与机壳作连续几次短路,检查放大器能否放大这种接触噪声:正常的放大器应有较强的“咯咯”声;如果没有,表明故障出在检波或中放电路部分。一般最容易发生的故障有:①电子管G3的检波部分失效;②输出级中频变压器次级断路;②中放管G\(_{2}\)衰老;③R5断路或C\(_{4}\)短路,使中放管帘栅极无电压;④中放阴极自偏压电阻R4断路;⑤输出级中频变压器初级断路,使中放管无屏压。
如查得从中频级输入信号,在终端扬声器里有明显的输出信号,说明故障是在前面变频电路中。可如前述将双连电容器C\(_{1}\)和C2的定片与地端短路接触几次,检查变频电路是否工作,如扬声器中听到“喀喀声”说明在工作。最后可用同样方法在输入天线插口或尾线端试验,检查输入回路是否工作。一般常见的故障有:①变频管G\(_{1}\)失效,阴极放射能力消失或本机振荡停振;②输入回路次级线圈开路;③波段开关接触不良;④可变双连电容器碰片,或定片与接地螺钉相碰使输入信号短路。(未完待续)(工人技术员 毛瑞年)