在我国电视广播事业迅速发展的大好形势下,遵照毛主席关于“自力更生”、“艰苦奋斗”的教导,我校与北京西城区二龙路皮毛厂协作,试制了一种综合型混合式九寸电视机。其特点是可以接收第二、第八两个频道,制作较简单、成本较低,可作为无线电爱好者自制电视机的参考。
一、电路简介
本机线路是在昆仑牌J201与北京牌825—2型电视机线路的基础上加以简化、综合而成。考虑到制作简单、性能稳定与耗电省、体积小两个方面,同步与扫描部分采用电子管,而其它部分采用晶体管。图1是本机的电原理图(见封三)。

1.高频头
高频头包括输入回路、高放(BG\(_{1}\))、本机振荡(BG2)和混频电路(BG\(_{3}\))。它的作用是把电视载频信号放大后再变为中频信号。
本机天线输入阻抗为75欧,它是通过电感(L\(_{1}\))抽头、电容(C2、C\(_{3}\))分压的方法与BG1的输入阻抗相匹配。输入电视信号可通过电位器(W\(_{1}\))分压衰减。输入回路调谐在电视载频信号的中心频率。高放和混频级是共发射极电路,其中高放(BG1)的集电极负载(L\(_{2}\)、C5、C\(_{7}\))与混频管(BG3)的基极输入回路(L\(_{3}\)、C8、C\(_{9}\))分别调谐在图象载频和伴音载频上(调谐回路还应包括晶体管本身的输入和输出电容。本文叙述中,都不另提这一点了)。混频管的集电极负载(B1、C\(_{15}\)、C16)调谐在中频(31.5兆赫)。本振电路是共基极的电容三点式振荡电路,由C\(_{11}\)、C12、C\(_{13}\)、C113、C\(_{114}\)、L4构成。本振频率采用晶体管收音机短波微调电容进行微调(C\(_{12}\));频道转换开关采用晶体管收音机小型六刀双掷波段开关(KB型)。本振电压与经过放大后的电视载频信号送入混频管的基极,差频后产生中频信号,并经混频级放大后输出。
2.图象通道
图象通道包括中频放大(BG\(_{4}\)-6)、视频检波(D1)、视频放大(BG\(_{7}\)、BG8)和自动增益控制电路(BG\(_{9}\))。它的作用是将电视中频信号放大,经检波变为视频信号(同时产生6.5兆赫的伴音第二中频信号送至伴音中放),再经视频放大后推动显象管显示图象,并将同步信号送至同步分离级(G5)。
图象中频放大采用三级参差调谐,一、二、三级分别调谐在33.5兆赫(B\(_{4}\)、C25)、29.5兆赫(B\(_{5}\)、C29)、31.5兆赫(B\(_{6}\)、C36),其调谐回路中的Q值调整电阻(R'\(_{1}\)-3)在调试时选配。
图象中放前有两个吸收回路,C\(_{1}\)2构成27.75兆赫的伴音中频吸收回路,C\(_{19}\)3构成35.75兆赫的邻近低频道伴音中频吸收回路。
视频检波回路用晶体管收音机的中周罩(12×12)加以屏蔽,防止高次谐波辐射。
视频放大采用了隔离级(BG\(_{7}\))和视频输出级(BG8)两级。在第一级的发射极与第二级的基极间有一6.5兆赫吸收回路(C\(_{45}\)8),防止伴音中频干扰图象。第一级对于视频信号是射极输出器,它使视频输出级的低输入阻抗不致影响检波效率和产生失真,同时它对于伴音第二中频又相当于一级中放。第二级是共发射极电路,可输出50伏(峰—峰值)左右的视频信号。为了保证清晰度,集电极负载上有两个高频补偿线圈(L\(_{9}\)、L10)。对比度的调整是通过电位器W\(_{2}\)改变交流负反馈量实现的。
本机采用了抗干扰能力强的键控式正向自动增益控制电路(AGC),用以控制中放第一、二级,控制增益范围约40分贝。
3.伴音通道
伴音通道包括伴音中频放大级(BG\(_{1}\)0)、放大兼限幅级(BG11)、调频检波器(D\(_{5}\)、D6)和音频放大器(BG\(_{12-16}\))。其中B9、C\(_{56}\)10、C\(_{6}\)011、C\(_{61}\)都调谐在6.5兆赫左右。调频检波器采用了不对称式比例鉴频器,有限幅作用。低放采用了无输入输出变压器电路,音质较好。
4.同步与扫描
同步包括同步幅度分离级(G\(_{5}\))、限幅放大级(G6)、频率分离电路(微、积分电路)以及惰性抗干扰行同步电路(D\(_{8}\)、D9)。
帧扫描电路包括帧振荡级(G\(_{7}\))和帧输出级(G8)。其中帧振荡采用了间歇振荡器,帧输出是带线性补偿的低频小功率放大电路。
行扫描电路包括行振荡级(G\(_{1}\))、行输出级(G2、G\(_{3}\))以及高压整流电路(G4)。行振荡是阴极耦合多谐振荡器,为了使同步稳定,采用了稳频线圈(L\(_{11}\))。行输出是典型的电源反馈二极管阻尼式电路。行扫描逆程的高压正向脉冲经升压整流后供给显象管所需的9千伏高压。显象管的加速极电压(400V)和聚焦极电压(0~300V)都是通过提升电压分压后供给的。
二、结构和线路板
电视机的结构和线路板设计不合理就不能得到良好的接收效果,为此应注意以下几个问题。
1.高频问题:主要是高频头和中放通道。如果线路板设计不合理、布线不当、接地或屏蔽不良以及线圈绕制方向不对,容易引起自激振荡。为了防止高频自激,设计印刷板时要注意防止集电极、基极间的反馈和级间的反馈,屏蔽要良好,地线要粗,地线接铁底板要可靠。
2.高压问题:主要是行输出高压部分,如果布局不当或绝缘不良,容易引起放电打火。为了防止高压打火,首先是行输出变压器、偏转线圈等元件的制作要符合要求,同时行输出变压器与铁底板、电解电容器、偏转线圈、显象管高压嘴之间的距离要够大(大于10毫米)。
3.干扰问题:如果布局不当就可能引起伴音、扫描和图象三部分的相互干扰。这里特别要注意喇叭和变压器的布局与屏蔽,高频头和通道板的屏蔽,行、帧扫描电路之间要远离。
4.散热问题:由于本机采用了混合式电路,而晶体管的温度稳定性又较差,所以散热问题对于接收质量影响极大。这里特别要注意防止电源变压器和扫描电路发热对高频头和通道的影响。
现将本机的结构与线路板设计简介如下,仅供参考。图2、3、4分别是本机的高频头、通道和扫描与电源线路印刷板图。其中高频头和通道所用的印刷板高频特性要好(例如玻璃纤维的印刷板)。电源与扫描部分也可用铁底板,布局可参考图5,但要特别注意行输出变压器磁心与铁底板之间的绝缘。



图5是本机的结构与布局图。高频头、通道板及变压器都放在铁底板下,其间用铁板屏蔽,扫描与电源板用铁支架垂直固定在显象管的后面。将变压器屏蔽在铁底板下可以削弱它的电磁干扰(它对同步与扫描电路、光栅的聚焦与畸变以及伴音等都有影响)。将扫描与电源印刷板固定在铁底板之上便于散热;同时行、帧扫描电路之间远离,并用电解电容器隔开,也可减少相互干扰。通道和高频头放在铁底板了,既有利于散热,也可防止各种干扰和高频自激。通道板离对比度电位器W\(_{2}\)、音量电位器W3很近,高频头离天线插口和通道板上的中放输入点也很近,这些都有利于提高图象和伴音的质量。

三、线圈、变压器的制作
1.电源、帧振荡和帧输出变压器的数据和工艺要求列于表Ⅰ。

如果没有表Ⅰ中所列的铁心,也可用截面积相近的铁心代替,例如帧输出变压器可以用25W线间变压器或三灯机的灯丝变压器改绕,帧振荡变压器可用6p1输出变压器改绕。绕制后铁心一定要插紧;通电测量各组交流电压,误差应在±10%以内,不应有显著的温升和叫声。然后浸漆、烘干,用摇表测量绝缘强度。
2.高放和本振线圈的数据和工艺要求列于表Ⅱ。

我们是用φ3.5毫米的钻头作为绕制线圈的胎具,绕后脱胎。L\(_{2}\)和L3之所以要反向绕制,目的是防止本振干扰。当所用晶体管参数不同时,线圈的圈数还可能要略加变动,这在高频道(彩色台)比较明显。另外,L\(_{2}\)与L3的耦合方式对于1~5频道采用一般耦合(L\(_{2}\)与L3并排放置);第8频道要采用紧耦合(L\(_{2}\)与L3同轴紧靠或双线并绕),否则增益低。
3.混频、图象中放、伴音中放和吸收回路线圈的数据和工艺要求列于表Ⅲ。

这里全部是用晶体管收音机短振改绕的,其工艺可参照短振的绕制工艺。特别要注意防止磁帽与线圈相碰、屏蔽罩与线圈短路。另外绕制的方向、顺序和起始点必须注意,否则可能影响通道的频率特性和引起高频自激。
4.视放、补偿线圈和其它高频电感线圈的数据和工艺要求列于表Ⅳ。

5.稳频线圈L\(_{11}\)
骨架尺寸如图6,采用M6×12的锰锌铁氧体磁心调谐,为了防止松动应加橡皮筋。用φ0.15毫米的漆包线密排绕3000圈。内外层绝缘均用一层黄蜡绸。如没有这种骨架,也可用钢纸卷一个纸筒代替,调谐好后,用蜡封住。

6.行输出变压器T\(_{2}\)
(1)磁心:MXO-2000、U-12、U形磁心。
(2)骨架:用电工穿线塑料管和玻璃纤维板自制。尺寸如图7。

(3)高、低压包数据见图8。

(4)主要工艺要求:
①高低压包均采用多层平绕,层间以0.05毫米聚酯薄膜一层绝缘(黄蜡绸和聚氯乙烯食品袋也勉强可用)。低压包绕线距档板大于3毫米。高压包绕线宽度小于5毫米。
②绕制顺序:1→8,9→10。低压包外层引线8与高压包内层引线9相连,切勿相反。
③磁心、高压整流管及引线焊接点间的相对位置必须十分注意,防止产生高压打火。图9和图10分别给出了本机行输出变压器上盖板和高压整流管支架的尺寸。

7.偏转线圈
(1)帧偏转线圈L\(_{13}\)
①磁心:MXO-2000喇叭形铁氧体偏转磁心。
②数据:用φ0.25毫米的漆包线在每个半环上各绕500圈。
③绕法:将磁环电割开后,在每个半环上,裹上一层0.05×5黄蜡绸带,再用漆包线分层密排绕成梯形橄榄状线包。第一层绕80~85匝,以后每层减少7匝,约共绕8~9层。绕完后,在外面再裹一层黄蜡绸带。两只帧偏转线圈的绕向相同,其始端与始端相接作为中点。
(2)行偏转线圈L\(_{12}\)为90度偏转角的马鞍形线圈(参阅本刊上期刊登“编转系统”一文)。
①数据:用QZφ0.35毫米漆包线,每只线圈绕160匝,绕2只。
②绕法:一般是用马鞍形偏转线圈模具绕制。两只行偏转线圈也同向绕,但末端与末端相接作为中点(这样连接不易产生高压打火)。如无模具,也可以自制模板,土法绕制,从内往外分五层,每层的圈数分别是:7、21、35、45、52。绕完后,将模板从绕线机上取下,平放在桌面上,先把上面一块模板打开(注意此时不要拔下大头针),用胶布条逐层分段将每把线匝绑扎固定,以免松散。然后从模板上取下线圈,细致地进行整形,整形后的行偏转线圈形状如图11。

(3)组装
①在行偏转线圈外包一层厚度为0.05毫米的聚酯薄膜(黄蜡绸也可),使两只行偏转线圈隔开,并与帧偏转线圈和磁环之间也隔开。
②偏转磁环用铜片做的圆环紧固,使两半环之间不能有间隙,否则会降低偏转效率。
③引线必须加套管,并不许相碰。然后,分别焊在接线架上。
四、制作中的几个问题
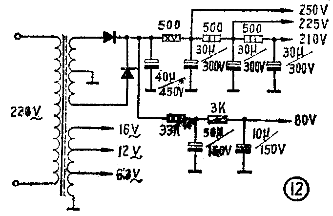
1.关于电源:
如果没有条件自制电源变压器,也可用两个四灯或五灯电子管收音机电源代替,其电路如图12所示。其中两组6.3伏灯丝并联运行;16.3伏由剩余的灯丝绕组串联在6.3伏上供给;+250伏高压由桥式整流改为全波整流;视放输出级供电电压采用电阻降压的办法直接从高压引出。也可以如图13所示,在行输出变压器低压包内层加绕一组线圈(用QZφ0.15毫米漆包线绕22圈),引出行逆程正脉冲加以整流滤波后使用。


2.关于自动增益控制:
为了简化,也可不用自动增益控制电路,而改为手动增益控制电路,这样调整比较简单。方法(如图14)是将R\(_{39}\)用电阻R和电位器W串联代替,并把自动增益控制电路从R42、R\(_{47}\)两处断开。调整电位器W即可控制中放增益。
3.关于高频头:
高频头的结构请参看图2和图15。

这里频道转换开关与高频头印刷板之间是用M3螺钉固定的,方法是用薄铁片自制一个卡子,或者直接将螺钉焊在波段开关两侧。本振微调电容C\(_{12}\)用的是晶体管收音机的短波微调电容,要自制一L形支架,用M3螺钉固定在印刷板上。输入回路与高放、本振线圈之间要用薄铜片隔离屏蔽。请注意,波段开关的各刀焊接点穿过印刷板中部的矩形孔,露在铜箔板的一侧,各组空心线圈和连结导线(虚线所示)都在带铜箔的这一面。
为了防止高频自激,地线要用粗铜线使高频头的地线与铁底板良好接触;元件的焊接腿要尽量短,三极管采用卧式焊接,电容的极性要焊对,同时必须保证焊接质量。高频头与天线、中放电路之间最好用75欧同轴电缆连接。
4.关于通道板
图象中放的调谐电容C\(_{25}\)、C29、C\(_{36}\)的数值,因为晶体管参数和磁心质量不同也要略加变动,其调整范围分别在15~25微微法(C25)、10~15微微法(C\(_{29}\))、5~10微微法(C36)。整个通道板用合页和M3螺钉固定在铁底板上,以便检修。对比度电位器与通道板之间最好用同轴电缆连接;视放输出至显象管阴极的连线不可用屏蔽线,并且要单独走线,不能捆扎,以免造成视频信号的高频衰减。
5.关于元件的选择
在实际制作过程中,若碰到电路中的元件一时买不到,有哪些代用的办法呢?对这个问题我们大略地指出一些原则,供大家参考。
图中所标电阻和电位器的阻值一般都不必很准,但也不可偏差太大,瓦数一定要够。电容所标的耐压一定要够(例如旁路电容0.047微法用得很多,原则上由1000微微法—0.047微法都可以),而调谐回路和振荡回路中决定频率的电容数值则要求较准(例如高频头、图象中放和行、帧扫描振荡器中的某些电容),高频头和图象中放所用的电容还应注意它的频率特性。
二极管、三极管的反压一定要够,特别是视放管(BG\(_{8}\))的BVceo要大于60伏,否则容易击穿;β和f\(_{T}\)要够,否则增益不足,特别是高放管BG1的f\(_{T}\)最好大于700兆赫,否则高频道的灵敏度就不够。图1中所用的晶体管都可用特性相近的晶体管代替。晶体管的代用列于表Ⅴ,供参考。关于本机调整,将在本刊下期介绍。(北京师范学院物理系无线电教研室)
