工业生产中有许多产品(如铸件、塑料制品等)的生产过程,都须按规定时间间隔有次序地进行。对于这类以一定工序、时序进行的生产过程实现自动化,通常采用时间程序控制电路。简易的时间程控器,可用单稳态触发器(简称单稳电路)来组成。本文着重讲一讲单稳态触发器的工作原理和它在简易时间程序控制方面的应用。
单稳态触发器的工作原理
单稳态触发器的典型电路见图1。从图1可以看到:电源-E\(_{B}\)通过RB1加在BG\(_{1}\)的基极上,合理选择RB1、R\(_{K1}\)使BG1基极电位负于发射极电位,BG\(_{1}\)处于截止状态;而BG2的基极通过电阻R\(_{B2}\)接至电源+EC,BG\(_{2}\)处于饱和状态。只要不外加触发信号,电路就一直维持在BG1截止、BG\(_{2}\)饱和这个状态,这是一个稳定状态。如果将一个负的触发脉冲加到BG2基极,电路就会从这个稳定状态翻转到另一个暂时稳定状态,只要负脉冲的幅度与宽度都足够大,电路就会按下述正反馈过程循环进行,即:


这样,BG\(_{2}\)电流由大变小,BG1电流则由小变大,直至BG\(_{1}\)饱和,BG2截止,这就是电路的翻转过程。可见,在一定触发条件下,二个晶体管的工作状态都朝着与原来相反的方面转化。然而,这种BG\(_{1}\)饱和,BG2截止状态不能持久维持下去,是一种“暂稳状态”。这是由于电容器C\(_{B}\)的充放电在起作用:在稳态时,BG1截止,V\(_{C1}\)≈+EC;BG\(_{2}\)饱和,Vb2≈0。这样,电容器C\(_{B}\)右端电位接近于零,而左端为+EC,两端的电位差接近+E\(_{C}\)数值。在翻转时,由于过程进行得极为迅速,几乎瞬时完成,电容器两端的电压又不能突变,因此在暂稳态开始瞬间,BG1导通,其集电极电位V\(_{C1}\)立即从+EC下降且接近于零,这个突然变化将通过电容器C\(_{B}\)耦合到BG2基极,使BG\(_{2}\)的基极电位从零下降一个EC的数值。这是因为在此瞬间C\(_{B}\)两端维持原来的电位差,即右端的电位应比左端的电位低一个EC值,既然C\(_{B}\)左端的电位变为零伏,与CB右端连接的BG\(_{2}\)基极的电位便成为-EC,这个负的电位保证了BG\(_{2}\)的暂时截止。随着电容器CB通过+E\(_{C}\)、RB2和BG\(_{1}\)这样一条回路放电,CB右端电位逐渐回升,如果不考虑晶体管等影响,C\(_{B}\)放电结束后,电源+EC还要通过R\(_{B2}\)对CB反向充电,C\(_{B}\)的放电规律如图2b所示,CB右端的电位一直要趋向+E\(_{C}\)。但是,当电位转向正值时,BG2就要由截止转向导通,单稳电路重新回到BG\(_{1}\)截止、BG2饱和这样一个稳定状态。此时BG\(_{2}\)的部分基极电流通过RC1和电源+E\(_{C}\)向CB充电,使电容器右端恢复到零电位,而左端恢复到+E\(_{C}\),为下次工作准备条件。这段时间称为恢复时间,约需3~5CBR\(_{C1}\)。
综上所述,单稳态触发器只有一个稳定状态,另外有一个暂稳状态。当外加触发脉冲时,电路从稳定状态翻转到暂稳状态,经过一段时间以后,电路会自动地翻转,由暂稳状态返回稳定状态。整个工作过程中各点电位变化如图2所示。

脉冲宽度与定时长的单稳电路
单稳电路从稳定状态翻转到暂稳状态,再由暂稳状态返回到稳定状态,这两次转化的根本原因,都不是在电路的外部而是在电路的内部,在于电路内部的矛盾性。电路中电容器C\(_{B}\)的充电和放电这对矛盾是单稳电路的运动形式的基础。我们知道,随着CB的放电,改变着截止管BG\(_{2}\)基极的电位,可见暂稳态的维持时间是由CB通过R\(_{B2}\)的放电时间决定的。因此电容器CB的放电过程是充电和放电这对矛盾的矛盾主要方面。根据放电规律,暂稳态的维持时间T\(_{暂}\)与RB2、C\(_{B}\)的关系可近似用下式表示:
T\(_{暂}\)≈0.7RB2·C\(_{B}\)
T\(_{暂}\)也即单稳电路输出脉冲的宽度,据此我们可以利用改变RB2或C\(_{B}\)的数值来调节输出脉冲宽度。
R\(_{B2}\)的数值通常是根据BG2管饱和时所需的基极电流来确定的(R\(_{B2}\)<β2R\(_{C2}\)),其阻值的增大受到一定限制,一般不超过几十千欧,RB2过大则BG\(_{2}\)的基极电流过小,不能饱和,电路也易受干扰而误动作。电容器CB的容量也不能任意加大,不宜超过几百微法。容量过大,不仅体积大,而且漏电严重,影响延时准确性。由此可见,普通单稳电路的维持时间很难达到二、三十秒。实际生产过程中,有些工序所需经历时间比这长得多。上海中国唱片厂的工人同志,经过实践,做了一种定时长、准确性和抗干扰较好的单稳电路,如图3所示。与图1普通单稳电路比较,增加了R\(_{K2}\)、D2、D\(_{1}\)、RD等元件。由于设置了BG\(_{2}\)导通时RK2这一条基极电流通路,当BG\(_{1}\)截止时,其集电极电位接近+EC,显然电源+E\(_{C}\)就可以通过RC1、R\(_{B2}\)来为BG2的饱和提供足够的基极电流了。因此当需要延长暂稳态的维持时间时,可把R\(_{B2}\)值增加到足够地大,而不会出现象普通单稳电路中由于RB2值过大所造成的BG\(_{2}\)不能饱和的困难了。当负触发脉冲引入BG2基极促使电路翻转后,暂稳态的维持时间决定于C\(_{B}\)对RB2的放电速度。二极管D\(_{2}\)的作用是防止CB经R\(_{K2}\)放电,因为当BG1导通集电极电位从+E\(_{C}\)下降到接近零电位时,由于CB两端的电压不能突变,二极管D的正端(A点)电位跟着由零下降到-E\(_{C}\),D2被反向偏置,所以C\(_{B}\)的放电电流基本上都是通过RB2的。随着C\(_{B}\)对RB2的放电,A点电位逐渐上升,当达到0.5伏左右时,二极管D\(_{2}\)导通,单稳态回复到原来稳定状态,即BG1截止,BG\(_{2}\)饱和。

R\(_{B2}\)值的加大,受到二极管D2反向电阻的限制。当R\(_{B2}\)值加大到兆欧数量级足以同D2的反向电阻相比时,定时的准确性就受到了影响。因为C\(_{B}\)的放电路径,除了经由RB2这一条放电回路外,还可经由D\(_{1}\)、RK2、D\(_{2}\)这条路径,只有当D2的反向电阻大大超过R\(_{B2}\)情况下,这后一条路径放电的影响,才能忽略不计。
电路中二极管D\(_{1}\)及电阻RD是为了改善BG\(_{1}\)由导通变截止的过程中集电极电位波形而设置的。若无此措施,BG1的集电极电位就不是突跳到+E\(_{C}\),而是按时间常数CBR\(_{C1}\)缓缓上升,这就不能立即向BG2提供足够的基极电流以促使它导通,BG\(_{1}\)也不能迅速截止。
这个电路的R\(_{B2}\)最大可以用到10兆欧,其延迟时间可长达1小时。
简易时间程序控制电路
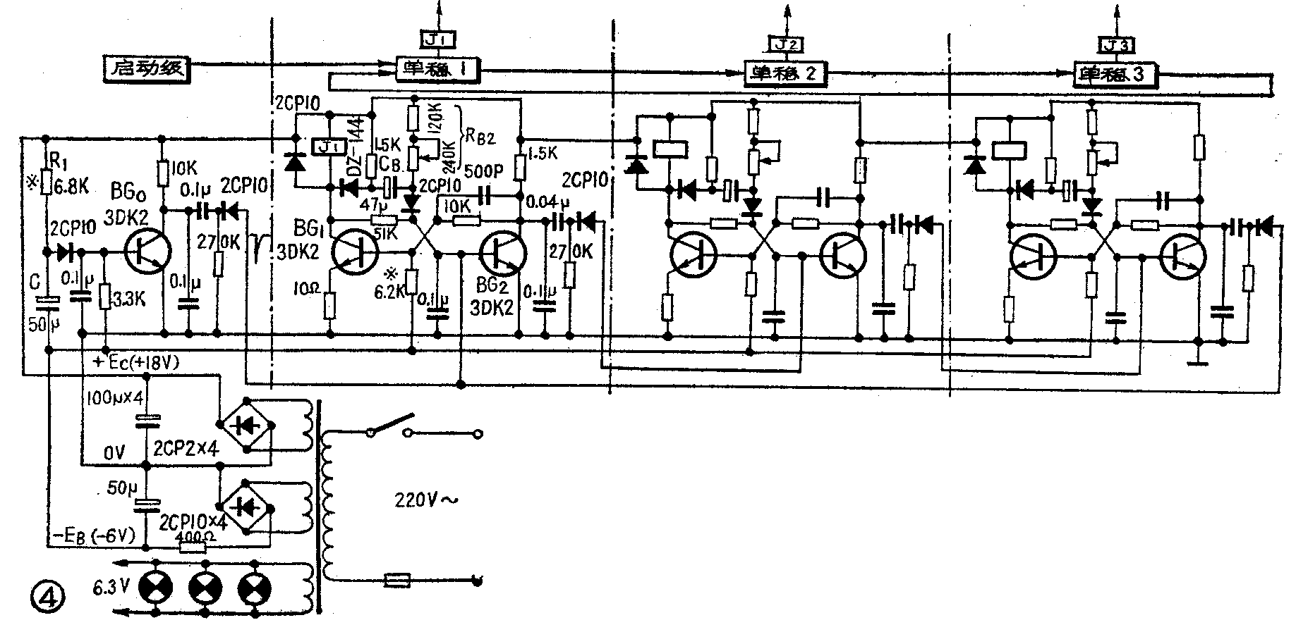
单稳电路暂稳态的维持时间可以用作定时或延时,我们根据生产过程的要求,把若干级单稳电路连接起来,且使每一个单稳电路定时时间的长短都同对应的工序所需历经的时间相适应,这样便构成了简易时间程序控制电路了(原理方框图见图4)。其中每级单稳电路都带有执行继电器,由它控制执行机构完成指定工序。当一道工序结束,该级单稳回复,同时输出一脉冲去触发下一级单稳电路使之翻转。与此相对应,前级执行继电器释放,后级执行继电器吸合,下道工序随即开始,从而完成程序的切换。同样,这级单稳在规定时间之后,再触发下一级,直至末级单稳回复,整个工序结束。此时,末级又去触发首级,第一道工序又重新开始,循环往复,生产就可有条不紊地自动进行。

图4为三道工序的时间程序控制电路图,由启动级、三级单稳态电路和电源部分组成。(根据实际需要,可以做成由四级、五级……几级单稳电路组成的几道工序的时间程序控制器)。BG\(_{0}\)为启动级,为了使第一级单稳电路定时准确,要求启动级的触发脉冲须在电源接上后延迟一段时间才开始触发第一级单稳电路,以便让第一级单稳电路的电容器CB得以充足电,因此启动级由单管RC延时电路组成,其延迟时间由C和R\(_{1}\)值决定,应使它大于第一级单稳电路CB的充电所需时间。
组装调试注意事项
1.应选用放大倍数β大于100的晶体管,若要求延时长于30秒时,应选用β大于150的管子。
二极管D\(_{2}\)的反向电阻越大越好。在RB2为兆欧数量级的长延时单稳电路里,对于D\(_{2}\)的反向电阻要求更高,因为此时D2的反向电阻对R\(_{B2}\)的分流作用已经可以比拟了。
为提高定时的准确性,C\(_{B}\)须采用钽电容,RB2可选用金属膜电阻。
继电器选用DZ-144型。
2.BG\(_{1}\)的反向偏压Vbe1取-3.8伏为宜,如果绝对值大于此值,电路翻转困难,且易出现继电器连续不断地“通”、“断”的振荡现象;反向偏压若过小,电路的可靠性差。
3.接通电源应使-E\(_{B}\)先于+EC建立。倘若+E\(_{C}\)先建立,则BG1就有可能先导通,使继电器吸合,然后随着-E\(_{B}\)的建立BG1又再截止,这是我们所不希望的。因此-E\(_{B}\)的建立应先于+EC。具体方法是通过合理选用滤波电容,例如+E\(_{C}\)用400微法,-EB用50微法。为提高电路的可靠性,可采用稳压电源供电。
4.在R\(_{B2}\)值取至兆欧级时,为不影响单稳的回复,须在BG1发射极串接10欧的电阻,以期提高BG\(_{1}\)导通时集电极电位,从而提高电路回复瞬间BG2基极电位,使其稍大于0.5伏,因为在电路刚开始翻转时,BG\(_{2}\)由截止区进入放大区的起始基极电流须由RB2供给的,在R\(_{B2}\)充分大的情况下,或者由于管子的β值不够大,BG2就不易导通,电路回复困难。
5.在各级单稳的BG\(_{2}\)管以及启动级BG0基极对地处接有0.1微法电容器,以防止电网上干扰所引起的误动作。
在延时较长的场合,还要求在上述各管的集电极对地接0.1微法的电容以抗干扰。(上海市业余工业大学 卢威)