我们知道,可控硅可以应用于可控整流、交流开关和调压、直流开关和斩波(或称直流调压)、逆变和变频多种场合,而且各种电路对可控硅元件参数的要求是不相同的。近年来,人们在应用可控硅的实践中,为了满足各种电路的要求,制造出许多种特殊可控硅,如:快速可控硅、双向可控硅、逆导可控硅,以及可关断可控硅等。由于这些元件与可控硅有许多共性,常将它们称为可控硅的派生元件。“对于物质的每一种运动形式,必须注意它和其他各种运动形式的共同点。但是,尤其重要的,成为我们认识事物的基础的东西,则是必须注意它的特殊点,就是说,注意它和其他运动形式的质的区别。”本文就几种应用较广泛的可控硅派生元件的特点做一简单介绍。
快速可控硅
普通可控硅不能在较高的频率下工作。因为元件的导通和关断需要一定时间,同时阳极电压上升速度太快时,会使元件误导通,阳极电流上升速度太快时,会烧毁元件。人们在制造工艺和结构上采取了一些改进措施,做出了适于高频应用的可控硅元件,称为快速可控硅。它具有以下特点:
一、关断时间(t\(_{off}\))短。
导通的可控硅元件,当切断正向电流时,并不能马上“关断”;这时如立即加上正向电压,它还会继续导通。这是因为元件在正向导通时,积累了许多载流子,还来不及消失的缘故。元件从切断正向电流直到控制极恢复控制能力需要的时间,叫做关断时间,常用t\(_{off}\)表示。
可控硅的关断过程,实际上是存贮载流子的消失过程。为了加速这种消失过程,制造快速可控硅时采用了掺金工艺,把金掺到硅中减少基区少数载流子的寿命。硅中掺金量越多,t\(_{off}\)越小,但掺金量过多会影响元件的其它性能。此外,toff还与电路电流、电压以及工作结温等有关,通常正向电流越大,反向电压越低,工作结温越高,t\(_{off}\)就越长。
二、导通速度快,能耐高的电流上升率(dIdt)。
控制极触发导通的可控硅,总是在靠近控制极的阴极区域首先导通,然后逐渐向外扩展,直到整个面积导通,如图①所示。大面积的可控硅需要50~100微秒以上才能全面积导通。初始导通面积小时,必须限制初始电流的上升速度,否则将发生局部过热现象,影响元件的性能,甚至烧坏。高额工作时,这种局部过热尤其严重。幅度高、前沿陡的触发信号有利于增加初始导通面积,但会使触发电路变得很复杂。为此,最近仿照集成电路方法,在可控硅同一硅片上做出一个放大触发信号用的小可控硅(见图②)。控制极触发小可控硅后,小可控硅的初始导通电流将横向经过Rs流向主可控硅的阴极,触发主可控硅。只要适当的设计,就可以不必增加控制极触发功率,达到强触发增加主可控硅初始导通面积的目的。从而加速了元件的导通,提高了耐电流上升率的能力。这种结构称为中心触发的放大控制极结构。


三、能耐高的电压上升率(dvdt)。
可控硅是由三个P-N结组成的。每个结相当于一个电容器。当结电压急剧变化时,就有很大的位移电流流过元件,它等效于控制极触发电流的作用,可能使可控硅误导通。这就是普通可控硅不能耐高的电压上升率的原因。
为了有效地防止上述误导通现象发生,快速可控硅采用了短路发射结结构,把阴极和控制极按一定几何形状短路。图③示出了具有短路发射结的可控硅的结构示意图和等效图。由图中看出,它的阴极不仅与N\(_{2}\)区联结,而且与称为短路点的一部分P2区联结。因此,当阳极电压急剧上升时,结电容的位移电流将从短路点流向阴极,而不通过阴极——控制极间的P\(_{2}\)-N2结。这样一来,即使电压上升率较高,对构成可控硅的两个等效三极管之一的N\(_{1}\)P2N\(_{2}\)管来说,电流放大系数仍几乎为零,不致使可控硅误导通。只是在电压上升率进一步提高,结电容位移电流进一步增大,在短路点电阻R上产生的电压降足够大时(如同在P2-N\(_{2}\)结上加了足够大的正向电压),电流始从P2-N\(_{2}\)结上通过,可控硅才能导通。

具有短路发射结结构的可控硅,用控制极电流触发时,控制极电流首先也是从短路点流向阴极。只是当控制极电流足够大,因而在短路点电阻R上的电压降足够大,P\(_{2}\)-N2结正偏导通电流时,才同没有短路发射结的元件一样,可被触发导通。所以这种元件的抗干扰能力较好。
快速可控硅元件近来发展很快。目前,已能做出电流几百安培,耐压千余伏,关断时间小于20微秒,电流上升率达几百安培/微秒,电压上升率达几百伏/微秒的大功率快速可控硅,还做出了最高工作频率可达几十千周的供高频逆变用的元件,并已成功地用于大功率中频感应加热电源、超声波电源、大功率直流开关、电脉冲加工电源、激光电源、雷达调制器以及直流电动车辆调速等装置中。
双向可控硅
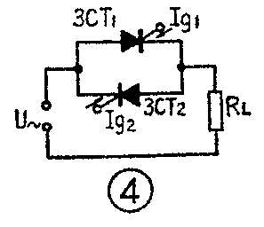
通常的可控硅交流开关和调压电路如图④所示,是由两个可控硅反并联组成,用两个彼此隔离的控制极触发脉冲,分别对输入交流信号的两个半波进行相位控制。为了简化电路,缩小装置体积,仿效集成电路方法,把两个反并联可控硅做在同一个硅片上,并用同一个控制极控制的元件,叫做双向可控硅。它的结构、符号和伏-安特性如图⑤所示。


双向可控硅最主要的特性是:不论端1接正、端2接负(我们算做正半周),还是端1接负、端2接正(负半周),都可以用相对于端2为正或负的控制极脉冲触发导通,也就是可以用正或负的控制极脉冲控制两个方向的导通。为了说明工作原理,我们可以把一个双向可控硅看成由正半周导通的可控硅Ⅰ、负半周导通的可控硅Ⅱ以及做控制极用的小可控硅Ⅲ三部分组成。小可控硅Ⅲ又可看成两个反并联的可控硅(P\(_{1}\)N1P\(_{2}\)Ng2和P\(_{2}\)N1P\(_{1}\)Ng1)。还采用了短路发射结结构。在正半周,控制极加正脉冲时,工作过程和具有短路发射结的普通可控硅相同,控制电流大到一定值时,触发可控硅Ⅰ导通;控制极加负脉冲时,可以看作是用端2做控制极,原来的控制极做阴极,触发小可控硅Ⅲ的P\(_{1}\)N1P\(_{2}\)。Ng2导通,使控制极G电位突然上升到接近于端1,这等效于可控硅Ⅰ的控制极与阳极相连,利用阳极正电压将可控硅Ⅰ触发导通。在负半周,控制极加正脉冲或负脉冲时,分别利用N\(_{2}\)和Ng2的作用,间接使小可控硅Ⅲ的P\(_{2}\)N1P\(_{1}\)Ng1导通,然后再依靠小可控硅的导通扩展使可控硅Ⅱ导通。由于双向可控硅各方向的触发过程不同,触发灵敏度差别较大,一般应用时最好采用负脉冲触发。
有一点需要特别说明的是:双向可控硅元件在交流回路中,导通侧内贮存的载流子会扩散到另一侧,它的作用好象给阻断的那一侧加了控制极电流,可能使元件自动导通而失控。导通侧电流下降越快,或阻断侧电压上升越迅速,这种误导通现象越严重。这方面的性能比两个可控硅反并联的电路差,应用时要特别注意。
双向可控硅元件主要应用于交流控制电路,如温度控制、灯光调节、防爆交流开关以及直流电机调速和换向等电路。
图⑥是采用双向可控硅的控温电路和波形图。

逆导可控硅
城市电车和地下铁道机车为便于调速采用直流供电,用直流开关动作增加或减小电路电阻,改变电路电流来控制车辆的速度。它的缺点是不能平滑起动和加速,开关体积大、寿命短,而且低速运行时耗电大(减速时消耗在起动电阻上)。采用图⑦所示的可控硅斩波电路能克服这些缺点。其中主可控硅的关断,是靠辅可控硅触发后,电容器C(它在主可控硅触发前已充电)通过L谐振反向充电,使主可控硅承受反向电压而实现的。控制主可控硅导通和关断的时间比例,即能改变负载上的平均电压,控制车辆速度。因此需要有大电流、高电压的快速可控硅。但制造这种元件比较困难。为了解决这个矛盾,根据电路中可控硅需反并联二极管的特殊性,将可控硅和反并联二极管做在同一硅片上,就构成了反向可导通大电流的逆导可控硅。

逆导可控硅的结构、等效电路、符号和特性如图⑧所示。由于它的阳极和阴极结均被短路,便解决了大电流、高电压和快速度的矛盾。目前已能做出耐压达1500~2500伏,正向电流达400安培,反向电流达150安培,关断时间小于30微秒的逆导可控硅。

图⑨为应用逆导可控硅的斩波电路。与图⑦相比,不仅减少了两个二极管,而且避免了二极管和可控硅间布线电感的不良影响,改进了电路性能。

可关断可控硅
普通可控硅一旦导通后,控制极就失去了作用,不能控制可控硅的关断。可关断可控硅是一种利用正的控制极脉冲可触发导通,用负的控制极脉冲可关断阳极电流,恢复阻断状态的元件。因此,用一个可关断可控硅,就可做成直流无触点开关或斩波器。它的结构、符号和特性如图⑩所示。

可关断可控硅用正的控制极脉冲触发导通的过程与普通可控硅完全一样。元件导通以后,如果控制极加上足够大的负脉冲,阳极电流会全部被拉到控制极流出,P\(_{2}\)-N2结不导通电流。这时,整个元件犹如一个基极电流消失后的饱和晶体管P\(_{1}\)N1P\(_{2}\),它将迅速恢复到截止状态——即元件恢复到阻断状态。这就是可关断可控硅用负的控制极脉冲关断的基本原理。可关断可控硅关断时阳极电流IA与必需加于控制极的负电流I\(_{g}\)之比,称为它的关断增益,用Goff表示。为了提高关断增益,通常把N\(_{1}\)P2N\(_{2}\)晶体管的电流放大系数做得大些,以增强负脉冲的作用;阴极N2区宽度做得比较窄,并用控制极包围着,使负控制极脉冲能有效地把阳极电流拉向控制极。此外P\(_{1}\)N1P\(_{2}\)晶体管的电流放大系数做得较小,元件导通后,P1N\(_{1}\)P2管不致深度饱和,使元件容易关断。普通可控硅不具有上述特点,所以一般都不能用负的控制极脉冲关断。
可关断可控硅的关断速度,比普通可控硅快,可以在较高的频率下工作。但它也具有不易制成大电流元件等缺点。目前主要应用于高压直流开关、发动机点火装置、高压脉冲发生器、电视机横扫描、环形计数器和过电流保护电路等方面。
除上述四种元件外,还有许多可控硅的派生元件,如光激可控硅、双向可控二极管、硅单向开关和硅可控四极管等,本文就不一一介绍了。(黄耀先)