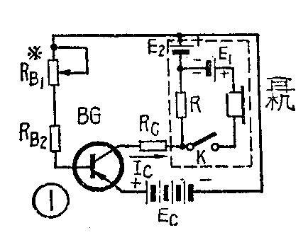
这里,我们向读者介绍一种不用电流表调整集电极电流的方法。见图①。虚线框内为测试装置,由1.5V电池两节,一个开关,一副耳机(或舌簧喇叭)和一个电阻R组成。

当晶体管BG的集电极电流I\(_{C}\)流过电阻R时,在R两端产生电压UR,这个电压U\(_{R}\)=IC×R。当U\(_{R}\)与E1相等时,接通开关,耳机两端电压相等,没有电流通过,所以耳机无响声;如果U\(_{R}\)与E1不相等,那么接通或切断开关的瞬时,有变化的电流通过耳机,耳机中就会有喀喀声。U\(_{R}\)与E1相差越大,变化的电流越强,响声也越大。我们是利用I\(_{C}\)调到E1R的数值时,正好满足U\(_{R}\)=E1条件,使耳机无声来调整集电极电流的,E\(_{1}\);R的数值就是收音机电路中规定的IC值。对应一个I\(_{C}\)值,就有一个R值,在测试电路中把电阻R接好。使用时,只要调整偏流电阻RB1,使开关断续时耳机无声,便可以调到规定的I\(_{C}\)值了。
由于测试装置是串联在集电极电路里,集电极电压就要减少U\(_{R}\)即E1伏。为了使集电极电压不受测试装置的影响,用一节电池E\(_{2}\)补偿R上的电压降UR即E\(_{1}\),所以在选用电池时,要求E2=E\(_{1}\)。
例如:已知E\(_{1}\)=E2=1.5V,规定的晶体管集电极电流为已知,由公式R=E\(_{1}\)/IC,求出R数值。然后,找一个和此数值相同的电阻,接到测试装置中R的位置上。在测量时,一面接通开关,另一面调整偏流电阻R\(_{B1}\),使耳机中的喀喀声没有或最小,这时就调到规定的集电极电流值了。调整时,注意开关K接通或断开应和调RB1同时进行,才能听清喀喀声大小的连续变化,找到声音最小点。另外,如晶体管损坏或穿透电流太大也调不出声音最小点。
这里再举例说明明。E\(_{1}\)=E2=1.5V,规定I\(_{C}\)=1mA,算出R=EI/I\(_{C}\)=1.5K,将1.5K电阻接到测试电路R位置上,然后一面接通开关,一面调整偏流电阻,使耳机无声(或声音最小),这对集电极电流就近似1mA了。
上述测试装置很简单,所用的元件装在小盒内,把R接好,如图②。使用时把待测晶体管集电极电路断开后,测试笔A接R\(_{c}\)的一端(见图1),测试笔B接电源EC的负极上,就可以测试了。R如用分线器或用300Ω电阻串联4.7K电位器代替,画上常用的刻度(用万用表校准),用起来更方便。

为了方便读者,现将再生来复四管机和超外差收音机规定的集电极电流的一般数值与对应的电阻R值,列于下表,供读者参考。(战士 陈凤祥)
