本文介绍一架硅、锗晶体管混合四管机。本机在高放级采用了截止频率高、穿透电流小的硅高频三极管,使收音机的灵敏度和热稳定性相应提高。另外,在高放电路中采用了混合式再生电路,能使收音机的灵敏度在频率高低端比较均匀。
电路原理
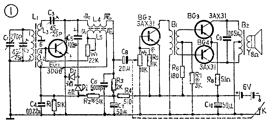
如图①,经磁性天线接收并由L\(_{1}\)、C1、C\(_{2}\)组成的调谐回路选出电台高频信号,通过L1与L\(_{2}\)的耦合被送进高频三极管BG1的基极进行放大。放大后的高频信号中一小部分经C\(_{3}\)、L3,并通过L\(_{3}\)、L1的耦合被送回到输入回路,增强了输入回路的高频信号。同时还有一小部分经L\(_{4}\)并被C6旁路,但其经过L\(_{4}\)时又耦合到L5上,由L\(_{5}\)、W1回送到输入回路,也增强了输入回路的高频信号,这就是混合式再生电路。W\(_{1}\)是电位器。由C3、L\(_{3}\)组成的再生电路中,因为C3对频率高端信号的容抗较小,所以它对频率高端信号的回授量较强;在L\(_{4}\)、L5组成的再生电路中,高频变压器的感抗与频率成正比,所以L\(_{4}\)对频率低端信号的感抗较小,通过耦合,L5对频率低端信号的回授量较强。通过这两种再生的互补作用,就使收音机的灵敏度在整个频率范围内较为均匀。

被放大的高频信号主要部分从BG\(_{1}\)集电极取出,通过C5到二极管D\(_{1}\)和D2进行检波。这个检波电路和锗管的简单再生机相似。只不过两个二极管的方向刚好和锗管再生机中的相反。这是因为硅管的基极偏置电压是正的,把二极管方向改变,可以使检波后所得直流电压的极性刚好和硅管的偏置电压相反,从而起到自动增益控制的作用。另外,由于硅管的结势垒电压较高,约为0.6~0.7伏左右,若检波二极管仍用两个锗管,其正向压降只有2×0.2=0.4伏左右,这将使BG\(_{1}\)管的偏压加不上去。因而D1必须采用硅管,这样D\(_{1}\)、D2上的降压可达0.6+0.2=0.8伏左右。D\(_{2}\)也可用硅管,但实验证明用锗二极管效果较好。高频信号经D1和D\(_{2}\)检波后的高频电流分量被C4旁路,音频电流分量经L\(_{2}\)被送到BG1基极进行来复放大。放大后的音频信号从BG\(_{1}\)集电极取出经L4、C\(_{6}\)耦合到低放级进行放大。放大的音频信号由输入变压器耦合,再送至BG3和BG\(_{4}\)进行乙类推挽功率放大。被放大了的音频信号最后经输出变压器耦合送至扬声器发出声音。
元件制作与安装
磁性天线用长IO0毫米的扁磁棒,线圈均用φ0.07×7股丝包线同向单层密绕,绕制圈数和安排见图②,接线按图示标号,接错则无再生作用。

高频变压器可用一只废的调磁心式中频变压器改绕。如图③—(1),先将线框中原线拆除,用φ0.06毫米漆包线在上格绕300圈为L\(_{4}\),在下格绕200圈为L5,绕完后用万能胶粘在底板上。也可用φ2×15毫米磁心绕制,如图③—(2)。用硬纸做一个线圈骨架,做法是先做一个纸管和三个圆垫圈,纸管内径以磁心能勉强移动为宜。圆垫圈套在纸管上,用胶水粘牢,以防绕线时线圈塌下来。胶水粘牢后即可绕制,数据同上。绕完后用蜡封好,并在底板上钻一个眼,把纸管一端插进胶牢。接线可按图示标号。

B\(_{1}\)2采用一般市场出售的小型变压器。输入变压器以阻抗3∶1为好,输出变压器只要和扬声器阻抗相匹配即可。
本机所有元件均装在40×80×130毫米的塑料机盒中,使用四节五号电池。元件焊在有铆钉的胶木板上,具体安排与布线见图④,反面接线可用裸铜线焊成仿印刷电路,美观牢固。
另外,在安装时,要特别注意采用了NPN型硅管,其接法与PNP型锗管不同,它的发射极应接电源负极,集电极接正极,否则会使管子损坏。D\(_{1}\)可使用废旧硅三极管的一个结,其接法是基极接L2(3)端,集电极接D\(_{2}\)的正极,接错了收音机不能正常工作。

调试:经反复核对电路无误后,即可调试。断开两路再生,把10毫安电流表依次串接到各级集电极电路中,调各级三极管工作点,其中BG\(_{1}\)为0.4~0.6毫安;BG2为1~2毫安;BG\(_{3}\)和BG4为2~6毫安。
调完工作点,接着调再生,一般是在频率高端调C\(_{3}\)、L3;在频率低端调L\(_{5}\)、W1。具体步骤是:先把C\(_{3}\)L3组成的再生接上,转动可变电容器,接收一频率高端的电台,调C\(_{3}\)的容量和L3的位置,使其声音最响而不啸叫,如产生啸叫则是再生过强所致。增加C\(_{3}\)的容量或使L3靠近L\(_{2}\)可增强再生,反之则减小再生。再把L5、W\(_{1}\)组成的再生接上,接收一频率低端的电台,改变磁心的位置和W1的阻值,使其声音最响而不啸叫。磁心调出或减小W\(_{1}\)的阻值可增强再生,反之可减小再生。这两路再生在调节时是互相影响牵连的,因此要反复进行调试,使收音机的灵敏度在频率高低端尽可能均匀为止。
最后应该指出,由于硅管的偏置电压要求较高,故它受电源电压下降的影响也较大,最好R\(_{2}\)用一个半可变电位器代替,当电池电压下降太多时可调整此电位器,使BG1仍能满意地工作。(徐达林)