晶体管收、扩音机中,广泛采用推挽功率放大电路。一般的推挽电路总需要输出变压器和输入变压器,这种变压器耦合的电路存在一些缺点,如:由于变压器铁心的磁化曲线是非线性的,它会使放大电路产生非线性失真;由于变压器漏磁对电路输入回路、中频回路的寄生耦合,会使整机工作不稳定;由于变压器是电感元件,有附加相移,不能引入深度负反馈来改善音质;特别是由于变压器的存在,严重地影响了电路的频率特性,这是因为变压器绕组的电感量不能做得太大(否则变压器体积太大,成本也太高),因此,在低频时电抗较小(电抗X\(_{L}\)=ωL,频率ω低时,电抗也小),它对信号起分流作用,使低频端增益下降,在高频时,由于变压器铁心导磁率的下降及漏感、分布电容的影响,也会使高频端增益降低。这样使高、低音都不够丰满。
毛主席教导我们:“人类的历史,就是一个不断地从必然王国向自由王国发展的历史。”“人类总得不断地总结经验,有所发现,有所发明,有所创造,有所前进。”
无变压器功率放大电路的出现,就是不断总结经验的结果。无变压器电路(简称OTL电路)一般分成三大类:一类是无输出变压器电路,但有输入变压器作倒相用(或用晶体管倒相),因为功率放大电路中输出变压器的影响是主要矛盾,故去掉它;二是互补对称式电路,它是利用PNP型管和NPN型管导电特性相反,彼此互补对称,自动完成倒相作用,因此,既不用输出变压器,也不用输入变压器;第三类是复合互补对称式电路。本文将结合收、扩音机中的一些具体电路详细分析这三种电路。
一、无输出变压器推挽功率放大电路
遵照毛主席关于“一切客观事物本来是互相联系的和具有内部规律的”教导,我们以《红旗602》等型收音机产品的电路为例,来分析图1(a)原理电路和图1(e)实用电路的相互联系和内部规律,从而得知实用电路是如何从原理电路演变而来的。

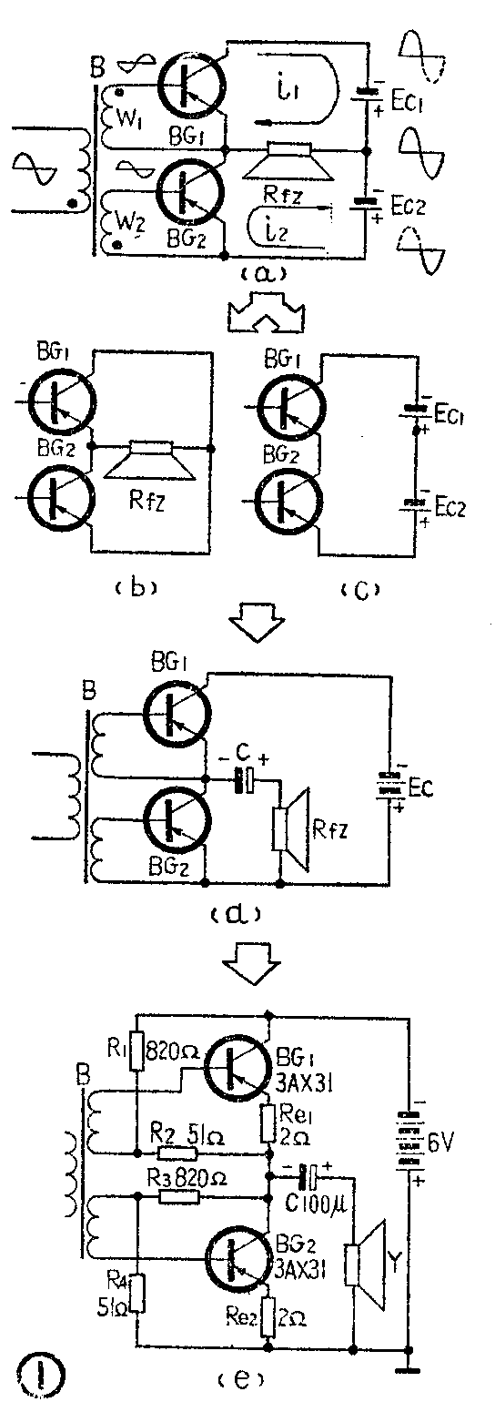
图1(a)中省略了偏置电阻等未画,BG\(_{1}\)和BG2是同极性的两只晶体管(这里以PNP型管为例),变压器B用作倒相耦合,它的次级有两个独立的绕组W\(_{1}\)和W2,分别接在两只晶体管的基极和发射极之间。请注意,绕组W\(_{1}\)的同名端(有“·”号的一端,即同是起端或同是末端)接到BG1管的基极,绕组W\(_{2}\)的同名端则接到BG2管的发射极,所以,两个绕组的相位相反。若两管工作于乙类状态,无信号时两管的集电极电流为零,处于截止(实际上,为了避免交越失真,两管在无信号时不是完全截止,有一定的静态工作电流,工作在甲乙类)。当信号电压正半周时,BG\(_{1}\)管的基极为负,发射极为正,发射结是正向偏压,而BG2管的基极为正,发射极为负,其发射结加有反向偏压,因此,BG\(_{1}\)管导通、BG2管截止。BG\(_{1}\)管的集电极电流i1随信号而变化,i\(_{1}\)流过负载Rfz,在它上面得到相应的正半周信号。当信号负半周时,则BG\(_{1}\)管截止、BG2管导通,电流i\(_{2}\)流过Rfz,在其上得到相应的负半周信号。这样,两管轮流工作,在负载R\(_{fz}\)上恰好两个半周正弦波拼起来合成一个完整的正弦波,得到了一个完整的信号。另一方面,两管都是半波输出,相当于整流,所以其中有直流成份。但从图1a可看出,i1和i\(_{2}\)流过负载时方向相反,由于电路对称,所以负载中的直流部分相互抵消了。
图1(b)是交流简化电路,两管交流输出是并联的,所以这种电路的输出阻抗和一般变压器耦合推挽电路相比要小得多。由于输出阻抗较低,因此就不必使用输出变压器件阻抗变换了,可以直接将电路的输出端和较高阻抗的扬声器相连。关于输出阻抗大小的问题可以用图2来分析说明。如单管放大器的输出阻抗用R\(_{1}\)和R2代表,变压器输出推挽电路的输出阻抗是串联的,等于R\(_{1}\)+R2,两管对称时R\(_{1}\)=R2,所以整个输出阻抗为每边输出阻抗的两倍,即2R\(_{1}\)。而无变压器推挽电路的交流输出是并联的,R1‖R\(_{2}\),两管对称时为\(\frac{1}{2}\)R1。所以,无变压器电路的输出阻抗是变压器耦合电路的1;4。

图1(c)是直流简化电路,这时两管串联,两组电源E\(_{c1}\)和Ec2串联起来对两只串联的BG\(_{1}\)、BG2供电。所以我们可以把电源E\(_{c1}\)和Ec2加在一起,去掉中间抽头,采用一个电源E\(_{c}\)=Ec1+E\(_{c2}\)供电。这样,我们可以把图1(a)改画成图1(d)的样子,BG1和BG\(_{2}\)串联起来,它们从电源Ec各分到一半电压,即\(\frac{E}{_{c}}\)2。为了防止直流电流流过负载Rfz,可以加一个隔直流电容C把负载(这里是扬声器)和电源隔开。图1(d)的样子就和实际电路图1(e)相似了,再加上各管的偏置电阻、射极电阻等,就变成了实际电路。
图1(e)中,R\(_{1}\)、R2是BG\(_{1}\)管的偏置电阻,Ec2电压加到R\(_{1}\)+R2两端,从R\(_{2}\)上取得的电压降加到BG1管的基极和发射极之间作为偏压; R\(_{3}\)、R4是BG\(_{2}\)管的偏置电阻,加偏压方式同上;Re1、R\(_{e2}\)分别是两管的射极电阻。由于Re1、R\(_{e2}\)的电流负反馈作用(晶体管电流增大时,Re1、R\(_{e2}\)上电压降增大,抵消偏置电压,使管子电流降下来),可以稳定工作点并进一步改善音质;C是隔直流电容,使直流电流不流过扬声器,以便实行单电池组供电,C同时又是耦合电容,音频信号通过它送到扬声器。因此电容C要尽可能选大一些,最好是几百微法以上,一般50~100微法的电容也可使用,只不过低音差一些。扬声器要用阻抗较高的。为了保证在额定输出功率情况下,得到尽可能好的低频音响,一般9伏电源时,用40欧姆的扬声器;6伏电源时用25欧姆的;4.5伏电源时用16欧姆的。若没有阻抗合适的扬声器,也可用一只8欧姆的代用,不过损耗大一点。有的收音机,如《红灯2J8》是用两只8欧姆扬声器串联使用的。
这种电路的静态工作电流一般应选在2~8毫安左右,使两管都工作在甲乙类状态,保证无信号时两管有一定的静态电流,使上管导电过渡到下管导电的交接班不脱节,以消除小信号的交越失真。什么叫“交越失真”呢?原来晶体管的U\(_{be}\)~Ic特性不是直线的,它的下部(在电流比较小时)弯曲得很厉害,非线性特别严重,这从图 3(a)所示的3AX31的U\(_{be}\)~Ic特性可以清楚地看出来。在分析推挽电路时,我们总是把两只管子的U\(_{be}\)~Ic特性画在一起,如图3(b)、(c)。若两管都工作在乙类状态,则会由于两管的U\(_{be}\)~Ic特性曲线下部的非线性区的影响,使输出波形呈现严重的非线性失真,特别是在正半周信号和负半周信号的交接处出现脱节现象,这就叫交越失真,如图3(b)所示。为了避免这种失真,我们往往使管子工作在甲乙类,无信号时也给管子一定的起始电流I\(_{CQ}\),使两管的Ube~I\(_{c}\)特性曲线的弯曲区域相互补偿,如图 3(c)。

图1电路中工作点的调整是靠调整R\(_{1}\)和R3。BG\(_{1}\)和BG2可选用一般的3AX型管,当然也可用NPN型硅管,但需注意电源的极性。选管时,应使两只管子的电流放大系数β值一致,以保证上下两管工作对称。β值的大小选在50~150为宜。电阻值应使R\(_{1}\)=R3,R\(_{2}\)=R4,R\(_{e1}\)=Re2。R\(_{e1}\)(Re2)的大小一般只要几欧姆就可以了。
图1(e)所示的红旗602型收音机功放级的额定输出功率为50毫瓦,最大输出为200毫瓦,BG\(_{1}\)、BG2的静态电流为2~7毫安。这种电路的输入变压器自制数据如下:铁心截面45×6毫米\(^{2}\),初级用φ0.06毫米漆包线绕1380圈,次级用φ0.08漆包线双线并绕380+380圈。自行设计时可按下述原则:初级电感量2~3亨,初、次级匝比(对一个次级绕组)在3∶1左右。
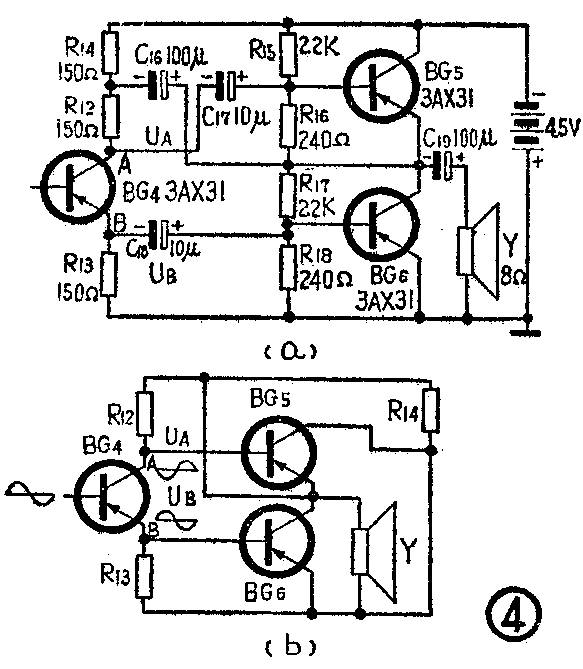
这种无输出变压器功放电路有时也可以采用晶体管倒相,如图4(a)所示《井岗山70—4》型收音机的电路。倒相后的两路信号分别从BG\(_{4}\)的集电极和发射极输出。由于晶体管的集电极输出电压UA和发射极输出电压U\(_{B}\)正好是反相的,如R12=R\(_{13}\),而Ic≈I\(_{e}\),那么这两个信号电压的大小也是基本相等的。这一级的电压增益很小,近似为1。图4(b)是这个电路的交流简化电路:电容C16、C\(_{17}\)、C18、C\(_{19}\)以及电池对于交流信号都视为短路;R15、R\(_{16}\)、R17、R\(_{18}\)是BG5、BG\(_{6}\)的偏置电阻,对交流信号的分流作用很小,可以忽略不计,因此都省去不画。从交流简化电路可见,BG4输出的两个反相信号U\(_{A}\)、UB分别从电阻R\(_{12}\)、R13上取出加在输出管BG\(_{5}\)、BG6的基极和发射极之间,BG\(_{4}\)管代替了输入变压器的倒相作用。电容C16的作用是:由于C\(_{16}\)对交流信号的短路作用,才能使BG4的集电极输出信号U\(_{A}\)加到BG5管的基、射之间,构成共射电路。如果去掉C\(_{16}\),信号UA就加在BG\(_{5}\)管的基、集之间了,使BG5变成共集电路。R\(_{14}\)的作用是避免C16将BG\(_{5}\)的集电极与发射极短路。

倒相级BG\(_{4}\)的集电极电流取2~4毫安,输出级BG5、BG\(_{6}\)的集电极电流取5~10毫安。
二、互补对称式推挽功率放大电路
前面讲的电路,是由两只导电特性相同的晶体管(都是PNP型或都是NPN型)构成,因此需用输入变压器或晶体管倒相级进行例相。输入变压器会影响频率特性,音质还不够好;晶体管倒相级的增益很低,不能充分发挥管子的作用,且因极间电容的存在等原因,两臂信号也不会对称。为了克服这些缺点,人们采用了另一种更为进步的互补对称电路。
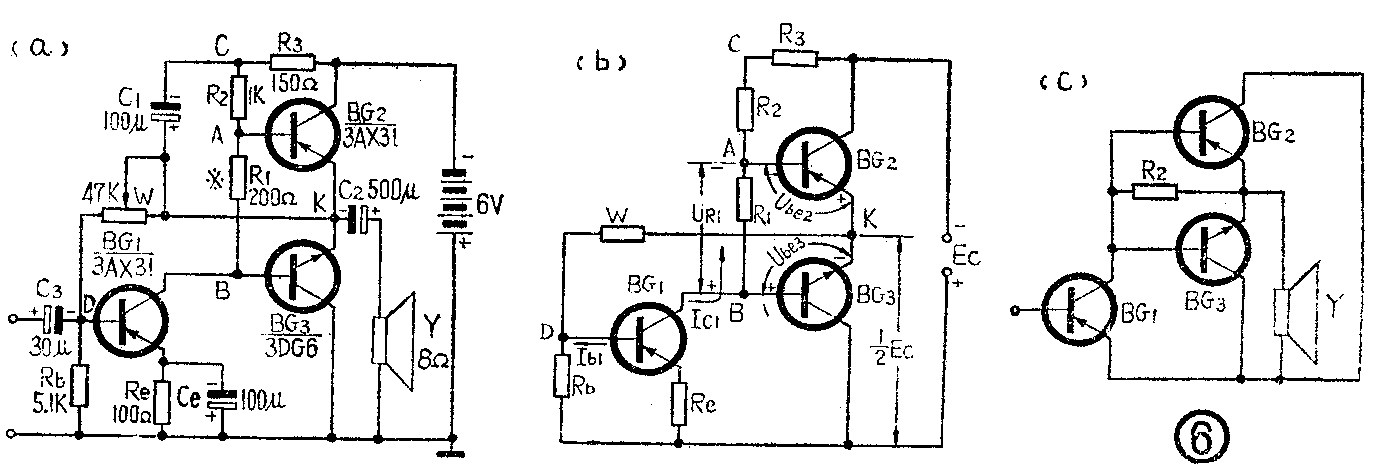
什么叫“互补对称”呢?请看图5。BG\(_{1}\)为PNP型管,BG2为NPN型管,从导电特性来看,两只管子是完全相反的,PNP管对负信号通导,而NPN管则对正信号通导,它们彼此互为补偿。从电路连接方式来看,上下两管的电路是完全对称的,所以人们就称之为“互补对称”。它的工作原理同前面所讲电路相似,不同之处是输入激励信号只要有一个就行了,而不需要倒相电路。当信号正半周时,对NPN的BG\(_{2}\)管而言,基极为正、发射极为负,发射结有正向偏压,因此BG2管导通,其集电极电流i\(_{2}\)随信号变化,流过负载Rfz,在R\(_{fz}\)上得到相应的正半周信号。但对PNP的BG1管来说,发射结加的是反向偏压,所以这个管子截止,i\(_{1}\)=0。反之,当信号负半周时,对PNP型的BG1管加的是正向偏压,BG\(_{1}\)导通,其电流i1随信号变化,而对NPN型的BG\(_{2}\)管是负向偏压,BG2截止,i\(_{2}\)=0,这时只有i1流过负载R\(_{fz}\),在其上得到相应的负半周信号。这样,两管轮流工作,结果在负载Rfz上就可以得到一个完整的信号。由此可见,这种电路不需倒相级,而由互补对称的BG\(_{1}\)、BG2两管本身自动完成倒相作用。所以也称它为“单端推挽电路”。

图6(a)是互补对称推挽电路的实际电路图。BG\(_{2}\)、BG3为功率输出级,BG\(_{1}\)是激励级。图6(b)是这一电路的直流通道电路。各电容器对直流视为开路,故不画出。BG2、BG\(_{3}\)串联起来由电池Ec供电,各得电源电压的一半。图6(c)是简化交流通道电路。各电容器和电源视为短路。略去对交流信号关系不大的元件不画。

现在,我们就以上述基本原理为基础,按直流通道和交流通道进一步分析这种电路。
(一)电路各元件的作用
1.R\(_{1}\)、R2、R\(_{3}\):从直流通道来看,R1+R\(_{2}\)+R3是BG\(_{1}\)管的集电极电阻,其中R1上的电压降UR\(_{1}\)决定了BG2和BG\(_{3}\)的偏流大小,一般应使电流Ic1在R\(_{1}\)上的压降UR1正好等于BG\(_{2}\)和BG3处于甲乙类工作状态下的两管基极电位之差,或两管基、射极间电压之和,即U\(_{R1}\)=Ube3+U\(_{be2}\),由于BG2是锗管,U\(_{be2}\)≈0.2伏;BG3是硅管,U\(_{be3}\)≈0.6伏,因此UR1=0.2+0.6=0.8伏。若BG\(_{3}\)采用3BX型的锗管,则UR1=0.4伏左右。若R\(_{1}\)阻值大,其上的压降大,即Ube2+U\(_{be3}\)大,故BG2、BG\(_{3}\)的静态工作电流就大,因此,调节R1的大小就可调节输出级的工作点。从交流通道来看,电路参数选择时,总是使R\(_{2}\)》R1、R\(_{2}\)》R3,因此从BG\(_{1}\)集电极输出的信号在图6(a)中的A点和B点幅度相等,在画交流通道电路时就忽略R1不画,用短路线代替。又因电容C\(_{1}\)对低频信号的容抗很小,C1可视为短路,故可将R\(_{2}\)与R3相接的一点C直接与K相接。由于R\(_{2}\)》R3,R\(_{3}\)也可略掉不画。这样,从图6(c)简化交流通道电路可见,BG1的集电极输出信号都是通过R\(_{2}\)加在BG2管和BG\(_{3}\)管的基——射间,即BG2和BG\(_{3}\)均由内阻为R2的信号源所激励。R\(_{3}\)的作用是避免C1将BG\(_{2}\)的集电极与发射极短路。
2.W、R\(_{b}\)、Re:从直流通道可知,W、R\(_{b}\)、Re组成BG\(_{1}\)管的偏置电路,它和一般的偏置电路的区别在于偏置电阻W不是接在电源Ec的负端,而是接在输出端K,这样就具有负反馈,可以稳定工作点。例如,由于某种原因,使BG\(_{1}\)的集电极电流Ic1增加。设增加量为ΔI\(_{c1}\)=0.1毫安。这时,电阻R1、R\(_{2}\)、R3上的电压降增大,使A点和B点的电位U\(_{A}\)和UB也跟着向正方向(对电源负端而言)增加,其增加量分别为ΔU\(_{A}\)=ΔIc1(R\(_{2}\)+R3)=0.1×1.5=0.115伏;ΔU\(_{B}\)=ΔIC1(R\(_{1}\)+R2+R\(_{3}\))=0.1×1.35=0.135伏;R1上的压降也会因I\(_{C1}\)的增加而增加,其增加量为ΔUR1=ΔI\(_{C1}\)R1=0.1×0.2=0.02伏,它使U\(_{be3}\)+Ube2也增加了0.02伏。当两管都用锗管或都用硅管时,每管的基射间电压各增加了ΔUR1/2,即0.01伏。其结果使K点电位也向正方向增加了ΔU\(_{K}\)=ΔUB-U\(_{be3}\)= 0.135-0.01=0.125伏(或ΔUK=ΔU\(_{A}\)+ΔUbe2=0.115+0.01=0.125伏)。这样,BG\(_{1}\)的基极电位UD也相应地向正方向增加,就减小了BG\(_{1}\)的正向偏压,使BG1的集电极电流I\(_{c1}\)下降,其过程简单用下图表示:
I\(_{c1}\)↑→UA(U\(_{B}\))↑→UK↑→U\(_{D}\)↑→IC1↓
从而自动稳定了工作点。
因此可以看出,在调节W的阻值,改变I\(_{c1}\)的大小时,会使K点电位发生变化。下面谈电路的调整时,要用到这一特点。
3.电容器C\(_{1}\):电容C1的作用很重要。由于C\(_{1}\)的接入,使BG2、BG\(_{3}\)的工作状态发生了质的变化,由原来的共集电极工作变成了共发射极工作。图6中,如果不接C1,此时,输入信号在负半周时,BG\(_{2}\)导通,信号将从R2、R\(_{3}\)加到BG2管的基—集之间;输入信号正半周时,BG\(_{3}\)导通,信号将通过R1、R\(_{2}\)、R3加在BG\(_{3}\)管的基—集之间。这就是说,输入信号都是从基极与集电极加入的,而输出信号都从集电极与发射极之间取出的。输入、输出的公共端点是集电极,所以为共集电极接法。接入C1后,由于C\(_{1}\)的容量很大,对低频信号说,C、K两点视为短路,因此,在BG2工作期间,信号是通过R\(_{2}\)加在该管的基—射之间;而在BG3工作期间,信号通过R\(_{1}\)、R2加在该管的基—射之间。可见输入、输出的公共端点是发射极。因此,接入C\(_{1}\)以后,电路就变为共发射极状态工作。其增益比共集电极状态高得多,一般可提高10~15分贝。
(二)调整方法及注意事项
毛主席教导我们:“每一事物的运动都和它的周围其他事物互相联系着和互相影响着。”这种电路也是这样的,BG\(_{1}\)、BG2、BG\(_{3}\)是直接耦合,前后级之间都存在着互相联系和影响。因此,调整时,它们之间互相牵连,不能分级调整。
1.调整BG\(_{2}\)、BG3上下两管的工作电压;从前面分析元件W的作用可以看出,改变W的阻值大小,可以改变BG\(_{1}\)的电流Ic1,从而改变B(A)点电位U\(_{B}\)(UA),使输出端K点电位U\(_{K}\)也随着变化。调整时,就是靠调节W的大小来改变K点电位,使上下两管的射、集之间的电压相等,若采用6伏电源,则上下两管射、集间电压均应为3伏。调整过程中,可以用直流电压表测量K点对地电压,应为3伏。若不是3伏,则可调整W的大小。调整W时还直接影响激励级BG1的静态工作电流I\(_{c1}\),一般Ic1在1~5毫安之间。
2.调整BG\(_{2}\)、BG3的静态工作电流:BG\(_{2}\)、BG3的偏流是由R\(_{1}\)上的电压降来决定的。R1越大,在I\(_{c1}\)一定的情况下,R1上的压降U\(_{R1}\)就大,即Ube2+U\(_{be3}\)也大,故BG2、BG\(_{3}\)的静态电流就大。为减小小信号时的交越失真,BG2、BG\(_{3}\)总是工作在甲乙类,电流取4~8毫安。
综上所述,改变W调K点电压;改变R\(_{1}\)调静态电流。但这不是绝对的,改变电路中每一个电阻值都会影响电压和电流。如也可改变R2来调电压、电流等等,我们一般都固定其它电阻,只调W和R\(_{1}\)。调整W和调整R1也是互相影响的,例如在改变W的大小时,除了改变K点电位外,还因I\(_{c1}\)的变化影响到R1上的压降,也就影响到BG\(_{2}\)、BG3的静态电流。同样,在调R\(_{1}\)大小时,不但改变了R1上的压降,同时也使A、B两点的电位同时变化,从而使K点电位也有些变化,但因R\(_{2}\)》R1,故影响不太显著。通常是先调W使K点电位为1/2E\(_{c}\),然后调R1使BG\(_{2}\)、BG3静态电流为4~8毫安,又回过头来调W,反复调节数次才能满足要求。
3. 调整时千万注意,切不可断开R\(_{1}\)。因为R1一旦断开,A点电位变得很负,B点电位变得很正,使BG\(_{2}\)和BG3的电流变得很大而损坏。
4.BG\(_{1}\)的β值应选大一些,应在80以上。BG2、BG\(_{2}\)的β值可选在50~150之间,并要求相同,即β2=β\(_{3}\)。调整后,若更换BG1管,要尽量选参数(如β)相同的管子,否则,需重新调整。
5.为了保证输出信号的失真度小,应使BG\(_{2}\)、BG3工作对称,在有信号输入时,也应使两管的射、集间的电压相等。检查的办法是:若条件许可,可用示波器观察输出波形,在业余条件下,可用直流电压表测量K点电位,在有信号输入时,也应保持在1/2E\(_{c}\),即3伏左右。
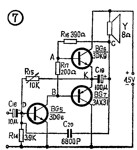
有的互补对称电路还省掉了图6中的R\(_{3}\)和C1。如环球711型收音机,它的功放级电路如图7,这里的电容C\(_{19}\)有三个作用:一是隔直流;二是耦合信号到扬声器;三是代替了图6电路中的电容C1。扬声器Y除了作为输出负载外,还代替了图6中的电阻R\(_{3}\)。办法是把扬声器一端改接到Ec正端。这样,因扬声器的接入,虽无R\(_{3}\)也不致使BG6的集电极与发射极短路。电容C\(_{2}\)0是负反馈电容,用以改善电路特性,提高音质。这个电路的调整方法和图6电路相似,即调R15及R\(_{17}\)。

三、复合互补对称式推挽功率放大电路
在输出功率要求较大的时候,如晶体管扩音设备中,常采用复合互补对称电路。它是在图6电路的基础上加两只晶体管与输出管复合。在介绍这种电路之前,先讲一讲复合管的一般原理。
复合管是把两个(或两个以上)晶体管的适当电极直接连接起来成为一个管子使用。一般有两种连接方式:(1)是由两只导电特性一致(都是PNP或都是NPN)的管子构成,如图8(a);(2)是由导电特性不同的管子(NPN和PNP)构成,图8(b)。

由图8(a)可知,复合管的电流放大系数β近似等于两只管子β值的乘积β≈β\(_{1}\)·β2。这是因为BG\(_{1}\)管的基极信号电流ib1经BG\(_{1}\)放大β1倍(实际是β\(_{1}\)+1)后成为BG2的基极注入电流i\(_{b2}\)(ib2≈β\(_{1}\)ib1),它又被BG2再次放大β\(_{2}\)倍,得到β2β\(_{1}\)ib1,因此,从BG\(_{2}\)的集电极所得到的信号电流ic2是i\(_{b1}\)的β1·β\(_{2}\)倍。所以,复合管总电流放大系数为两管放大系数的乘积。
另外由图8(b)可知,当不同导电特性管子组成复合管时,复合管的导电特性取决于第一只管子,β值仍近似等于两管β值的乘积。
在推挽功放电路中,为了减小小信号的交越失真,在静态时,必须使组成复合管的BG\(_{1}\)和BG2都有一定静态电流。为此,在图8的基础上加接电阻R\(_{e}\),如图9。Re的作用是:(l)使BG\(_{1}\)有一定的静态电流;(2)靠Ie1在R\(_{e}\)上的压降Ie1R\(_{e}\)维持BG2的静态电流;(3)加R\(_{e1}\)后还可防止在温度高时由于BG2的漏电流I\(_{CBO}\)增大而使复合管失控而无放大作用。因为ICBO的方向和I\(_{e1}\)相反。本来BG2的基极由BG\(_{1}\)的发射极电流Ie1控制。当I\(_{CBO}\)增大时将使Ie1减小,使BG\(_{1}\)对BG2的控制作用减弱。如果I\(_{CBO}\)增加过大,会完全抵消Ie1而使BG\(_{2}\)失控,在大功率输出时ICBO大于Ie1是很可能的。现在加上R\(_{e}\)后使ICBO被R\(_{e}\)分流一部分,从而减轻对Ie1的抵消作用。

加入R\(_{e}\)后,对信号电流也有分流作用。图9中,BG1射极(或集电极)输出的信号电流i\(_{e1}\)不能全部注入BG2的基极,而有一部分从R\(_{e}\)分流了,降低了复合管的β值。Re的数值一般在几十欧到几百欧。
明白了复合管的一般原理,现在来介绍一个复合互补对称推挽功率放大电路的实例,如图10,它是一台高传真度收音机的低放级。

BG\(_{1}\)是前置放大级。其发射极电阻Re2上加有从输出端经反馈电阻R\(_{f}\)和反馈电容Cf引来的深度负反馈,用以提高音质,但使电路增益有所下降,为了弥补增益的不足,所以加有前置级。如要求输出功率小可省掉此级。这一级是阻容耦合电路,R\(_{b1}\)、Rb2是基极偏置电阻,R\(_{c1}\)是集电极负载电阻,Re1、R\(_{e2}\)是射极电阻,用来稳定此级的工作点。BG1的输出经C\(_{4}\)耦合到BG2激励级。
容易看出,这里从激励级以后的电路和图6电路基本相同,只不过图6中的BG\(_{2}\)和BG3分别用复合管BG\(_{3}\)+BG5和复合管BG\(_{4}\)+BG6代替了。R\(_{e5}\)、Re6用来稳定电路工作,通常取0.5~1欧;阻值不宜过大,因为它们和扬声器串联,太大了会影响输出功率。在输出小功率时可以不用。热敏电阻R\(_{4}\)和W1相并联,相当于图6中的R\(_{1}\),由于热敏电阻R4的阻值随温度上升而减小,因此温度上升时I\(_{c2}\)上升,引起UAB上升,但由于R\(_{4}\)阻值减小使UAB下降,结果获得热稳定的效果。
“事物都是一分为二的。”无变压器功率放大电路有许多优点,如省掉了变压器,消除了它引起的失真和损耗,频率特性好等等。但也有缺点:如由于电路的每个输出管只能利用电源电压的一半,和有变压器电路相比,在同样电源电压下要得到同样的功率输出,电流就必须大一倍,于是要求功放管能流出大电流。而且,在工作过程中I\(_{c}\)变动很大,对电源要求也就较高。此外这种电路要求有较大的推动功率。特别是因为这种电路的输出功率直接受到负载阻抗大小的限制。输出功率P0=αE\(^{2}\)\(_{c}\)/8(Rfz+R\(_{e}\))(α的数值由管子的型号等因素所决定,对于3AD型大功率管α≈1;对于3AX81型小功率管α在0.5左右)。Rfz为负载阻抗,在高负载阻抗时,如农村有线广播网,电路的输出功率就提不高。(唐远炎)