在安装有线广播中,必须根据扩音机的输出性能正确地配接喇叭,才能保证扩音机和喇叭正常工作,取得良好的播音质量,减少损坏,延长播音设备的使用寿命。
一、配接部件特性简介
为了掌握配接方法,我们必须先对阻抗匹配中的喇叭、线间变压器和扩音机等这些配接部件的有关特性有一个基本的了解,下面先分别介绍一下。
1.喇叭:即扬声器,一般习惯叫喇叭。有线广播中采用的喇叭多数是电动号筒式高音喇叭、舌簧喇叭或压电喇叭,也有部分采用电动纸盆式喇叭。每一种喇叭都有许多项技术指标来衡量它的质量,其中标称功率和阻抗两项是配接喇叭时必须知道的。
标称功率是指喇叭在这一功率值下长期连续工作而不致损坏。使用时馈送给喇叭的最大功率不应大于标称功率,否则将使喇叭损坏;但也不能过分地小于标称功率,否则将不能充分发挥喇叭的放音能力,也是不经济的。一般总是保证喇叭能得到等于标称功率值的音频功率。有时,为了获得较好的音质,而使喇叭工作在标称功率的2/3左右。
喇叭的阻抗是指对广播信号的交流阻抗值。由于阻抗和频率有关,对不同频率的信号,喇叭的阻抗不同。所以一般产品上标明的阻抗是在某一特定频率时的数值。通常电动式(号筒或纸盆)喇叭的阻抗为几欧到十几欧;舌簧喇叭和压电喇叭的阻抗为几千欧。
在阻抗匹配中,有时除要知道标称功率和阻抗之外,还希望知道喇叭的额定工作电压,这可以通过下式进行计算:
U=\(\sqrt{PZ}\) (1)
式中:U是喇叭的额定工作电压;P是喇叭的标称功率;Z是阻抗。如YH25—1型25瓦电动号筒式喇叭的标称功率为25瓦,阻抗为16欧,则按(1)式可算出它的额定工作电压为
U=\(\sqrt{PZ}\)=25×16=20伏
当加到喇叭上的信号电压大于此额定工作电压时,就相当于输入功率超过喇叭的额定标称功率,喇叭就易损坏。根据公式(l),我们算出表1,供参考。

2.线间变压器:它的作用是将扩音机输出的高输出阻抗(或高输出电压)变换成低阻抗(或低电压),以便和喇叭的阻抗(或额定电压)相匹配。在配接中,常用到的线间变压器的几项参数是阻抗、变压比和额定功率。
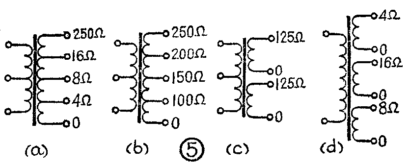
(1)阻抗:阻抗值与线包的圈数有关,圈数越多,阻抗越高,例如图1所示线间变压器,其初级的圈数较次级的多得多,因此初级阻抗远大于次级阻抗。由于在配接中会遇到各种不同规格的扩音机和喇叭,为了适应各种不同阻抗的要求,变压器的初、次级一般都有许多抽头。例如图1中,次级的8欧抽头上可以配接一个8欧的喇叭,初级则可根据扩音机的输出阻抗接到适当的端子上。

(2)变压比(n):表示初级电压U\(_{1}\)和次级电压U2的比值,即
n=U\(_{1}\)/U2 (2)
当初级接入一个交流电压U\(_{1}\)之后,就会在次级感应出一个电压U2。在匹配阻抗时,如要使扩音机输出的高电压变换成适合喇叭工作需要的低电压时,可以采用适当变压比的变压器来达到目的。由于变压器的线包的电压正比于线包的圈数,因此变压比也等于变压器的圈数比,即初级圈数N\(_{1}\)与次级圈数N2之比:
n=N\(_{1}\)/N2 (3)
因为U\(_{1}\)=\(\sqrt{P}\)1Z\(_{1}\)(P1Z\(_{1}\)为初级的功率和阻抗);U2=P\(_{2}\)Z2(P\(_{2}\)、Z2为次级的功率和阻抗),假定变压器的损耗很小,则P\(_{1}\)=P2,所以
n=U\(_{1}\)/U2
=\(\sqrt{Z}\)\(_{1}\)/Z2
=N\(_{1}\)/N2 (4)
(3)额定功率:标明线间变压器工作时允许输入的最大功率。如果超过允许的额定功率使用,就会使铁心发热,线包也因电流过大而发热,以致引起短路等故障直至烧坏。
用阻抗标志的线间变压器可以通过U=\(\sqrt{PZ}\)换算成以电压标志,例如图1变压器各端子的阻抗值通过换算可以用电压值标出,如图2。反之,也可将所标电压换算成相应的阻抗。为了便于查用,表2列出了几种常用线间变压器各端子的电压与阻抗的对应值。


3.扩音机:扩音机输出方式分为定压式和定阻式两种。定压式扩音机输出电压有120伏、240伏等各种;由于在电路中应用了深度负反馈,当负载在一定范围内变化时,扩音机输出电压基本保持不变,因此负载很轻甚至开路时,扩音机仍能正常工作,不致损坏。但在过载严重时,定压式扩音机与定阻式扩音机一样会损坏。
定阻式扩音机输出端子用阻抗值标出,如4欧、8欧、12欧、16欧等(低阻输出),100欧、200欧等(高阻输出)。由于它只有轻度负反馈或不采用负反馈,因此在配接时要求负载阻抗必须等于扩音机的输出阻抗,扩音机才能正常工作,负载不能变动,如果负载阻抗高于扩音机的输出阻抗(负载轻),则扩音机输出变压器初级阻抗升高,初级线包的电压将随阻抗的升高而升高。在负载阻抗高得不多时,还可勉强工作,如高得很多,甚至扩音机输出处于开路状态,这时输出变压器初级电压将升高很多,将线包绝缘击穿,使输出变压器损坏。因此,必须配接假负载,来吸收机器输出的多余功率。假负载可选用线绕电阻,但不要用灯泡、电阻丝等材料,因为它们的温度系数很大,当音频电流通过的时候,阻值会随温度而变化,使负载变化而影响扩音机工作。当负载阻抗低于扩音机的输出阻抗(负载重)时,输出变压器的初级阻抗亦随之减小,末级功放管屏流增大,屏耗提高,屏极发红,功放管将很快损坏或造成低效。
定压式扩音机在轻负载时,负载可以在一定范围内变化,机器都能正常工作,但是在过载情况下,和定阻式机器一样,也会造成末级功放管损坏和低效,因此过载也是绝对不允许的。造成过载的原因,一般是输出线路有短路或严重漏电,喇叭、线间变压器有短路,配接不恰当,或喇叭总功率超过扩音机额定功率等。
扩音机输出端子的阻抗值也可以换算为额定电压值,或进行相反换算,方法同前。这里将一些不同规格的扩音机输出端子的阻抗值和相对应的电压值列于表3,以备查用。

二、阻抗匹配要点
1.阻抗匹配条件:要做到正确的阻抗匹配,必须同时满足以下三个条件。
(1)功率匹配:全部负载吸收的总功率,应等于扩音机输出的总功率;或比总功率小些,但不应小于扩音机额定输出功率的70%;也可稍大一些,但最大不应超过扩音机额定输出功率的110%。扩音机上一般总标明它的额定输出功率值,但这个数值是随着使用条件变化、机器的新旧程度不同、元件数值的变化、管子的衰老和市电电压的高低而变化的,因此我们在计算阻抗匹配之前最好先测量一下扩音机的实际输出功率,使设计符合实际情况。在采用线间变压器匹配阻抗时,它的功率容量要等于或大于喇叭的额定功率,以免发热损坏。
(2)负载(喇叭、线间变压器或假负载)的总阻抗应等于扩音机的输出阻抗,也可稍小或稍大一些,这样才能使扩音机输出额定功率给负载。
(3)每个喇叭上分配到的功率应等于或稍小于它的额定功率,不得大于它的额定功率。在扩音机负载过重或要求有较好的音质,以及嫌喇叭音量过大的情况下,可以考虑适当降低喇叭的输入功率。检查喇叭上所加功率是否合适,可以根据喇叭上所加工作电压来衡量。因为喇叭一经选定,其阻抗值就已确定,根据P=U\(^{2}\)/Z,只要确定喇叭两端的电压就可确定输入功率了。
2.线包接法:阻抗匹配中采用有几个线包的变压器时,还必须掌握变压器的“理相”知识。例如在图3中,变压器次级有两组4欧线包,在作串联或并联运用时必须注意它们的相位不要接错,否则由于两线包产生的磁力线相反,互相抵消,将使初级电流激增以至烧毁变压器。两线包并联运用时,应将两线包的头与头相接,尾与尾相接,如图3,这时输出电压不变,只是相当于加粗了线径,允许输出较大的功率而已。两线包的端电压相等才能并联。两线包串联时,可如图3所示将两线包头尾相接。

3.阻抗匹配方法:扩音机的阻抗匹配有两种方法,一是阻抗法,一是电压法。两种方法只是手段不同,结果是相同的。例如图4中,50瓦扩音机的8欧端子并联连接两只25瓦/16欧喇叭。两只喇叭并联的阻抗为8欧;总功率为50瓦,这样接,功率和阻抗都满足了条件,每个喇叭上得到25瓦功率,符合匹配条件,就达到了阻抗正确匹配。这可以用电压法来验证。利用表2和表3(或者根据公式U=\(\sqrt{PZ}\)计算)可查出50W扩音机8欧端子的输出电压为20伏,25瓦/16欧喇叭的额定电压也为20伏,因此电压和功率合适,可见是匹配正确。

但如只满足一个条件,例如图4中在50瓦机的16欧端子上只接一只25瓦/16欧喇叭,这时只满足了阻抗匹配的一个条件,功率不匹配,50瓦功率全部加到一个25瓦喇叭上,将使喇叭烧毁,所以没有达到正确匹配。
三、计算方法

1.阻抗法:由于扩音机末级的输出阻抗很高,而负载(电动式喇叭音圈阻抗)又很低,因此需要通过输出变压器进行阻抗变换。输出变压器初级阻抗的大小由末级电路形式和输出管的特性决定;次级因考虑不同需要有许多抽头或几个线包,以取得不同输出阻抗,如图5所示。任意两抽头之间的阻抗不能用简单的加减法来计算,例如图5(a)中,8欧和4欧两端子间的阻抗不等于8欧-4欧=4欧,而必须用下式计算:
Z\(_{x}\)=(\(\sqrt{Z}\)高-Z\(_{低}\))\(^{2}\) (5)
式中Z\(_{高}\)、Z低分别为不同端子的高、低阻抗值。因此上述8欧和4欧之间的阻抗应为
Z\(_{x}\)=(\(\sqrt{8}\)-4)\(^{2}\)≈0.6欧。
至于多线包输出变压器,在各线包电压值相等时,可以并联使用。并联后输出电压不变,而输出功率等于各线包功率之和,即
P\(_{并}\)=P1+P\(_{2}\)+P3+…… (6)
并联后的阻抗可由下式计算:
Z\(_{并}\)=U\(^{2}\)/P并 (7)
线包串联运用时,任意两线包串联后的电压值等于各线包电压值之和。串联后的总阻抗可用下式计算:
Z\(_{y}\)=(\(\sqrt{Z}\)1+Z\(_{2}\))\(^{2}\) (8)
式中Z\(_{1}\)、 Z2为串联二线包的阻抗。
例如图5(c)中,两个125欧线包的串联阻抗为
Z\(_{y}\)=(\(\sqrt{125}\)+125)\(^{2}\)=500欧
当两个以上线包串联时,可先求出任两个线包的串联阻抗,再算这个串联阻抗与第三线包的串联阻抗,如此一个个串进去,直到全部线包计算进去为止。线包串联运用时,要求各线包的线径相同。
扩音机有低阻抗输出(100欧以下)和高阻抗输出(100欧以上)。在采用低阻抗输出时,需要考虑连接扩音机到喇叭的导线电阻。导线的电阻与导线长度成正比,与导线的直径平方成反比,还与导线材料有关,各种不同材料的导线,其电阻率不同,例如铜为0.0175,铝为0.029,铁为0.15。
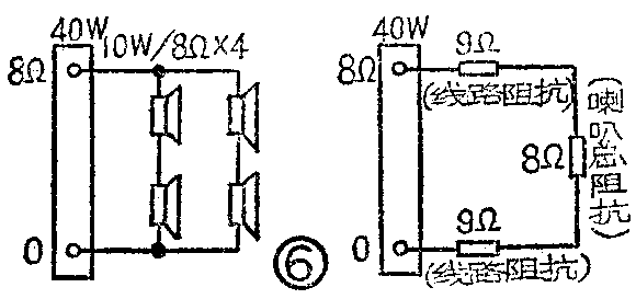
现举一例:有一台40瓦扩音机,在8欧端子上按图6配接四只10瓦/8欧喇叭。虽然阻抗匹配的三个条件都满足,但由于喇叭和扩音机相距100米远,导线线径又较细(0.5毫米),经计算线路电阻有18欧,因此,实际负载阻抗为26欧,如图6。这就破坏了阻抗匹配,同时有70%左右的功率消耗在线路上。通常要求线路功率损耗应小于扩音机输出功率的10%,所以低阻输出端子一般只应用在50~100米的线路中。在线路较长时,宜采用高阻输出,以减少线路损耗。例如选用250欧端子,线路消耗将只占输出功率的7%左右。

在采用低阻抗输出时,我们常常将喇叭串联、并联或混联之后直接与扩音机输出端子相配接。按照前述阻抗匹配要求的三项条件,首先检查喇叭总功率是否等于扩音机的额定输出功率,如过大要减少喇叭;不足应配接假负载电阻。然后计算每只或每组喇叭应连接到扩音机的那个输出端子。计算公式如下:
Z\(_{机}\)=Z喇P\(_{喇}\)/P机 (9)
式中Z机为应接扩音机输出端子的阻抗值;Z喇\(_{为}\)喇叭阻抗;P喇为喇叭额定功率;P\(_{机}\)为扩音机额定功率。
例1:50瓦扩音机一台(图7),要接25瓦/16欧喇叭两只,如何配接?

解:两只喇叭总功率为50瓦,等于扩音机额定功率,满足条件一。计算应接端子阻抗
Z\(_{机}\)=16×25/50=8欧,可接在8欧端子上,满足条件二。由于两喇叭阻抗相等,各分配到25瓦功率,不超过其额定功率,符合条件三。
有时计算后所得阻抗与扩音机输出阻抗不相符,无合适的端子可接,这时可以将喇叭适当地串、并联,或计算各端子之间的阻抗值,以寻求相配的阻值。
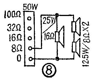
例2:上例中,如改接25瓦/16欧喇叭一只12.5瓦/8欧喇叭二只,应如何连接?
解:①喇叭总功率=25+12.5×2=50瓦,功率相符;②计算应接端子:由上例可知25瓦/16欧可接到8欧输出端子;12.5瓦/8欧喇叭应接端子阻抗为Z\(_{机}\)=8×12.5/50=2欧。扩音机无2欧端子。可设想并联或串联使用,并联后阻抗更低,更不好配;串联后两喇叭的功率和为25瓦,总阻抗为16欧,按(9)式计算Z机=16×25/50=8欧,故也可接到8欧端子,如图8。③从图中可知,并联两支路阻抗相等,各分到25瓦功率,对25瓦喇叭功率合适;对两只12.5瓦喇叭,因其阻抗相等,各分到12.5瓦功率,也合适,故符合匹配条件三。

当采用扩音机高阻抗输出时,要用线间变压器变换阻抗。喇叭选定后,其阻抗确定,线间变压器的次级阻抗也就确定,不必计算;其初级阻抗Z\(_{初}\)则需用下式计算:
Z\(_{初}\)=P机Z\(_{机}\)/P喇 (10)
式中:P\(_{机}\)、Z机分别为扩音机额定输出功率和输出阻抗;P\(_{喇}\)为喇叭的标称功率。
例3:50瓦扩音机250欧端子要接12.5瓦/8欧喇叭二只、10瓦/8欧二只、5瓦/4欧一只,应如何接?
解:①喇叭总功率为P\(_{总}\)=12.5×2+10×2+5=50瓦,与扩音机输出功率相符。②各线间变压器的初级阻抗分别为:
12.5瓦:Z\(_{初1}\)=50×250/12.5=1000欧;
10瓦:Z\(_{初2}\)=50×250/10=1250欧;
5瓦:Z\(_{初3}\)=50×250/5=2500欧。
按照计算结果,将喇叭连接如图9。③从图中看出不同功率的喇叭用的线间变压器阻抗不同,所以分配到的功率也是符合它们需要的。这就达到了正确的阻抗匹配。

2.电压法:采用电压法匹配阻抗比较方便。一般不易发生错误。对于用电压标志的扩音机,线间变压器和喇叭可直接按电压配接。对用阻抗标志的也可用公式U=\(\sqrt{PZ}\)进行换算,或查表1、表2、表3将阻抗换算成为电压值,然后再按电压进行配接。计算步骤是:首先检查喇叭总功率是否等于扩音机额定输出功率。如负载过重会使扩音机损坏,应设法减轻。若喇叭总功率不足,比扩音机额定功率小,对定压式扩音机可不必加接假负载。第二步按电压进行配接。最后还应检查分配到每个喇叭上的功率是否超过其标称功率。
例4:用电压法计算前面例1。
解:①功率相配,前面已计算过。②根据U=\(\sqrt{PZ}\)算出25瓦/16欧喇叭需要的电压为U=25×16=20伏;再算出扩音机各输出端子的相应电压数值如图10。从计算结果可知,喇叭要求的电压为20伏,扩音机8欧输出端子的输出电压也是20伏,所以喇叭可以直接接到20伏(8欧)端子上。其所得结果与阻抗法完全相同;还可看出32欧端子的输出电压为40伏,而两只25瓦/16欧喇叭串联起来的工作电压也为40伏,所以也可以串联后接在32欧端子上。③由于电压合适,两喇叭阻抗相同,功率分配也合适。

例5:80瓦扩音机一台(图11),要接20瓦/16欧喇叭二只、15瓦/16欧二只、10瓦/8欧一只,应如何连接?
解:①喇叭总功率为20×2+15×2+10=80瓦,与扩音机匹配。②查表3得扩音机各输出端子电压值如图11。查表1得20瓦、15瓦、10瓦各喇叭的工作电压,分别为17.9伏、15.5伏、8.94伏。由此可知。扩音机的35.8伏端子输出电压刚好为20瓦喇叭工作电压17.9伏的两倍,因此可将两个20瓦喇叭串联后接到这个端子上。15瓦、10瓦喇叭没有合适的端子可按,可采用线间变压器来配接。15瓦喇叭可选用初级90伏、次级15伏、功率≥15瓦的线间变压器。10瓦喇叭可选用初级90伏、次级9伏、功率≥10瓦的线间变压器,接到电压相近的输出端子上,如图11所示。其初级电压和扩音机适当端子的电压相配,次级电压和喇叭额定电压相配。③由于根据喇叭的要求选用了合适的线间变压器,电压合适,所以各喇叭功率分配合适。

例6:100瓦定阻式扩音机一台(图12)。配接喇叭25瓦/16欧一只、12.5瓦/8欧二只、15瓦/16欧一只,应如何连接?

解:①检查功率P\(_{总}\)=25+12.5×2+15=65瓦,比扩音机额定功率小,应配接假负载,以吸收多余的功率,其数值为100-65=35瓦。按下式计算应接假负载电阻的阻值:
R\(_{假}\)=P机Z\(_{机}\)/P假 (11)
已知P\(_{机}\)=100瓦,P假=35瓦,选Z\(_{机}\)为100欧(Z机的选择一般是从便于购到合适的假负载电阻考虑的,可以选择扩音机输出阻抗较高的端子)。按上式求出R\(_{假}\)=100×100/35=286欧,取近似值可选用270欧或300欧,电阻的额定功率应选得比35瓦大一倍,即70瓦,以免烧坏。
②查表3,得扩音机各端子的对应电压值如图12所标。再查表1可知25瓦/16欧、12.5瓦/8欧、15瓦/16欧各喇叭的工作电压分别为20伏、10伏、15.5伏。然后按图12配接到合适的端子上。③由于加到各喇叭的电压合适,所以功率分配也合适。
例7:80瓦扩音机一台,要求配接25瓦/16欧喇叭四只,问如何连接?
解:①检查功率P\(_{总}\)=25×4=100瓦,可见超过了扩音机的功率容量,是不允许的,那么怎样配接呢?我们知道,喇叭实际工作时,其输入功率和输入工作电压有关,电压高,输入功率大,反之则小。一只25瓦/16欧的喇叭,输入电压为20伏时,消耗25瓦功率。如果减低输入电压,它消耗的功率亦随之减小。因此我们可以用降低喇叭工作电压的办法,使每只喇叭得到20瓦功率,这样总功率就符合需要了。
②计算喇叭工作电压。先计算喇叭要得到20瓦功率,其工作电压应加多大。查表1可知应为17.9伏。再查表3得出扩音机各端子的电压,如图13所示。可见扩音机4欧端子的输出电压为17.9伏,刚好适合使喇叭得到20瓦功率的需要,因此可如图所示连接喇叭。另外35.8伏为17.9伏的两倍,所以还可用另一种办法将两只喇叭串联后接到16欧端子上,如图中虚线接法。

例8:150瓦扩音机一台(图14)。配接喇叭:25瓦/16欧三只、15瓦/16欧二只、12.5瓦/8欧二只、10瓦/8欧一只、5瓦/8欧二只。应如何配接?

解:①检查功率P\(_{总}\)=25×3+15×2+12.5×2+10+5×2=150瓦,功率合适。
②查表1得知25瓦、15瓦、12.5瓦、10瓦、5瓦各种喇叭的工作电压分别为20伏、15.5伏、10伏、8.94伏、6.33伏。查表3得出扩音机各端子的电压值,如图14所示。
③查表2选线间变压器。这主要是选择变压器初级电压,使它与扩音机输出电压相等。从表2来看符合这一要求的变压器并不止一种,因为从图14可知,扩音机有好几种不同输出电压(194伏、173伏、150伏、123伏)的端子可接。例如,适合15瓦/16欧喇叭需要的变压器可以有四种:其功率容量均应≥15瓦;其初、次级电压比分别为194伏/15.5伏、173伏/15.5伏、150伏/15.5伏、123伏/15.5伏;相应的阻抗比为2500欧/16欧、2000欧/16欧、1500欧/16欧、1000欧/16欧。其他几种喇叭也各有几种线间变压器可以选用,不再赘述。因此,可根据实际情况,灵活选用。图14仅是其中的一种配接方式。