电视机的质量主要决定于显象管重显图象的质量和伴音的好坏。显象管是电视机的重要器件。电视信号经过高频、中频、视频等各级电路的处理,加到显象管上,重显出电视发射台所发送的节目,如果前面各级电路工作正常,而显象管或其有关电路发生了故障,就会直接影响到接收的效果或看不到图象。为了判断显象管及其电路的工作是否正常,就必须对显象管及其电路的结构以及各极工作电压加以了解。
显象管和有关电路
我国35SX2B型黑白显象管的结构如图1,管颈内部电子枪除灯丝外,有五个电极。管颈外部靠近锥体装有偏转线圈,偏转线圈的后面是中心位置调节器,靠近管基部位装有离子阱磁铁。如果这些部件无故障,安装部位适宜,显象管各极所加电压符合规定,显象管就能正常工作。

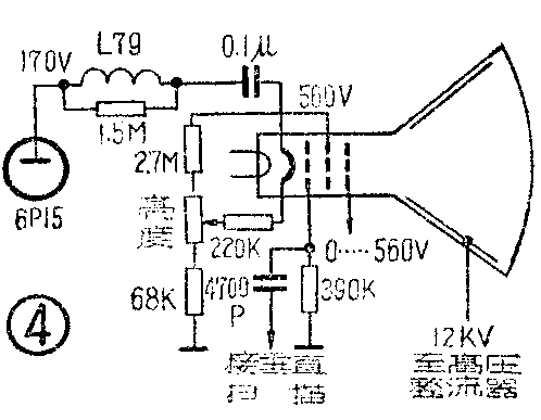
显象管各极电压应分别是:灯丝电压为交流6.3伏,阴极直流电压为190伏,栅极直流电压比阴极直流电压低30—60伏,加速极对地直流电压为560伏,聚焦极对地直流电压为0—560伏,第二阳极直流高压为12千伏。
供给显象管各极电压的电路方框图如图2,图3和图4是常见的显象管电路,灯丝由6.3伏电源供给,视频放大级供给显象管阴极视频信号,显象管的栅极电压从低压整流电源取出,垂直扫描级和水平扫描级分别供给显象管垂直和水平偏转线圈所需电压,高压整流管供给显象管第二阳极12千伏高压。



如果显象管电路发生故障,就可从测量各极电压中找出故障所在之处。
故障检修
这里主要介绍一下显象管无光故障的检修。当显象管发生这种故障时,一般应先检查显象管第二阳极有无12千伏高压。简便的检查方法是用长起子的金属杆接底板,金属头接近第二阳极,在距离约10毫米左右处,如有白蓝色强有力的直线放电火花,说明正常,故障不在这里。若是紫蓝色弧形放电火花,说明不正常,是交流高压,不能使显象管工作。若起子距离第二阳极很近,甚至接触上,都无放电火花,说明根本无高压。对高压不正常或无高压的现象,就要检查行输出变压器的次级绕组和高压整流管(1Z11),因它们损坏都能造成无高压。高压整流管灯丝与屏极相碰,则产生交流高压。若行输出级工作不正常,也会使高压不正常或是无高压。所以还必须检查行输出管的各极电压,其中帘栅极电压,对高压的影响很大。一般正常情况的帘栅极电压,应为120伏到140伏左右。电压过低或过高都不正常。
如果高压正常,而显象管无光栅,就要检查显象管加速极电压是否正常,因为加速极无电压,也会使显象管无光。加速极无电压,一般是加速极电阻或电路发生断路或短路造成的。另外离子阱磁铁没有调整好,也会使显象管发生无光的故障。
显象管的栅极电压和阴极电压不正常也是造成光栅亮度不正常或无光的原因。显象管栅极电压有两种供给方法:一种是供给比阴极低30—60伏的正电压、阴极与视放末级屏极为直接耦合,这样视放级出故障屏压变化时,就会直接影响显象管的阴极电压,造成显象管光暗或无光。在这种电路中,显象管光栅亮度的调整,是用电位器改变栅极电压来实现。若无栅压,多为亮度电阻断或电位器坏;另一种是显象管栅极接地,栅压固定为零,显象管阴极经电容器与视放末级屏极耦合,阴极电压为正30~60伏,是从水平扫描输出级的提升电压中获得。这种电路是用改变阴极电压的大小来调整光栅的亮度。任何显象管电路,都要保持阴极为正,栅极比阴极电位低30—60伏,否则就不能正常工作。有时显象管第二阳极12千伏高压和加速极电压(560伏)同时没有,其故障是在水平扫描部分。显象管灯丝电压是用单独的灯丝绕组供给的,若无电压时,常见有灯丝引出线脱焊,绕组断或调频开关错开等造成。
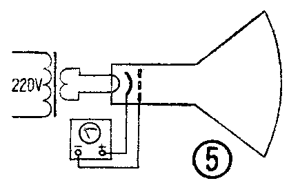
若显象管各极电压都正常,无光,调离子阱磁铁也不起作用,就要考虑显象管是否坏了。从外面观察电子枪内有紫红色气体,说明显象管漏气无法使用。若没有看出问题,就要用高内阻(20千欧以上)三用表来测量显象管内阻,如图5。显象管灯丝加上6.3伏电压,其他各极与电路断开,三用表正表笔接阴极,负表笔接栅极,这时表上指示的电阻值若在10千欧到100千欧之间,说明显象管正常。显象管内阻超过100千欧,阻值越大,光栅越暗,说明显象管衰老。内阻在500千欧以上就发不出光了。如果测量时无指示有三种可能:一是表笔接错,二是显象管阴极断,三是显象管严重衰老。

对于显象管衰老,光栅暗,可以采取提高显象管灯丝电压的方法补救,以提高光栅亮度。但灯丝电压一般不宜提得过高,最大到9伏也就到顶了,再提高灯丝电压就会损坏灯丝,达不到补救目的。在一般使用中不要过高提高灯丝电压,以免减低显象管的寿命。
显象管有光栅不是最后目的,还要光栅在屏幕上不歪,没有黑边、黑角,扫描线都能清楚地分开,才算正常。如不正常,要进行必要的调整。
调整方法
若出现光栅倾斜或图象偏左、偏右,要先调垂直幅度和水平幅度调节钮,使光栅幅度缩小至不超出荧光屏前面的方框,左右旋转偏转线圈可以校正光栅的倾斜,光栅偏左或偏右不在中心,可以调整中心位置调节器,调到使光栅上下、左右都对称为好,再将光栅垂直、水平幅度放大到适宜的幅度。
若光栅出现暗角时,要先检查一下偏转线圈是否靠紧显象管的锥体部分,如果有距离就会出现暗角,若偏转线圈已紧贴显象管锥体部分,可能是因离子阱磁铁没调好造成的暗角。调整离子阱磁铁,可以解决暗角,也可改善聚焦。调整要反复进行,直到效果最好为止。
若由于离子阱磁铁没调好而造成显象管无光,调整时,首先将垂直扫描输出管(6P1)拔下来(这是为了使光栅集中)。亮度要开到最大,再调整离子阱磁铁,待屏幕出现一条亮线后,将亮度减小,将垂直扫描输出管复位,屏幕上会出现光栅,再调离子阱磁铁,使光栅最亮为止。调整时,聚焦与光栅亮度不完全一致,亮度最亮,聚焦不一定好,聚焦好,亮度不一定够。这时,应在照顾屏幕中间大面积光栅聚焦清晰的情况下,使光栅亮度够用即可。(中央广播事业局北京服务部)