我院革命医务人员和工人同志,通过实践,制成了《晶体管床位号码器》。过去我院病房中使用的号码器(也称电铃)接线多,容易接触不良,影响治疗工作。现在采用了数字管和开关电路后,不但数字显示清楚,而且大大地减少了接线。例如,过去100只病床需要101根电线,100只小电珠,现在只需要20根线,3只数字管,再加上一些半导体元件就可以了。颇受病员和医务人员的欢迎,我们把该机的主要原理介绍如下:
1.个位数数字管的显示。在晶体管床位号码器中选用了SZ—1型的数字管。当阳极经限流电阻(39K)接上+180伏电压时,任何一个阴极和阳极之间的电压大于150伏时,该阴极就起辉。点燃后,当电压低于100伏时,该阴极就熄灭。工作电流约2毫安左右。十个阴极分别表示0~9的10个数字。为了便于说明问题,假设一个病房有10只病床,如果把10只病床上的开关分别控制数字管的10个阴极,那么,任何一个开关接通,都能点亮从0~9中相应的一个数字。由这个数字管显示出的数字,我们把它作为个位数(见图1)。但是这样只能取得一位数字,不能解决更多床位的显示问题。

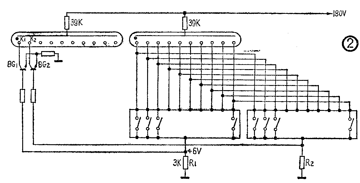
2.十位数数字管的显示。利用个位数数字管阴极通过开关不直接接地,而是串一只3K电阻接地(见图2)。当这10只病床上,任何一只开关接通时,电流通过阴极和接通的开关,经过电阻R\(_{1}\)回路,此时,个位数数字管就起辉,并在R1上产生一个电压降,约为+6伏,把这+6伏电压接到一个高反压三极管BG\(_{1}\)的基极。而BG1集电极接在另一个数字管的一个阴极K\(_{1}\)上,发射极通过电阻接地,BG1相当于一只开关,当基极加上正偏压时,BG\(_{1}\)导通,数字管的阴极K1就起辉显示出一个数字,我们把它当作十位数。例如阴极K\(_{1}\)上显示出的是“1”字,那么就可以反映出“10”~“19”十个数字。

同样,第二个病房中的10只病床上,开关接线的一端,分别接到个位数数字管的阴极上,开关接线的另一端并联后再通过电阻R\(_{2}\)接地(见图2)。这样第二个病房中任何一只开关接通时,电阻R2上也能产生+6伏电压去控制BG\(_{2}\),使BG2导通。则十位数数字管相应的阴极K\(_{2}\)就起辉,显示出“2”字。依次接通病床开关就可得出“20”~“29”十个号码来。
总之,每10只病床开关接线的一端,都分别接到个位数数字管的10个阴极上,开关接线的另一端并联后通过一个3K电阻接地。这样100只病床分别接到R\(_{0}\)、R1、R\(_{2}\)……R910只电阻(见图3)。无论那一个病床开关接通时,在相应的电阻上产生一个电压降,10个电阻分别控制10只开关管,十位数的10个数字就都能显示出来。因此我们可以得到从“00~99”的100个数字。

3.百位数数字管的显示和声音信号。在医院中,病区的划分通常以百位数来表示的。如内科病区是101、102……199,外科则为201、202……299,所以床位号码应能反映出百位数字。另外反映出数字的同时还需要有声音信号以引起值班人员的注意。为此,在电阻R\(_{0}\)、R1……R\(_{9}\)上,分别接上一个二极管DK1,二极管正极接到电阻上,负极都并联接到BG\(_{1}\)0和BG11的基极上,当病床开关接通时,无论在R\(_{0}\)、R1……R\(_{9}\)那一个电阻上有+6伏电压,都会使相应的二极管处于正向导通。将电压加到控制百位数数字管的BG10的基极上,同时加到声音信号装置中BG\(_{11}\)(3DK4)的基极上。这样个位数、十位数、百位数的3个数字管就一起点亮,同时由小喇叭发出声音信号。
4.病房的接线原理。晶体管床位号码器与病房中开关的接线原理见图3。每个方块表示有十只病床的病房。把电阻R\(_{0}\)、R1……R\(_{9}\)上分别连接到病房中去的接线,作为十位数信号线,就是“00、10、20……90”10根线。
每一根十位数信号线分别接到10只病床上,然后,将病床上开关的另一根线与其他床位号码中个位数相同的线并联起来,再接到个位数数字管相应的管脚上。
例如“300”~“309”的10只床,都由00这根线接到病床开关上去。……同样“390”~“399”床,都由90这根线接到病床开关上去。
再把“300”“310”“320”……“390”床上开关的另一根线并联起来,接到个位数数字管的第③脚上,即“0”字。(数字管管脚布置见图4)。

把“311”“321”……“391”床上开关的另一根线也并联起来,接到个位数数字管的脚上,即“1”字。
以此类推,“319”、“329”……“399”开关的另一根线并联后接到个位数数字管的第④脚,即“9”字。不论床位多少,其接线原理相同。
5.元件的选择和制作。在晶体管床位号码器的电路中,控制十位数和百位数数字管的三极管(BG\(_{0}\)-BG10),都要承受较高的电压,而且是长时间处于截止状态。如果稍有一些漏电流,马上就会点亮数字,或出现余辉。所以必须采用高反压管,一般选用2G012或3DG400系列的管子,放大倍数β较低的高反压管也可以用。
在高反压管的集电极上串了一只稳压二极管2CW23C。在三极管处于截止时,它能帮助降掉一部分电压,减少三极管所受的电压。还有二只并联在十位数和百位数数字管阳极上的稳压管3W180,主要是稳定工作电压,保护数字管和高反压管。而个位数数字管是由病床上开关来截止的,一般不加保护电路。
十位数和百位数数字管上的限流电阻阻值,可根据试验来决定。一般使数字管的工作电流限在1—2毫安范围内,使亮度适中。
声音信号装置实际上是一个音频振荡电路。输出变压器的铁芯可采用半导体收音机的输出变压器的铁片。初级用φ0.25漆包线绕100圈,反馈线圈用φ0.10漆包线绕40圈,输出线圈也用φ0.10漆包线绕50—80圈(见图5)。

该机在使用中也反映出一个缺点,就是两个以上的开关同时接通时,数字会重迭模糊,这种情况,可以加装推键来改善。就是把个位数和十位数数字管的阴极接线,分别通过2只十档推键的常闭触点,当数字有重迭模糊时,用推键使数字分别导通来分清楚。
晶体管床位号码器除了作病房电铃之用外,在工业上可以用作监视机器或设备的正常运转,这时声音信号装置要改成声音较大的电路。(上海虹口区第二医院)