本刊今年第3、5两期介绍了SBT—5同步示波器的Y轴放大系统及X轴系统的工作原理,现在继续介绍它的显示电路及附属电路。
显示电路
示波器的主要元件是阴极射线示波管,它能将非常抽象的、眼睛看不到的各种电信号形象地显示在荧光屏上。它也象电子管那样用灯丝加热阴极,于是阴极发射电子。调制极可控制电子束发射的强弱。在聚焦极和辅助聚焦极上加适当的电压可实现聚焦作用,使电子束到达屏幕时能汇聚在一点。加速阳极加上一千多伏的高压电压,在示波管内形成强电场,电子束在此电场的作用下加速射向荧光屏,并在荧光屏上产生光点。
示波管内有两对偏转板:Y偏转板上加变化的电压可使光点在Y轴(垂直)方向移动,X偏转板上加变化电压光点会在X轴(水平)方向移动。
为了保证Y轴、X轴的信号加到示波管时能正常的显示,显示部分包括示波管电路和高频高压电路。
示波管电路
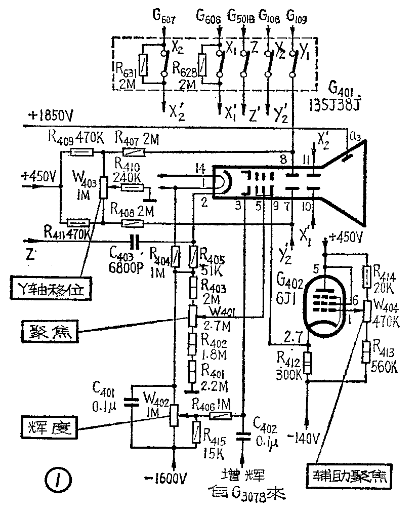
SBT-5采用13SJ38J示波管,其电路图如图1。

13SJ38J示波管的有效屏幕直径为116mm,关于此管的典型工作条件可参阅《通用示波器的原理、使用和维修》一书。在实际使用中各级电压有些差异。现将主要电极的对地电压列表如右。

与典型工作状态对照可知:加速阳极电压略有提高,这对辉度和聚焦来说有所改善,但偏转灵敏度略降低些,因此需要提高X、Y轴放大器的增益。在示波管电路中增辉信号经C\(_{4}\)02输入到示波管的栅极,因栅极有负高压,所以采用耐压较大的电容器。同理C403是耐高压电容,电容一端接在机后的外输入板“Z”插座上,接受亮度调制信号,调制幅度一般有40V即可。辅助聚焦电位通过G\(_{4}\)02来调节,由于G402阴极输出阻抗小,电子束(辉度)改变时,对辅助聚焦电压的影响也小,因此对光点的聚焦影响就较小。由于Y轴放大器的末级是经电容耦合到Y偏转板的,因此设有直流恢复电路R\(_{4}\)07~R411和W\(_{4}\)03。旋转W403时Y轴上、下偏转板的电位相应增减而能实现Y轴移位。
高频高压电路
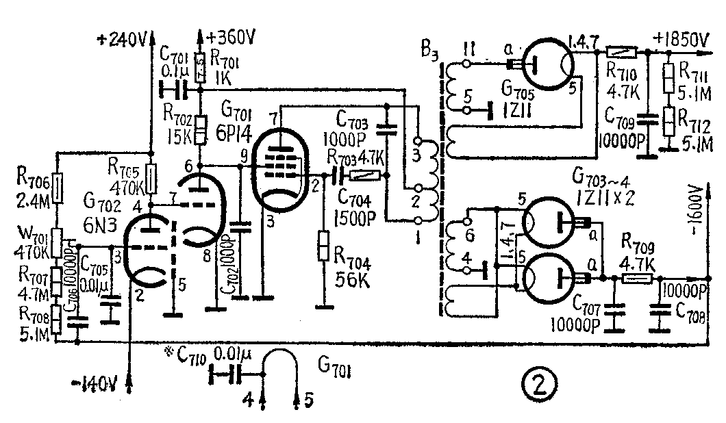
早期的示波器正、负高压是从电源变压器的次级高压绕组整流滤波而得的,电压这样高的交流绕组容易击穿,同时还要用大容量耐高压的滤波电容器。SBT—5示波器利用振荡器产生高频电压,并经变压器升压后整流来获得高压,这样可以大大减少高压线圈的匝数,较易采取绝缘措施。高频高压电路如图2。在G\(_{7}\)01的板栅间接一振荡回路C703和高频变压器B\(_{3}\)3的1、3绕组及抽头2组成电感三点式振荡电路。B\(_{3}\)是采用高μ铁淦氧铁心,正常工作时G701板极有约340V交流信号,经次级4~6绕组和5~11绕组整流后分别送出负、正高压供示波管使用。G\(_{7}\)03、G704并联整流后经π型滤波输出-1600伏电压供示波管阴极回路使用。G\(_{7}\)05进行正高压整流,经Γ型滤波输出+1850V的电压供示波管第三阳极,作加速电压。振荡回路的频率约50千赫,由于频率较高,因此滤波电路的电容量可较小,体积也可缩小。

示波管加速阳极对阴极电压的大小,对偏转灵敏度有很大影响,因此正负高压在供给示波管时应该是稳定的,不能因电流(辉度)变化而影响供电电压,同时还希望电压在一定范围内可调。因此在R\(_{7}\)09负高压输出端对振荡回路采用负反馈,这一反馈是通过分压器R708、R\(_{7}\)07、W701、R\(_{7}\)06进行的。由于R706上端接有稳定电压+240V,所以当负高压因负载变化或其他原因而偏离额定位时,偏差数值即通过分压器和C\(_{7}\)06传递给G702A栅极。G\(_{7}\)02A和G702B(即G\(_{7}\)02的左半部和右半部)都是直接耦合放大器,G702A栅极上的偏差信号经二级放大后作用于G\(_{7}\)01帘栅极,用以控制振荡的强弱来补偿负高压的偏离。对负高压的自动稳压调节,通过B3的作用正高压也收到部分的稳定效果。

调节W\(_{7}\)01可以改变G701的工作点,因此用来调节输出高压的额定值。
附属电路
示波器不但能显示波形的形状,还能测出参数,如幅值、周期等。为此本机设有一个基准的方波电压用来校准幅度,设有基准的时标信号用来校准时间,这二个单元分述于下:
1.比较信号发生器。
此电路由G\(_{2}\)01和G202组成,见图3。其中G\(_{2}\)01A和G201B组成一自激多谐振荡器,频率由C\(_{2}\)02、C203、R\(_{2}\)02、R203所组成的时间常数决定。R\(_{2}\)03与W201并联,而R\(_{2}\)03的数值远较W201为小,故W\(_{2}\)01能起调节方波宽度(对称度)的作用,但对振荡频率影响很小,本电路的频率为1KHZ。自激振荡的信号经G202B放大限幅后由G\(_{2}\)02A阴极输出。调节W202可使G\(_{2}\)02A阴极输出50V方波,通过K201对各档分压器的选择便可输出七档基准幅度的方波电压。

2.时标信号发生器。
本单元由G\(_{5}\)01、G502组成,见图4。其中G\(_{5}\)01A起开关作用,受来自C314的负脉冲所控制。G\(_{5}\)02是冲击激励振荡器,其阴极有五组LC回路。当G501A被负脉冲截止时,电路按电感三点式振荡原理进行工作,振荡的频率由LC常数决定。当一次扫描结束,负脉冲消失时G\(_{5}\)01A便导通,阴极的低阻抗使LC回路的Q值降低,振荡停止。振荡信号经G501B放大和上、下限幅后加到示波器后面的Z轴插座对被观察的信号进行调制,二调制点的时间间隔即为面板上开关所指的时间,由此可以测出被测信号的时间参数。(上海无线电二十一厂技术组)