这里向农村知识青年介绍一种成本较低、制作调整较易、输出功率为2~3瓦的简易半导体两用机。该机曾在北京远郊区使用过,效果良好。
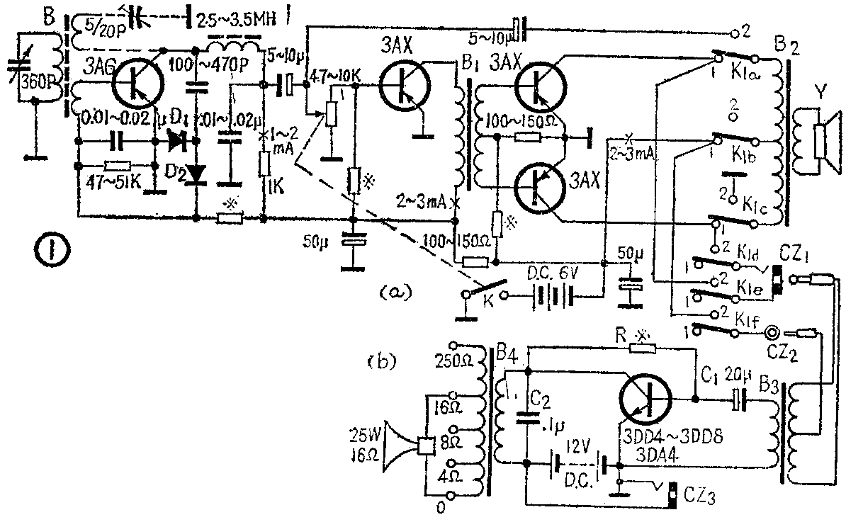
整机线路如图1所示。(a)为收音机部分;(b)为一功率放大器。收音机除作为一般的半导体收音机使用外,还可以加用功放级带动一只25瓦16欧的高音喇叭,供300~400人开会扩音用;也可以带动30只0.1瓦的压电晶体喇叭,作为生产队的有线广播机用。扩音时,收音机内的扬声器可作为话筒。

收音机部分
收音机部分如图1(a)所示,是再生来复式四管机,也可以用超外差机。再生机在远郊使用,收电台较少,外差机收台较多,但在开会、讲话扩音时,这两种收音机的使用效果基本相同。由于开会时,用机内的扬声器作话筒,所以在收音机内要加装一只6×2的波段开关K\(_{1}\),使扬声器和输出变压器B2通过K\(_{1}\)的接点2接到音量控制电位器上,利用收音机的音频放大部分进行放大。为了将放大后的音频信号传送到扩音器的功放级,在收音机上安装两只插座CZ1和CZ\(_{2}\)(可用收音机上的耳机插座和天线插座),CZ1接推挽晶体管的集电极,CZ\(_{2}\)接机内电源负极。当波段开关K1拨至1时,该机仍为一半导体收音机,通过机内扬声器可以照常收听广播。
扩音器部分
扩音器部分是用收音机的音频放大部分作为前置放大,只要加装一级功率放大就可以了。为了尽可能利用β值较小的晶体管(这类管子通常不易配对使用),扩音器的功放级采用甲类单管功率放大,见图1(b)电路。由于负载电阻是输出变压器B\(_{4}\)的初级阻抗,其直流电阻很小,因此该电路的稳定性较差,适合用β值小的硅管。(因硅管的Iceo随温度的变化比锗管小)。晶体管可选用低频或高频大功率硅管,如3DD4~3DD8、3DA2、3DA4等,只要集电极最大耗散功率P\(_{CM}\)≥10瓦、VCM≥30伏、I\(_{CM}\)≥0.75安、β≥10的管子均可使用。我们用了一只β为9的大功率硅管,扩音器的输出功率超过2瓦。
B\(_{3}\)是扩音器的输入变压器,也是收音机的输出变压器。从图1可以看到,当K1拨至2时,收音机内的输出变压器B\(_{2}\)已与机内扬声器配套作话筒用了,这样推挽输出与功放级之间就缺少一只级间耦合变压器,B3就是作这个耦合变压器用的,其规格与B\(_{2}\)同。
B\(_{4}\)为功放级的输出变压器,其铁心截面积应能满足输出功率的要求,其形状可为“山”字型,心柱的截面积为4cm\(^{2}\)即可。由于功放级的电源电压为12伏,输出功率按3瓦计算,则负载阻抗应为24欧(即B4的初级阻抗)。其次级阻抗应适应扬声器的音圈阻抗。一般扬声器的阻抗有4、8、16欧几种。为了能适应多种使用情况,B\(_{4}\)的次级阻抗应有4、8、16欧以及适应带动30只0.1瓦压电晶体扬声器的250欧等抽头。其初、次级线圈的比值分别为\(\frac{\sqrt{24}}{250}\)、24;16、\(\frac{\sqrt{24}}{8}\)、24;4等。各线圈数据见图2。制作时,先按铁心柱大小做一线圈架,将线圈绕在线圈架上。然后用26号漆包线绕200匝作初级线圈(注意层间垫纸),再裹上一层牛皮纸作为初、次级线圈间绝缘用的;次级线圈0~16欧共需160匝,也用26号漆包线绕制,在83匝处抽头为4欧、116匝抽头处为8欧、160匝抽头处为16欧;然后再用33号漆包线焊在16欧处继续绕500匝为250欧。线圈绕完后,将铁心两片两片的对叠插入线圈架中,全满后将紧固螺丝上紧。

输出变压器B\(_{4}\)也可用原有的线间变压器代替。若用25瓦的定阻式线间变压器,接线如图3;若用60瓦定压式线间变压器,接线如图4(图3、4中两条箭头线分别接功放管的集电极和电源正极)。用线间变压器代替输出变压器,阻抗不完全匹配,略有些线性失真。

若没大功率硅管,也可以用锗管(如3AD6、3AD15、3AD30、3AD18等)。这时需在发射极电路中串一只3~5瓦的5欧电阻(可用可调的线绕电阻),增加电流负反馈,以提高电路工作的稳定性,改善音质。但整个扩音器的增益要减少。
若仅带25瓦16欧的高音喇叭,可采用阻容耦合输出。这种电路稳定性较好。从图5可看出,这是一种电压并联负反馈电路。当由于某种原因集电极电流I\(_{C}\)增大时,则输出电压URL增大,反馈电流也增大,因反馈电流与输入电流在输入端是并联连接的,所以使基极电流I\(_{b}\)减小,使得IC也减小,输出电压也减小,从而稳定了输出电压,但用阻容耦合输出时,输出功率也减小了一些。

制作与调整
收音机部分是一般半导体收音机,其制作与调整可参阅本刊今年第三期。开关K\(_{1}\)以及插座CZ1、CZ\(_{2}\)应安装在机内低频部分。
安装功放级时,先将B\(_{3}\)、C1、C\(_{2}\) CZ3按原理图排列好,安装在一块150毫米×30毫米×2毫米的印刷电路板上,如图6所示。从B\(_{3}\)输入端引出三根软线焊在插座CZ1及CZ\(_{2}\)的插头上(注意B3的中心抽头焊在CZ\(_{2}\)插头上)。再由C2引出两根软线,接到B\(_{4}\)输入端,将25瓦16欧高音喇叭接在B4输出0~16欧端子上。在使用大功率管时应加散热片,我们把废旧铝制品(如铝壶梁等)分为上下两层作散热片用(相当于400毫米×30毫米×2.3毫米的散热片),将大功率管装上,如图7所示。散热片装好后,就可将管子的三个极焊到印刷电路板上。将电流表接入图6中所示的接电流表处,再取一50千欧的电位器,将阻值旋到最大,接到电路中R处。电路接好后,仔细检查一遍,就可以进行调整了。
调整时,先接通12伏电源。此时I\(_{C}\)较小,慢慢旋动电位器,使IC增至360mA。然后将功放级的插头插入CZ\(_{1}\)、CZ2插座中,将K\(_{1}\)拨至1,打开收音机开关,选一电台。再将K1拨至2,这时大喇叭即应放音。这时电流就随着放音情况而变化,即输入信号强时,集电极电流减小,无信号输入时,集电极电流较大。若信号输入后,电流变化幅度不大,可再调电位器,(注意静态电流不要超过400mA)使电流变化幅度最大。电流变化幅度大,说明功放级的效率高。若用β值高的大功率管,则R值也必然大,就会减弱负反馈,影响音质。若失真明显,可在B\(_{3}\)与C1之间加一变压器B\(_{5}\),如图8所示,因为B5的规格与B\(_{2}\)3相同,可以使输入阻抗接近匹配。

调整好后,将收音机关掉,把功放级电源断开,取出电流表,将串联电流表的电路短接。再把电位器取下,量一下电阻值,取一\(\frac{1}{4}\)瓦的固定电阻R代替焊上。最后将功放管连同散热片用机螺丝和印刷板装在一起。如图9所示。使用时,若要讲话,只要把收音机的调谐电容选一无电台信号位置,对着收音机内扬声器讲话。扩音的音量由收音机的电位器控制。
电源部分
电源用8节1号电池(12伏)。若用12伏500毫安的整流电源,效果更好些。当不进行扩音时,收音机仍可单独使用。(钱信格)