本文打算就低电压收音机(供电电压在3伏以下的收音机)的有关技术问题作一介绍,供从事这方面工作的同志和业余爱好者研究参考。
一、为什么要制造低电压收音机?
收音机采用低电压的电源工作,其主要理由是省电,说得确切些是节省电池。干电池有一个特性,就是大电池单位体积的容量比小电池大。例如一节一号大电池以150毫安放电,每天放电一小时,可以延续四十余天;而一节五号小电池以39毫安放电,在相同的条件下,只能延续十九天。如果设计一台输出功率为200毫瓦的收音机,效率50%,每日开机1小时。若采用1.5伏(一节一号电池)供电,不难算出12天需更换一次,每月需2.5节;但若采用6伏(四节五号电池)供电,则6天就要更换一次,每月需20节。可知采用前一种低电压供电方式要节省得多;而一节一号大电池与四节五号小电池的体积相仿,还能保持袖珍机体积小巧的优点;此外,采用大电池购买方便,贮存期长,而且能为国家节省大量的锌、锰等材料;由于电源电压低了,对电路元件的耐压也相应地降低了要求。
但是事物总是一分为二的。低电压收音机由于要采用低电压供电而对收音机的电路、元件和制作工艺提出了一些特殊的要求,给制作维修带来不便;另外对体积不要求很小的收音机和一些高级收音机就没有必要采用这种供电方法。
二、低电压下晶体管能够正常工作吗?
在低电压下,晶体管能否正常工作,这是大家最关心的问题。为了便于说明,我们先做一个实验:找三只万用表,按标准线路连接,测出低放管3AX31B的I\(_{C}\)~UCE曲线,如图1A所示(为说理方便,曲线画得有些理想化)。再用这只晶体管照图1C装一个6伏放大器,其工作点和放大作用的图解分析见图1A。然后再按图1B装一个1.5伏放大器,工作原理分析也见图1A。假设两放大器的工作点(I\(_{C}\))相同,就会发现:如果输入信号不大,两放大器的放大倍数基本相同,其原因是当UCE达到0.2伏时,管子已工作在曲线的平直部分,也就是当电压高于0.2伏时,管子即可正常工作,那么1.5伏更没有问题了。总结上述实验,可以得出这样的结论:低电压下,对小信号输入,放大器性能无损,简称“小信号无损”。

但是对于大信号输入,情况就不同了。我们还用刚才那个放大器,把输入信号加大,会发现,对于图1C的放大器,当输入正弦波时,输出还是个正弦波(见图2);而对图1B的放大器输出变成了另一种波形,产生了失真,其原因是电压低到1.5伏时,限制了信号幅度的增长。这种情况简称为“大信号受限”。

三、改革一部6伏再生机
把一部四管6伏再生机的电源电压降低到1.5伏,偏流重新调到原来的数值,那么会产生什么样的结果呢?这时会发现声音变小,但灵敏度几乎不变。这是因为收音机的前几级在小信号下工作,小信号无损,故灵敏度不会下降;而收音机的低放级都工作在大信号的状态下,由于前述大信号受限的原因,使声音减小了。怎样才能不使大信号受限呢?
大家知道,如果电源电压用E\(_{CC}\)表示,晶体管集电极负载电阻用R′L表示,输出功率用P表示,则P=E\(^{2}\)\(_{CC}\)/2R′L。从此式可看出,电源电压降低后要保持原来的输出功率不变,只有相应地降低R′\(_{L}\)。我们再从输出特性曲线来看,图3中,AB是6伏机的负载线,ΔAOB的面积就是输出功率。当电源电压降低到1.5伏时,为保持ΔCOD与ΔAOB相同,必须使CO=4AO,也就是要把电流AO相应地增至四倍,方可保持原来的功率,而相应的R′L要下降到原值的1/16。

怎样才能降低R′\(_{L}\)呢?请看图4,n1、n\(_{2}\)分别为初、次级匝数,R′L为集电极负载电阻,R\(_{L}\)为负载电阻,它们之间的关系为
R′\(_{L}\)=(n1/n\(_{2}\))\(^{2}\)RL

例如:n\(_{1}\)=54匝,n2=71匝,R\(_{L}\)=8欧,则R′L=(54/71)\(^{2}\)×8=4.6欧。
相应的输出功率为:P=E\(_{CC}\)\(^{2}\)/2R′L=245毫瓦,实际上由于晶体管饱和电压的影响,只可得到180毫瓦的不失真输出。因此,在做低电压收音机时,应选饱和电压小的管子。另外,输出变压器的匝数比一般的要少,可选用较粗的线绕,变压器效率就高,可达95%。由于n\(_{1}\)和n2相近,宜于做成自耦变压器,效率还可进一步提高。
R′\(_{L}\)小了,增益就小,故1.5伏机需要的末级推动功率比一般机器为大,也就是末前级输出的功率要大。我们还是采取同样方法,改革输入变压器(改后数据如图5),以减少末前级集电极的R′L,并适当增加末前级的I\(_{C}\)来达到目的。
但是,将这套改革后的变压器装到机器上,声音还是很小,这是因为末级、末前级的R′\(_{L}\)都大为下降,故增益大量降低,并且由于电压较低,检波器输出电压也小了,纵然末级有输出较大功率的可能性,但前边推不动,声音还是小。解决的办法是增加一级音频放大级,以增加总增益。因此,低压机比一般6伏机应多一级音频放大。当然如采用高β管而不增加放大级也可达到目的。
增益提高了而且末级电流较大,就应注意加强电源退耦,以防自激振荡。
经过上述改革后,普通的再生机均可改为1.5伏机,而保持原有技术指标。
四、改革一部6伏超外差机
采取上述措施改革一部6伏超外差式收音机,改革后,变频级虽能正常工作,中、短波均可收音,但发现声音干瘪、噪声变大。原因在哪里呢?我们用图6来说明。图6画出了一部七管超外差机的方框图和各部分的信号波形。由于超外差机增益很高,第一中放级的信号幅度将达到电源的水平,而在第二中放级就已经大大超过了1.5伏,而使调制信号全部被“切掉”,成为一个等幅波。这种现象称为“阻塞”。由于这时中频信号是等幅被,故检波器没有音频信号输出。按理,这时收音机应当无声。而实际上有声,这是因为信号还可通过自动增益控制(A.G.C.)等回路窜过;或者将频率调偏,灵敏度降低后也可以有声。但这时声音失真很大,说话声象感冒了一样,很干憋,听音乐则杂乱无章。由于噪声幅度小,故不会阻塞,所以这时又伴随有极强的噪声。由此可知,增强自动增益控制就可以避免阻塞失真,如图6下部所示,这时第二中放级不致阻塞,同时噪声也大为减小。

1.5伏机的自动增益控制,到底应加强到什么程度呢?我们用图7简化电路作一些说明。当使用6伏时,C点最大允许信号电压为6/\(\sqrt{2}\)=4.2伏,R\(_{L}\)上的电压为0.84伏,一旦超过这个数就要阻塞;如改用1.5伏,则C点允许最大电压为1.5/2=1.06伏,RL上最大为0.212伏,超过这个数就要阻塞。可知在不发生阻塞的条件下,1.5伏机检波器输出电压应为6伏机的0.212/0.84,即1/4。

假设,1.5伏机和6伏机在无自动增益控制作用时增益相同,都是A\(_{0}\)0=检波前电压/天线输入端场强),显然6伏机不阻塞的最大场强为0.84/A\(_{0}\)=E6;1.5伏机的则为0.212/A\(_{0}\)=E1.5,两者相差四倍,即1.5伏机的场强只能为6伏机的1/4,否则即阻塞。
综合上述,为了使1.5伏机不产生阻塞,必须把自动增益控制作用比6伏机加强16倍才行。具体措施如下:
1.选用输出电压较高的第三中周。图8是1.5伏机适用的典型数据。由于起自动增益控制作用的直流分量E\(_{dc}\)与第二中放级的输出电压成正比,选用输出电压高的中周就增强了这种作用。杭州产的MFT-2-9型(淡绿)、上无二十八厂和南京延安无线电厂的TTF-2-9型和北京出品的T10A-3型(黑)第三中周均可采用。

2.被控制的中放管选用β值高一些的管子。该管发射极电阻不应过大;集电极电流应选在β强烈变化的部位上。
3.采用二次自动增益控制电路,如图11。

4.采用倍压检波。这不仅提高了检波信号,也加强了自动增益控制作用。
经过上述改革后,确实改善了音质,总的指标与6伏机大体相仿。可是问题并未完全解决。因为低压机的降压特性太差,当电源电压下降25%时,灵敏度可以下降10倍,收音机几乎成了哑巴。因此还必须采用基极供电电源稳压的方法来改善降压特性。稳压器可以用普通硅二极管,或用普通硅三极管(如图9)。前者适用于1.5伏锗晶体管收音机,由于其稳定电压不高,且稳定性不够,故不能用于1.5伏硅管机;后者稳定性好,电压较高,锗、硅管机都能用。

此外,低电压收音机收弱电台时会发现噪声较大,这是因为自动增益控制作用动作过早,导致灵敏度必须高而造成的。图10画出了几种不同的自动增益控制状态。曲线①表示不到1毫伏/米就阻塞,这样的机器毫无实用价值;曲线③表示控制动作过早,如上述将引起噪声大;曲线②作用强,动作较晚,音质好,噪声小,灵敏度也高。

还应注意热稳定性问题,改善措施是用热敏电阻补偿,适当加大各发射极电阻。
上面介绍的改革措施对3伏低电压收音机也完全适用。
五、电路介绍
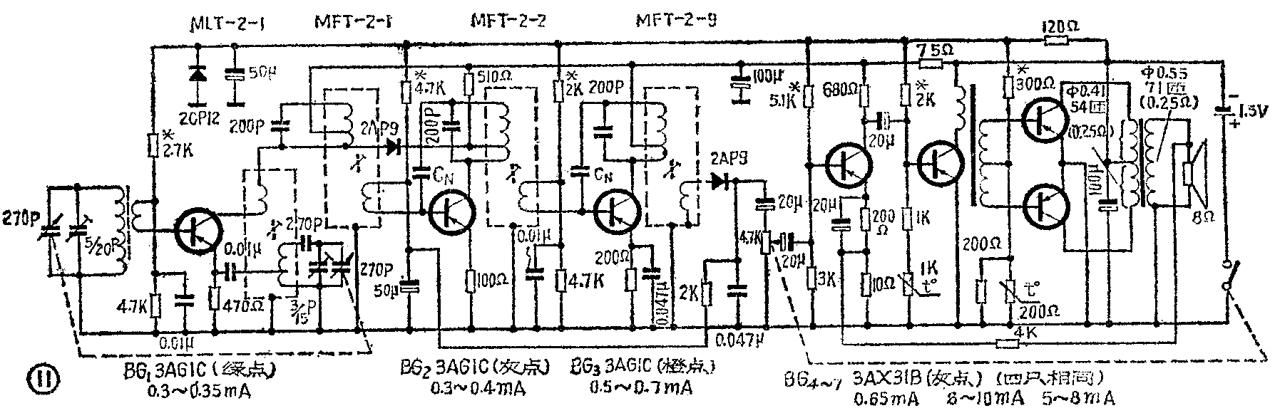
目前低电压收音机电路很多,有再生式1.5伏收音机,有5~9管的各种1.5伏超外差机,其中有用锗管的,有用硅管的,有单波段也有多波段的。3伏的低压机种类也不少。这里介绍一种七管超外差低电压收音机的电路(见图11),供参考。
这种电路只要元件无误,布线合理,很容易制成。三只高频管BG\(_{1~3}\)的β值分别选用50~60、100左右、30~50,四只低频管的β值均应大于80,否则低频增益不够。末级低放管应选饱和电压小的管子。
本机各线圈数据为:天线线圈是在φ10×120毫米磁棒上,初级用φ0.07×7线绕67匝;次级用同号线绕4匝。振荡线圈用φ0.08线初级绕0—4—89匝;次级绕7匝。中周Ⅰ、Ⅱ、Ⅲ均用φ0.07线绕,初级分别为0—45—117匝、0—45—117匝、0—48—114匝;次级分别为7、10、25匝。第Ⅲ中周必须按这里的数据绕制,其他中周和中振线圈则无一定要求。输入、输出变压器的铁心尺寸见图12,绕制数据分别见图5、11。

为了得到图10②所示的自动增益控制曲线,采取:(1)选用输出电压高的第三中周;(2)BG\(_{2}\)管β=100,发射极电阻选取100欧;(3)以2AP9和510欧电阻构成二次自动增益控制。(徐业林)