直接放大式电视机虽然简单,但是它的灵敏度比外差式电视机低得多,特别是直接放大式电视机转换频道的设备,制作和调整极为困难。因此,用于接收多频道电视广播的电视机,一般不采用直接放大式电路。
外差式(此处仅指单通道式)电视机由于采用了变频电路,因而转换频道就较简单,这里转换频道的工作是用俗称“高频头”的部件来完成的。
“高频头”并不是什么神秘的东西。业余爱好者自制也容易办得到。我在自制的过程中,深深地体会到实践出真知的道理。的确你要知道梨子的滋味,你就得亲口尝一尝。我是参照上海104—2型及北京牌825—1型两种电视机高频头制作的。现介绍如下。
电路简介
高频头包括高频放大、混频和本机振荡三部分,是由两只双三极管组成,如图1。高频放大器要求工作稳定、信号杂波比高,因此用一只双三极管接成阴地一栅地电路(G\(_{1}\)、G′1)。若采取三极管阴地放大器作高频放大,由于三极管屏一栅极间电容的影响,会使放大器产生自激振荡。若用五极管作高频放大,虽然可以防止高放自激,但是五极管的固有杂波比三极管的大得多。而采用三极管接成栅地电路就可以克服这一矛盾。但是栅地放大器作为输入级时,其输入阻抗低是一个严重的缺点,这会使信号源的电压将有很大一部分降落在信号源的内阻上,使实际上加到电子管栅阴间的电压减小。同时低的输入阻抗与天线阻抗匹配时,输入回路的次级线圈圈数必须比初级的圈数少,这无形中又降低了输入电压。由于输入阻抗低,则输入回路的Q值很低,通频带就很宽,使通过输入回路的杂波增大。为此,在栅地级G′\(_{1}\)前面接一个阴地放大级G1,其输入阻抗高,与天线阻抗匹配时,不仅提高了输入信号电压,也提高了回路的Q值和选择性,降低了输入杂波。由于G\(_{1}\)的负载阻抗就是G′1的输入阻抗,所以G\(_{1}\)的增益很低,也就不会因反馈产生自激。由此可见阴地一栅地放大器中的阴地级主要起阻抗变换作用,栅地级保证增益。在高频段由于G1的输出电容和G′\(_{1}\)的输入电容的旁路作用,增益也有所下降,因此在G1的屏极和G′\(_{1}\)的阴极之间接入了扼流圈L6,使其与电子管输入、输出电容组成串联谐振回路,以均衡各频道的放大量。

电路中的C\(_{6}\)和C21为中和电容,它与G\(_{1}\)管的屏栅和阴栅极间电容及电容C3组成电桥,当电桥平衡时,G\(_{1}\)的屏极(H点)电压就不会反馈到G1的栅极,避免了电子管本身的杂波反馈到输入端。这既保证了G\(_{1}\)管工作更加稳定,也防止了由于本机振荡信号窜到天线而辐射,去干扰附近电视机的工作。
高频放大器的负载是电感L\(_{3}\)、L4和电容C\(_{9}\)以及电子管的输出、输入电容组成的电容耦合双调谐回路。
另一只双三极管,是混频和本机振荡合用的,其中一半(G\(_{2}\))与电容C13、C\(_{18}\)、线圈L5和极间电容等组成电容三点式振荡电路。L\(_{5}\)为振荡线圈,改变它的圈数就可改变振荡的频率。电容C15是用来减小电子管与振荡回路间的耦合,以减小电子管工作时由于温升引起的参数变化,防止影响振荡频率的稳定。R\(_{11}\)和C14供给振荡管的栅漏偏压。R\(_{1}\)0是用来降低回路Q值,减弱本机振荡的强度,以免增大混频器的杂波。本机振荡器的输出电压经耦合电容C11加到混频器G′\(_{2}\)的栅极。而从高放来的信号经电容C9也加到G′\(_{2}\)的栅极。混频后的中频信号,由谐振于中频的调谐回路(L7、L\(_{8}\)、C15、C17组成π网络)和电容C\(_{22}\)耦合到中放级去。
电容C\(_{1}\)0是为接收低频道(即第一频道)时所需的通频带而增设的。
安装与制做
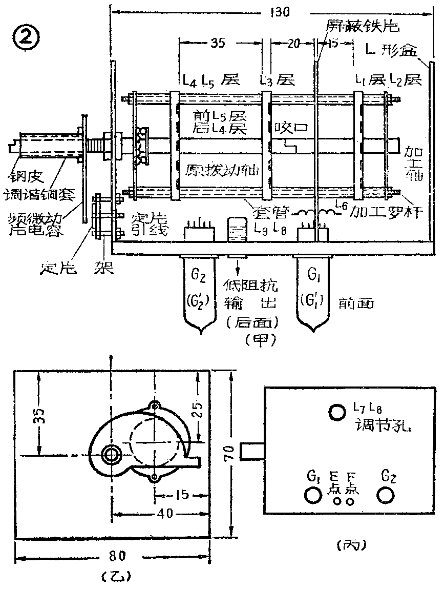
1.屏蔽罩:屏蔽罩一方面起屏蔽作用,另一方面也是固定高频头零件的底板。它是由做成的底板和相同形状的罩盖组成。图2是底板的侧视图。底板最好用镀锌铁板,盖子用薄铁皮或铅皮都可。

为了防止波段开关各层线圈之间的不良影响,在轴尾第二、三层间装一屏蔽隔板,这样可以避免高放级输出及本振、混频部分对输入电路的正反馈。隔板大小以把两部分完全分开为宜,形状如图3。隔板上开一较深的缺口,使管座装上后扼流圈L\(_{6}\)可从其下穿过。

2.频道转换开关:可用收音机的波段开关改制。因这种开关的层与层间距离短,必须把拨动轴杆接长到8—10厘米,使安装线圈有足够的空档。选购时要选择层片上接线片间距离大的开关,以保证调整时有拉伸线圈的余地。转换频道时,由于拨动轴杆直接影响各相应线圈的换接是否同步,因此,接长的轴杆既不能小,也不能偏。波段开关的换档范围可根据所在地区电视频道的数目决定。这里采用的是三层双刀四掷波段开关。图4所示为一层的结构。由图可见,当各活动刀A接至5时,仅是线圈L\(_{Ⅴ}\)接入电路(LⅤ另一头直接接到相应部位,这样可少占一组接片)。当A换接至4时,线圈L\(_{Ⅳ}\)被串入,为第四频道,接至3时又将线圈L\(_{Ⅲ}\)串入,为第三频道,由此类推。当A拨至B时,又串入了线圈LⅠ,为第一频道,即采用逐段短路线圈的方法实现频道转换。
3.频率微调电容:电容C\(_{13}\)用来微调本振频率(2—5兆赫)。定、动片的形状和大小可按图5所标尺寸,用1.5—2毫米厚的钢片或铅片制作。动片装一个铜套(可用收音机拉线调谐铜套),以便套在波段开关轴上。定片中心装一铜螺丝,既做为固定用,又作为引出线。固定时,将定片下垫一绝缘板,并注意铜螺丝与底板也要绝缘。定、动片之间距离为0.5—1毫米,并且定、动片能完全重合与分离。
4.小容量电容:C\(_{9}\)、C10两只电容可用一根细接线(塑胶接线为好,因有高压须绝缘),在另一根粗漆包线上绕几圈而成。C\(_{3}\)、C4、C\(_{5}\)等小电容也可自制,采用无感绕制的方法,即用两根漆包线其中一根线在另一根上绕5—6圈后,另一根再在这根线上也绕同样圈数,但方向相反(也可以一根线在另一根上绕几圈再反向绕几圈)。
5.低阻抗输出电路:线圈L\(_{7}\)、L8绕在线圈管上,内有高频瓷心可调(也可用黄铜心)。在安装这只线圈时,须注意调节孔与底板开孔相对,便于调节。
各线圈的绕制数据见表。线圈的绕向要一致,否则会使电感减小。

高频头所用元件要注意质量,波段开关最好用瓷质的,电容采用高频损耗小、质量稳定的,如瓷片或瓷管式的。调谐回路的电容宜采用小型负温度系数的。电阻不要采用合成电阻,否则会增大杂波,其阻值也不稳定。
电子管采用6N1(若手头无6N3、6N11等)效果也很好,电路也不必变更。为了防止产生自激,电子管管座中心柱必须接地,必要时在中心柱上焊一块隔离铁片,把输入、输出部分分开。须接地的管脚,可直接扳向中心柱焊接。各接线要短捷。初学者为了美观,往往不肯把电阻、电容等元件的引线剪短,这往往是增加不必要的电感和分布电容,产生自激的原因。
传输线的插头可借用废八脚电子管的管基。
有时灯丝会成为自激的公共内阻,因而可按图6接入高频去耦电路。其电感L可绕十余圈。

整机采用一点接地,以免自激。接地线应用粗铜线。
调整与测试
高频头装制完毕,并检查接线无误后,即可进行调试。最好能够在一架正规的电视机上校正(注意插头要与正规机插座接线相符),而且采用高增益天线或在离电视发射台近的地方进行。将自制的高频头(先不插电子管)接线插头插到正规机器的插座,检查各级电压是否符合要求。若正常,可将本机振荡和混频合用的电子管插上,先检查本振是否工作,并调整频率。方法是:测量混频器栅极电路接点E或F(图1)对地电压,若有-2伏左右的电压,说明本振正常。也可用高内阻电压表,测量振荡管屏压(图1C点),同时用起子将振荡线圈L\(_{5}\)两端或栅极与地之间短路,这时若屏压降低15—30伏,说明本振是工作的。因为短路时振荡停止,栅负压降低,屏流增加,所以屏压降低。此时扬声器发出喀啦声,荧光屏上有杂波。
若本振工作,即可进行本振频率的调整。将天线馈线经一只5—10微微法小电容,接到混频栅极,此时微调电容置于中间位置(即动、定片重合一半),拨动本振线圈的圈与圈之间距离,拨疏一些振荡频率增高,密一些则振荡频率降低,反复调整直到使荧光屏上出现图象,喇叭发出伴音为止。若只听到伴音而无图象,说明本振频率偏高,可使线圈密一些。如果只有图象而无伴音,就应和上面的调整方法相反。若线圈无调整的余地,可以增减圈数。一直调到既有图象,又有伴音,然后再和L\(_{7}\)、L8线圈交替调节(调磁心),使图象对比度最大、伴音清楚宏亮为止。
最后把天线接入天线插孔,将高放电子管插上,调整高放级各线圈L\(_{4}\)、L3、L\(_{2}\)、L1。反复调节,以求得到图象最清晰,伴音最好。微调电容从重合到完全分开时,应使图象对比从弱到强,再从强到弱。
总之调整工作必须耐心、细致,反复地进行,以求得到最佳情况。微调C\(_{13}\)电容时,应不出现负象、镶边等自激现象,否则需重调L4。(朱焕培)