自六十年代初,一种新颖的光源——激光器,以它独有的特性,广泛、迅速地被应用到宇宙探测、通信、计量、测距、电视、照相、机械加工、科学研究和国防建设等各个方面。我国电子工人在毛主席的革命路线指引下,把激光技术应用到气象科学方面,利用激光射束可以穿越大气,并对云滴有一定反向散射的能力,制成了激光测云仪。它可用来测量云底高度,作为气象观测项目之一,为农业和飞行安全服务。由于激光波长远小于无线电波长,所以它比普通微波气象雷达能探测到更多、更详细、更精确的气象现象,它的探测范围可从数十公尺低空到数十公里高空。此外还可以测量任何固体目标(如各种建筑物、烟尘等)的距离。
激光测云仪的基本原理与雷达测距相似。就是测出激光射束从仪器到云底的往返时间,自动以下列公式求得距离。
h\(_{1}\)=\(\frac{1}{2}\)c(t1+t′\(_{1}\))
式中 h\(_{1}\)是第一层云底高度,c是光速=3×10\(^{8}\)米/秒。
t\(_{1}\)是激光射束从仪器到达第一层云底的时间。
t′\(_{1}\)是散漫回波从第一层云底返回仪器的时间。
假如测得t\(_{1}\)+t′1=6.7微秒
则h\(_{1}\)=\(\frac{1}{2}\)·3×10\(^{8}\)·6.7×10-6=1000米。
同样,可求第二层云底高度
h\(_{2}\)=\(\frac{1}{2}\)c(t2+t′\(_{2}\))。
式中t\(_{2}\)+t′2是激光射束从仪器到第二层云底的往返时间。见图1。测量结果可以直接从数字显示系统读出。

激光测云仪主要由激光收发系统和数字显示系统组成。
一、激光收发系统 该系统包括三个部分:1.激光发射部分。2.接收部分。3.瞄准望远镜。
1.激光发射部分主要是用来产生和发射激光射束的装置。它是由激光器和发射望远镜所组成。激光器包括工作物质——红宝石;激发能源——脉冲氙灯;共振腔——聚光器;介质膜和转镜Q开关——装在高速电动机上的直角棱镜。见图2的左半部分。

激发能源用脉冲氙灯,脉冲氙灯的引燃要用一个触发器,见图3。氙灯二端跨接大容量的电容,当电容充有1000伏电压时,氙灯的二端即具有1000伏电压。当电容器上充有高压以后,虽然高压已同时加在氙灯电极上,但在正常情况下,并不能使氙灯点燃,还必须用一个几万伏的脉冲高压,使灯管内形成火花,才能把储存在电容器中的电能量释放,使氙灯发光。这时,发升压变压器的初级输入几百伏的触发信号,其次级就会产生上万伏的电压,这个高压送至绕在氙灯上的触发丝,即可使氙灯引燃,随着电容c对氙灯放电,发出强光,在椭圆聚光器内照射红宝石,也就是说红宝石在来自氙灯大量的光子作用下,产生粒子数反转\(^{*}\)。通过红宝石的光束在共振腔内来回振荡,逐渐形成向着一个方向发光,而且强度愈来愈大,利用转镜Q开关的突变,使积累的能量以极快的速度在极短的时间内(不到一千万分之一秒)一下子放出来,因而获得极大的激光功率(可以达到兆瓦级)。这样就为我们提供了波长为6943埃的强大测云光源。
2.接收部分主要是用来接收激光参考脉冲信号和散漫回波脉冲信号转换成电参量的装置。它是由接收望远镜、小孔光栏、干涉滤光片和光电倍增管所组成,见图2的右半部分。小孔光栏用于阻挡光干扰。干涉滤光片的作用是只让波长为6943埃的激光透过,不允许其他背景干扰进入。光电倍增管是光电能量转换的元件,它能把接收到微弱的激光回波信号转换为电信号,然后放大整形送到数字显示系统。导光器是将激光器发射激光射束的时间取出一个参考脉冲信号送入接收部分,作为计时的开始。
接收部分所接收到的信号时序如图4。

3.瞄准望远镜是用来瞄准所测目标,它和普通的望远镜的结构相同。
二、数字显示系统 主要由30兆赫振荡器,电子门,门控电路、计数和译码电路组成。方框图见图5。其主要任务是根据参考脉冲和回波脉冲间的时间间隔自动换算成距离,以数字形式显示出来。

30兆赫振荡器提供标准时钟频率,采用晶体元件使输出稳定。其电路见图6,周期T=1f=0.033微秒,即每隔0.033微秒能送到电子门一个脉冲信号。输出级用射极跟随电路,防止负载影响频率的稳定。
电子门的作用很象人们进出的大门,可开,可关。当电子门开的时候,振荡器的输出是可以通过它到达计数电路,电子门关的时候,则通不过去了。电子门主要由三个晶体管组成,见图7(甲)。

我们如果把BG\(_{4}\)、BG3当作二个开关来看,当A、B二点无偏压时,BG\(_{4}\)、BG3均截止,如图7(乙)所示,电子门是关闭着的。如果在A点加上正偏压,B点仍无偏压,此时电子门打开了,如图7(丙)所示。又如果A、B二点都具有正偏压时,此时电子门由于BG\(_{3}\)导通而短路,如图7(丁)所示,这种“串并式”电子门的特点是开关速度比较快。
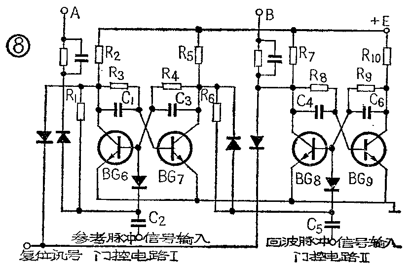
控制电子门的线路叫做门控电路,见图8。门控电路可比喻成开门关门的“把手”,它是由二个单边输入的双稳态触发器所组成。(图8中的A、B两点就接到图7A、B两点上)。

在激光射束发射前,先输入一个负的复位信号,此时门控电路Ⅰ的BG\(_{7}\)即处于截止状态,BG6处于导通状态。门控电路Ⅱ的BG\(_{9}\)处于截止状态,BG8处于导通状态。一般硅开关三极管导通时集电极电压约0.1伏,因此A、B二点此时的电压约为0.1伏,故电子门的工作状态如图7(乙),是关闭着的。当时间T\(_{0}\)瞬间,发射激光射束时,一个极微的光束被取样作为参考脉冲信号,当这个负的参考脉冲信号输入到门控电路Ⅰ的C2端,双稳态电路即翻转,BG\(_{6}\)截止而BG7导通。A点电压上升,如图7(丙)所示,电子门被打开。30兆赫振荡器的钟频信号就通过电子门送到计数电路,当激光射束历经T\(_{1}\)时间碰到第一层云底反射回来,这个回波脉冲信号输入到门控电路Ⅱ的C5端,使BG\(_{8}\)截止,BG9导通。B点电压上升,如图7(丁)所示,关闭了电子门。
若电子门开启的时间为6.7微秒,刚30兆赫振荡器通过计数器的脉冲数为:6.7×10\(^{-6}\)×30×106=200个。我们设计的计数器,每通过一个脉冲则显示“5”字样,所以通过200个脉冲就显示出“1000”字样,这样就直接读出所测云高为1000米了。
我们再来研究一下整机的工作过程。如图5所示,当光泵点燃时,取出一个复位脉冲,使仪器处于待命状态,当发射出激光射束时,取出激光参考脉冲,送到放大器和整形电路,再送到门控电路Ⅰ,打开电子门,使计数器开始计数。当激光射束遇到云层反射回来,回波脉冲亦送到放大器和整形电路经回波电子门,再送到门控电路Ⅱ,把电子门关掉,计数器停止计数,直接显示出云高读数。回波门控电路的作用是目标超距时立刻关闭该电子门,以防止此后的任何干扰信号输入。如果云有二层时,便可多收到一个第二层云反射回来的回波脉冲,这时又可将门控电路Ⅲ翻转,并给出一指示信号,这就告诉我们这时有二层云,我们便可将开关K置于门控电路Ⅲ位置,再测一次,这时就会显示出第二层云的云高,见图1。(上海无线电二十三厂生产组激光组)