SBT—5同步示波器的X轴系统是控制、驱动示波管X轴偏转板的系统。X轴偏转板可以有三种驱动方式。
第一种是经机后的X\(_{1}\)、X2偏转板插座直接将信号输入示波管。这种信号应该具备足够大的幅度。按X轴偏转板灵敏度的规定,每偏转一公分应有16~22伏信号,如以全屏幕12公分计算,需要192~264伏驱动信号。为了保持良好的聚焦,信号应该是推挽的,并且不应有很大的直流电位,否则聚焦受影响。
第二种是通过水平放大器输入一外加信号。如果说第一种需要推挽大信号的话,那么这一种便可以是单相小信号,经过水平放大器放大和倒相后,平衡输出到示波管。
第三种驱动方式是最重要的,用机内的正向锯齿波驱动。这种锯齿波在0.1μs/cm到10ms/cm范围内分档连续可调,扫描电路既可工作于触发扫描又可工作在连续扫描。这个电路是X轴系统的关键电路,因此要先将其基本电路介绍一下。
1.扫描电路的基本原理
本机采用门控管扫描电路,基本原理见图1。U入信号到来之前,门控管G的栅极电位近似于零伏,因此门控管充分导通,板极电位很低。在t\(_{0}\)时刻,栅极输入一幅度足够大的负脉冲,由于所选择的门控管G为高跨导管,因此它迅速截止,于是Ebb经R\(_{t}\)按照指数规律问Ct充电,在输出端即有正向上升的锯齿波,并经X放大器去驱动示波管,使荧光屏上的光点自左向右移动,这种扫描称作正行程。

在t\(_{1}\)时刻,输入负脉冲消失,G导通,Ct上所充的电荷迅速经G放电,荧光屏上的光点迅速从右边移到左边,这种扫描称为负行程,或者叫回扫,这一次扫描便告结束。
2.触发电路
触发电路应具有下列作用:①把各种内、外触发信号进行放大,并进行极性转换及整形;②保持各档扫描的幅度大致相等;此时要求输入负脉冲的宽度随扫描有相应的改变(见图2)。③向示波管提供增辉脉冲。④控制时标电路的工作。

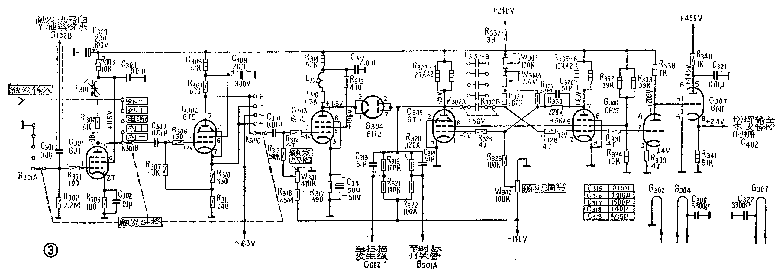
SBT—5的触发电路由G\(_{3}\)01~G307组成,见图3。G\(_{3}\)01是一宽带放大器,来自Y轴系统G102B的内触发信号经此级约放大13倍。由于对低频响应要求不高,所以用C\(_{3}\)07耦合,对于G302来说工作点更容易稳定在线性区内。因为G\(_{3}\)02栅极上的信号较大,为防止非线性失真,将栅极电阻的下端连接于阴极二个串联电阻之间。同时放大器设计成倒相器,在其极极和阴极均有信号输出,但相位相反。由K301C作相位选择,使G\(_{3}\)03栅极始终为一正向信号,保证G303板极有一负向脉冲输出,以开启隔离二极管G\(_{3}\)04。在G303的栅极电路中设有W\(_{3}\)01“触发增幅”电位器,当电位接近正常偏压区时,输入的信号就在此电平的基础上开启G303使其导通,板极电位迅速下降,G\(_{3}\)04便随之而导通。G304导通后,阳极电位被阴极电位所箝也迅速下降,形成一负向的阶跃波,这个负脉冲的幅度较大,用来驱动后面的电路。

G\(_{3}\)05和G306组成一单稳态触发器。它的唯一的一个稳态是G\(_{3}\)05截止,G306饱和导通,如果没有外加触发信号,这个状态是不会改变的。这时,G\(_{3}\)06的板压很低;G305的板压等于板极电源电压;电容C\(_{315}\)~C319两端的电压也等于G\(_{3}\)05板极电源电压。当触发信号输入时,其负脉冲经C315~C\(_{319}\)作用到G308栅级使其板极电流减小,板压上升,经C\(_{32}\)0、R330耦合到G\(_{3}\)05栅极使G305导通,其板极电压突然降低,又使G\(_{3}\)08栅极电压下降、板流减小,于是产生一个雪崩过程,很快使G308截止、而G\(_{3}\)05由导通进入饱和状态。此时,G305板极输出一个负脉冲驱动扫描电路开始扫描。由于G\(_{3}\)05板压很低,于是使继之而来的触发脉冲不起作用。但G305导通,G\(_{3}\)06截止这个状态并不能长期维持下去,G306的栅极电位随着C\(_{315}\)~C319经过G\(_{3}\)05、+240伏电源、R337、W\(_{3}\)03、W304A、R\(_{327}\)路径的放电而不断提高,并向+240伏趋近,当G308栅极电位渐渐提高到某一电平时(图1中的t\(_{1}\)时刻),G306翻转为导通,G\(_{3}\)05又复截止,这一次扫描便告结束。C315~C\(_{319}\)五档电容与W303、W\(_{3}\)04A、R327分别组成五个时间常数,这五个时间常数控制单稳态翻转的时间,也是控制门控管栅极作用脉冲的宽度,它对应五档扫描的校正时间。W\(_{3}\)04A使脉冲宽度连续可变,对应五档扫描均可微调,不过这一些都是在与扫描电路的时基常数严格同步的情况下才能实现。W303作脉冲内部校正之用。
除了工作于单稳态外,G\(_{3}\)05和G306尚可调节为自激多谐发生器。
在G\(_{3}\)06管栅极还并联接有G307A栅极,G\(_{3}\)04传送过来的负向脉冲,也使G307B阴极有一正向脉冲输出,幅度约40伏,此信号经C\(_{42}\)0传输给示波管栅极,使其在扫描期间因增加电子束而增加辉度,因此叫做增辉脉冲。
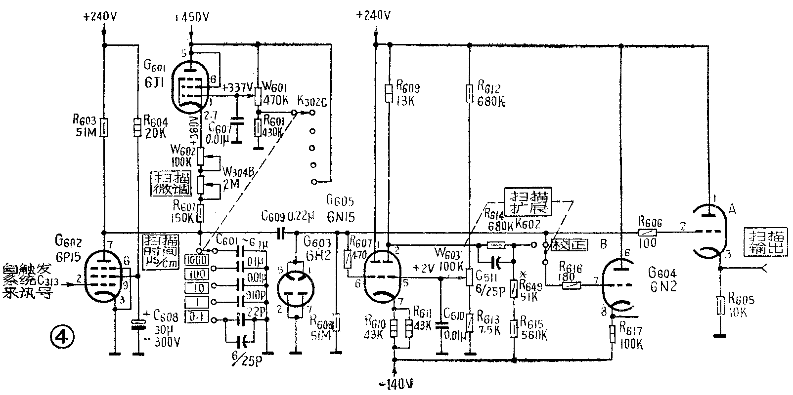
3.门控管扫描电路
门控管扫描电路见图4。G\(_{6}\)02的启闭受G305板极电位的控制,负向脉冲经分压器R\(_{319}\)、G313和R\(_{321}\)衰减后馈送到G602栅极。扫描的时间常数由W\(_{6}\)02、W304B、R\(_{6}\)02和C601~C\(_{6}\)06确定。与触发电路一样,电容也分为五档,每档内扫描微调用W304B进行,它与触发电路中W\(_{3}\)04A是一个经校正的同步电位器,二者的同步越好,扫描线长度的差异越小。当G602因负脉冲作用而截止后,电源+450V经调整管G\(_{6}\)01阴极和时基电阻对电容充电。必须说明的是G601作为一个低内阻的可调电流源对时基电路进行供电,充电电流的大小视各档电容而变。W\(_{6}\)01用来对各档扫描速度作总的校正之用。

在G\(_{6}\)02板极上产生的正向锯齿波经电容C601耦合送到G\(_{6}\)04B栅极并由阴极馈送到X轴放大器。另一路送到G604A栅极,供面板上输出之用。这二路扫描在输出之前均由箝位管G\(_{6}\)03恢复直流起始电平,这个电平应该近似零伏,低于零伏的电压因G603导通而被箝制,这样保证了各档扫描起始点相对稳定。
G\(_{6}\)05组成扫描扩展电路,W603是一带开关(K\(_{6}\)02)的电位器,末扩展(即校正位置)时扫描信号直接由G604B输出,当“扩展”时G\(_{6}\)04B栅极回路的开关与R614连接,扫描信号于G\(_{6}\)05左边栅极(6脚)输入经阴极回路R610、R\(_{611}\)耦合,再由右边板极(2脚)输出。G605右边三极管组成栅极接地式电路,此电路的放大倍数约为5,也就是说荧光屏上的扫描线扩展后扫速快了五倍。如果原来每个波形的周期是一公分一个,那么扩展后便是五公分一个。考虑到X轴放大器对扩展前的信号经放大后输出幅度已能满足全屏幕的偏转,那么把扩展后的扫描波输入X轴放大器后不是要失真吗?事实真是这样,过大的锯齿波会使X轴放大器产生非线性畸变。但是,这种畸变正好是在荧光屏的外面,而屏幕范围以内基本上是线性的。实际上G\(_{6}\)05板极也不是把整个输入的扫描电压完整地放大五倍,而只能对扫描的某一部分放大五倍,这个局部是随着W603的改变而变化的,这是因为G\(_{6}\)05的两个栅极直接连接,因此调节W603能直接控制G\(_{6}\)04B的输出电平,在设计过程中应使电位器W603与荧光屏线性区正好配合。这种扫描扩展对研究组合脉冲的细小部分是有价值的。
4.X轴放大器

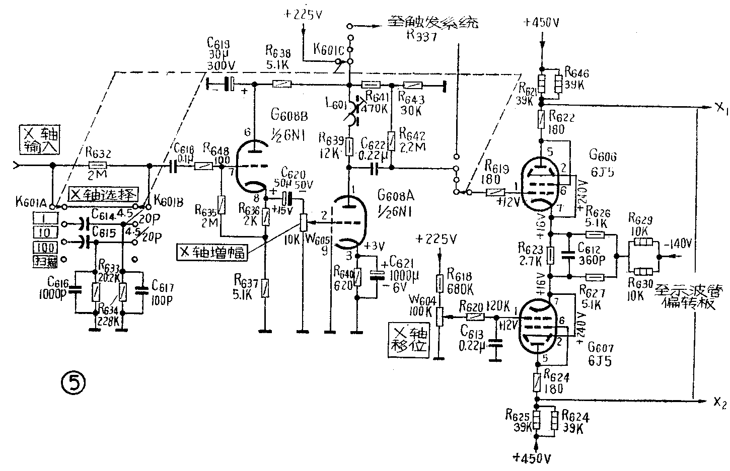
X轴放大器由G\(_{6}\)06~G608组成,见图5。其中G\(_{6}\)06和G607组成差分放大器,G\(_{6}\)06栅极上的锯齿电压经阴极耦合倒相后由两管板极推挽输出。在外接X轴输入时,开关K601将G\(_{6}\)08A与G606连通。外接信号的大小除由衰减器可供选择外,还有“X轴增幅”电位器作微调。X轴一般不需要很宽的频带,所以只安排了一级放大。(上海无线电二十一厂技术组)