钻石牌701型时钟收音机,是我厂职工遵照毛主席“独立自主”、“自力更生”的伟大教导,设计试制的为工农兵服务的新产品。本机将半导体收音机与半导体时钟组合在一起,除了能单独收音和计时外,还可通过时钟控制进行一定时间的定时自动收音,鸣闹部分并以蜂鸣电路代替一般闹钟的机械式鸣闹,它具有一机多用的特点。
一、电路简介
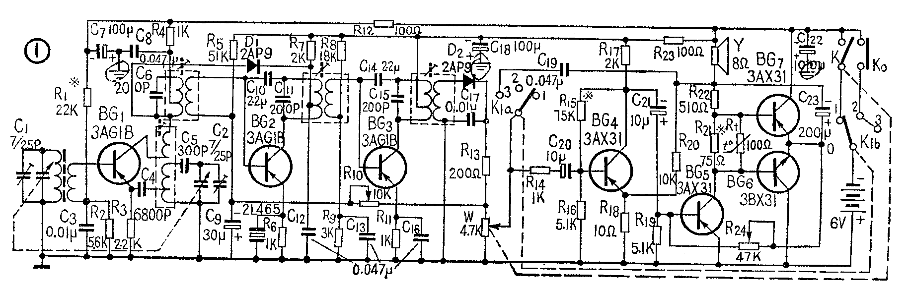
收音机部分相同于一般半导体收音机。电路的低放部分采用无输出、无输入变压器的线路,配用我厂生产的锗NPN型3BX31三极管和锗PNP型3AX31三极管组成互补推挽电路(见图1)。采用这种电路比通常的推挽输出电路省略了一对输入、输出变压器,提高了传输效率,同时使得低放部分的频率特性得到改善,这类线路不易产生频率相移并可引入较深的负反馈,可使音质得到显著改善,也免除了用变压器带来的缺点。这种电路的工作原理由于本文篇幅所限不作详细介绍,只是从调整的角度作一些简要说明。

低放部分由BG\(_{6}\)、BG7两个导电特性完全相反的三极管组成推挽电路。由于这种特点,它们只需一个共同的输入端。BG\(_{4}\)是前置放大级,它的作用是将收音机检波部分送出的低频信号予以放大。BG5是提供BG\(_{6}\)、BG7所需信号的激励级。电阻R\(_{21}\)、Rt、R\(_{22}\)和扬声器音圈阻抗是BG5的负载,其中热敏电阻R\(_{t}\)用作温度补偿,R21和R\(_{t}\)的作用是避免推挽管子工作时产生交越失真,调节R21的大小就能改变管子的工作状态,消除输出信号波形的交越失真。微调电阻R\(_{24}\)是BG5管的偏流电阻,调节它的阻值,能改变BG\(_{5}\)的静态电流和集电极电压,从而也确定了图中O点的电位。以这样的偏置方式可以达到稳定线路工作的作用。当由于某种原因使O点电位变动时,BG5的基极也随之影响,就改变了BG\(_{5}\)的工作状态而恢复O点的电位。
线路参数是经反复调整试验后确定的。调节R\(_{15}\),使BG4的集电极电流为1毫安。调节R\(_{24}\),使BG5 的集电极电压在-2.8伏左右,使BG\(_{6}\)、BG7两管的电压V\(_{ce}\)各为3伏(最好用示波器看输出波形是否对称)。调节R21可使R\(_{21}\)、Rt两端的电压为0.3~0.4伏,这时BG\(_{6}\)、BG7的电流大小可根据交越失真程度而定,该电流也不宜过大,否则将增加电源损耗。由于BG\(_{5}\)和BG6、BG\(_{7}\)是直接耦合的,在调节一部分时会因相互牵制而影响其他部分,不象阻容耦合或变压器耦合那样可以分别调节。因此要反复调节R24和R\(_{21}\),以得到合适的工作状态,不产生失真。还必须注意在调节R21时,R\(_{21}\)和Rt不能断开,因R\(_{21}\)、 Rt一旦断开时,BG\(_{6}\)、BG7的电流将变得很大,以致有烧毁管子的危险。
R\(_{2}\)0是负反馈电阻,通过R20将末级输出信号反馈到前置级的发射极。这对改善频率特性和失真都很起作用,但也会使放大器的增益减小,因此这个电阻的阻值要适当选用。
为了获得定时闹音,我们利用收音机的低放电路,较简单地加上一个电容器C\(_{19}\),形成正反馈,低放电路产生音频振荡,由扬声器放出蜂鸣声音,就达到了时钟鸣闹的效果。定时鸣闹由时钟控制。这种振荡调节很方便,只要改变C19,使反馈量变化,就可改变振荡频率,从而改变闹音的音调。
收音、定唱、定闹几种工作状态的选择由一只二刀三掷波段开关控制(图1中的K\(_{1a}\)~K1b)。开关K\(_{1}\)放在收音位置“1”时,时钟开关K0不起作用,此时收音机的电源由电位器上的电源开关K来控制,这是单独使用收音机。当开关K\(_{1}\)放在定时自动收音位置“2”时,K不起作用,收音机电源由钟控开关K0来控制。K\(_{0}\)的开关触点是安装在钟的时轮上,轮上有金属扇形触片来导通电源。当时针走至闹轮触点时,K0接通电源,收音机自动打开。闹轮开关触点随着时轮移动至时轮触点终点时,开关触点自动断开,这时收音机自动关闭。只要改变K\(_{0}\)触点的时轮触片面大小,即可变更定时收音持续时间的长短。本机设计定时收音持续时间为1小时左右。闹音时K1放在定闹位置“3”,通过K\(_{1a}\)的触点“3”将反馈电容C19接入低放电路,使低放电路产生自 激振荡发出蜂鸣闹音(在改进后的电路中,当K\(_{1a}\)调到位置“3”时,电阻R14未接入低放电路,以改善蜂鸣效果)。
晶体管电钟是采用共发射极开关电路(见图2)。周期性地使电池中储存的电能转换成磁能,与固定在摆轮上的磁铁相互作用,使摆轮连续进行等时摆动,以推动传动指针机构。时钟电路使用单独电源,因而时钟走时精度不受收音机电源变动的影响。

二、主要性能指标
收音部分工作在中波535~1605千赫,灵敏度小于15毫伏/米;选择性偏调±10千赫衰减不小于14分贝;额定功率大于100毫瓦,最大输出功率为250毫瓦;电源消耗额定输出时为60毫安,零信号时为15毫安;蝉鸣电流为20毫安;电源电压6伏(一号电池四节);重量1.35公斤(不包括电池)。
时钟部分走时精度为:温度-5℃~+40℃、电源电压1.35~1.55伏时,误差可调节到每日±1分以内。电池接上后即能自动起振,一节一号电池可连续走时一年左右。定唱定闹延续时间为1小时左右,定时误差为±5分。
三、元件要求
对低放末级输出管BG\(_{6}\)、BG7,要求其主要电性能指标应选得基本相同,直流电流放大系数h\(_{FE}\)二管的差别不应超过10%,一般BG7应选得高些,我们选配二管误差在5%左右。选择h\(_{FE}\)适当大些的晶体管,可选择绿点到蓝点的,即β值在50~85的。我们在放大器上做了一个取样试验:在信号频率为1千赫时具有输入电阻R入=2.7千欧,这时额定功率为125毫瓦,输入灵敏度为6毫伏/米,失真度不超过1.8%,而最大输出功率为400毫瓦,扬声器采用阻抗8欧、φ80毫米直径恒磁式喇叭,频率在20千赫~100赫时放大基本上是恒定的, 在20赫时有10分贝左右的衰减。
各级晶体管电流为:BG\(_{1}\)、BG20.4~0.5毫安;BG\(_{3}\)0.5~0.7毫安;BG40.8~1毫安。功率输出级BG\(_{6}\)、BG7的V\(_{CE}\)应各为3伏。
四、使用和保养
1.正常收音时,把右侧面下角工作开关(K\(_{1}\))拨在收音(“1”)位置,开启左边音量控制兼电源开关K,并调到适应音量,再调节右边调谐拨盘选择电台,即可正常收音。
2.定时收音:先将电源开关K放在“开”,将调谐指针调到要收的某电台位置(音量大小仍由音量开关控制调节);将工作开关K\(_{1}\)拨到“定唱”位置(“2”)。然后调节钟控定时指针的拨针匙(手柄在后盖中间),按箭头方向将指针拨到预定的时间,到时即能自动开启收音。自动“定唱”连续时间为1小时,到时能自动停止,如中途不需继续收听,可将音量兼电源开关关闭,同时把工作开关拨回收音位置,即停止收音。
4.定时闹音: 将工作开关放到“定闹”位置,将指针拨到预定起闹时间,到时即能起闹。
5.校准时钟时间:可将背面的拨针匙向外拉出,将时针顺拨过标准时间5-10分再倒拨对准即可。
6.时钟快慢校准:打开后盖,用小螺丝刀转动微调螺杆,如走时慢,向“+”方向转动;走时快,向“-”方向转动,每转一周可调节到60秒/日左右。
7.为便于维修,时钟可单独取下而不影响收音。拆卸时可将后盖打开,拔下钟控连接插头,然后将四只塑料手柄螺母旋出,略向前推,即可取出时钟。
8.收音机应放在干燥的地方,并保持电池接触点清洁。长期不用或电池用尽,应将电池取出,以防漏液流出沾污腐蚀机件。当电池快用完时音量会大幅度降低,而且声音发抖难听,这时应换新电池,注意电池极性不要接错。(上海圆珠笔心厂)