本文主要以北京牌820型电视机的高频头为例,来介绍故障的检修方法。
电路简介
高频头主要由高放级、本机振荡级和混频级组成。为了接收不同频道的信号,常采用鼓形转换开关或波段开关改变输入回路、高放一混频级间回路和本机振荡回路的线圈来实现。为了减少杂波干扰,又要有较高的增益,因此在高放级用一只双三极管组成阴地一栅地电路(图5)。从天线来的高频信号,经线圈耦合加到G\(_{1}\)管阴地级的栅极(第七脚),再经栅地级三极管放大,送到G2 管混频级的栅极。G\(_{2}\)的另一半三极管为本极振荡级,它送出振荡电压,经线圈耦合也加到混频级的栅极。混频后差出中频信号(图象中频为34.25兆赫,伴音中频为27.75兆赫),由屏极送到中频放大器。

确定故障是否在高频头
当电视机不正常时,应首先确定故障发生在哪部分,是否在高频头。检查的步骤和方法是:
①如电视机发生只有光栅,而无影无声的故障时,应检查频道转换开关位置是否正确。同时晃动一下开关,如果突然出现图象,说明频道转换开关接触不良,可拆开修理。
②检查对比度电位器是否开到较大位置。
③检查天线插座是否有脱焊、掉头的情况。
④用天线馈线插头与天线插座断续接触,如果在荧光屏上有杂波反应,喇叭发出嘎啦嘎啦的声音,这时再把插头与插座接触牢固,荧光屏上应出现很多杂波,此时转动微调旋钮,如杂波现象有所改变,可初步判断振荡频率失谐,这可在电视台播放信号时,以调整振荡线圈的铜罗心解决。
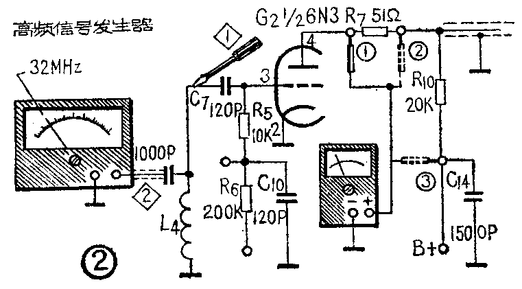
⑤经过接入天线的方法试验,如在荧光屏上无任何杂波反应,而一般电视信号是顺次通过高频、中频、视频等部分,这时用改锥在中频放大器6J1的栅极与底板间断续短路,若荧光屏上出现闪光杂波,如图1,喇叭发出嘎啦嘎啦声,说明中放后面的各级电路正常。可认为故障发生在高频头。但用刺激的方法,对有自动增益控制电路的电视机来说,其荧光屏上的杂波反应不太明显。更准确的方法,是用高频信号发生器注入32兆赫左右的中频信号进行检查。

高频头的故障
1.高频头常见故障现象:
①有光栅无影象、无声音。②影象弱、声音小。 ③影象声音忽有忽无或忽强忽弱。 ④影象重影或清晰度差。⑤自激。⑥一条水平黑带。⑦对比度电位器失调。
在解决故障时,先从外观检查,看两只6N3管灯丝是否亮,若其中有一只不亮,可交换位置或换新管试验。如果两只管都不亮,可检查高频头八脚插头和插座是否接触良好,有无虚焊。当发现高频头内有冒烟或闻到烧焦的气味,不得随意交换电子管,以防损坏。若出现影象弱声音小,可以先交换电子管试验。经过以上检查如未找出故障原因,应拆下高频头进一步检查各级。
2.混频级故障:
当无影象无声音时,检查混频级有无故障的方法有三种。
(1)用改锥在混频管栅极或120P电容与线圈L\(_{4}\) 接点(如图2)与底板间断续短路。如果出现和前述刺激第一中放栅极时一样的闪光及嘎啦声,就可以初步认为混频级是正常的。

(2)为了准确地判断故障,可用高频信号发生器,将其输出端经一只小电容(1000P)接到混频管栅极(图2),信号发生器调到32兆赫左右。如在荧光屏上出现水平带子(图3),说明混频级是正常的。

用以上任一种方法试验,若荧光屏没有任何反应,表明混频级有故障,应该测量混频管的各极电压,进一步查找故障的原因。
(3)测量混频级电压(测量屏压时先将对比度电位器开至最大)。屏极电压为+100伏为正常。①若屏压高,可能是6N3管失效或阴极断,或管座接触不良,或管座通地脚脱焊;②屏极无电压,检查电阻R\(_{7}\)(51欧)、R10(20千欧)是否断裂。可照图2中①、②、③各点进行电压的测量,以找出损坏元件。825—2型电视机的高频头,可能是电阻R\(_{14}\)(8.2千欧)断;③屏极电压低(声小影弱)应检查电阻R7、R\(_{1}\)0是否变值,电容C14(1500P)是否漏电。825—2型机器,可能是线圈L\(_{7}\)断,R14变值,C\(_{16}\)、C17电容漏电;④经检查,如各极电压正常,再检查零件是否有互碰,混频线圈和弹簧片接触是否不良或线圈头有开焊等现象,检查混频管输出电缆线与插头(第8脚)是否有断线或虚焊。825—2型机是检查线圈L\(_{8}\) 是否断,电阻R15断或变值。
3.本机振荡器的故障
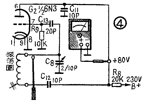
(1)如是无影无声故障,通常用测量振荡管屏压的方法,以判断振荡是否正常。如图4,将电压表接至6N3管屏极(第6脚),应有大约+80伏的电压(栅极应-2伏)。再用改锥将微调电容器定片与地短路或将振荡线圈短路一下,这时表针应当回跌20—30伏左右,说明振荡正常。若跌退很少,表示振荡弱。若表针无变化,说明不振荡。

(2)振荡管屏压若高于正常值, 栅负压很低或没有,多数是电子管失效或衰老。当屏压太高时需检查管座(第8脚)是否接触不良或接地点脱焊。若屏压低,可能是屏极供电电阻R\(_{8}\)(20千欧)烧坏或变值(此情况常见)。如果是电阻烧坏,则表现为无影无声。若电阻变值,表现为影象弱声音小。825—2型机屏压不正常的原因,有R13(8.2千欧)烧坏或变值,电容C\(_{15}\)(10P)、C18(10P)有轻微漏电。
(3)微调电容定、动片间隙约1毫米左右(容量范围2—10P)。当两片之间的垫圈日久磨损,转动微调电容时,使得影象对比度发生突变现象或垫圈断裂,调至某一角度时,使两片相磁短路,振荡停止。这可将损坏的垫圈取下,用汽油将污泥擦净,用直径为0.51毫米铜线绕一个圆圈焊牢以代替垫圈。有时压住动片的圆铁盖,装得不好,也能引起定片通地而短路。
(4)振荡频率失谐,可调线圈铜罗心,向外旋出,频率降低,反之频率增高,调到影象和声音都最好为止。如在调铜罗心时,因线圈纸管骨架被碰破而碰断振荡线圈(可用万用表测出)。应先修整好纸管骨架,再将损坏了的振荡线圈绕好。
4.高频放大器的故障
确定高放故障时,通常先测量屏极电压,因两个三极管,对直流电压来说是串联的,两屏压相互有影响(图5),当屏极(第4脚)电压为+210伏,另一个屏极(第6脚)电压为+105伏。一般阴地级屏压是栅地级屏极至地电压的一半,为基本正常。(此时对比度电位器开至最大位置。)
(1)从图5可看出,直流电压是经过降压电阻R\(_{4}\)和线圈L3加到高放管屏极(第4脚)。若测量第4脚无电压,而测量电阻与线圈接点处有电压,多为弹片与线圈接触不良或线圈断。若测量两处均无电压,则可能是电阻R\(_{4}\)断路。825—2型电视机是电阻R5(1千欧)断路。如果屏压低,电阻R\(_{4}\)发热或冒烟,可将电容C6(120P)接地端焊开。此时若电压恢复正常,说明电容器可能漏电。如果电容器是好的,再检查线圈L\(_{3}\)与混频栅极线圈L4是否相碰,而造成屏极与地短路。
(2)测量栅地级栅极电压,也可检查出高放级的一些故障。因栅极的内阻较高,用普通电表测量,不太准确,一般有+60伏左右,但可以作为检修时参考。引起栅极电压高于正常值,一般是阴地级三极管失效或管座接触不良。当栅地级的栅极上无电压或低于正常值时,除栅地级三极管失效外,经常碰到的是电阻R\(_{3}\)(510千欧)断路、变值或旁路电容C4(6800P)漏电,造成影弱声小或无声影。若C\(_{4}\) 漏电,调节对比度电位器时,在很大范围内无声无影,开到最大位置时,有较强的信号。因此,将C4电容接地一头焊开时,若信号变强了,可初步判断为电容C\(_{4}\)漏电。为了更准确判断,用万用表量,是否漏电。若量不出,可照图5将电容C4接地头焊开,用电压表测量此头与地有无漏过来的电压。有时电容C\(_{4}\)内部引线接触不良,这时栅极电压不受影响,而接收图象时,则忽强忽弱。必须换一只电容试验。
(3)高频放大器阴地级栅极,通常加有控制对比度的负压。(正常时电压为-1.5~-8伏),调节对比度电位器时,电压应当起变化。若阴地级栅极电压不正常,常见故障现象为信号很强,此时调对比度电位器不起作用,若无电压,可能是①线圈L\(_{2}\)接电阻R1端弹片接触不良;②电阻R\(_{1}\)可能断或电容C2碰地;③R\(_{2}\)断或C1漏电;④线圈L\(_{1}\)和L2互碰。因L\(_{1}\)和L2是叠绕在一起的,L\(_{1}\)中心头又通地,容易产生互碰短路。
(4)高放级其他故障:①高频自激,在荧光屏上出现白点,加上天线后,杂波更严重。一般是因线圈L\(_{1}\)中心头接地点虚焊或接地端弹片接触不良引起。②信号较弱,但各极电压正常。可能是线圈L1或L\(_{2}\)本身局部短路。主要是因本身绝缘破坏,或人为的将220伏交流电误接到天线插孔引起。也可能是电源变压器绝缘破坏与底板短路,而天线线圈经常是通地的,故当天线一插入孔内,烧毁线圈。③一条水平黑带,这种现象属于50赫调制交流波,其特点是接收电视信号时才有,而拔下天线观察光栅,则是正常的。原因是,高放管的通地脚与隔离板有的相碰,可用改锥拨动通地脚即可修复。④重影或清晰度差,其原因大致为振荡频率失谐或高频特性曲线变坏所造成。(工人 朱振明)