通常可控硅整流器多采用单结晶体管构成的触发电路。它虽具有线路简单、易于制作的优点,但产生的触发脉冲比较窄,在电感性负载条件下往往触发不可靠,使整流器性能下降。下面向大家介绍一种移相式宽脉冲触发电路。这种电路不用单结晶体管,而是用控制同步脉冲移相的方法,控制可控硅的导通角。它产生的触发脉冲宽,而且宽度任意可调,能满足不同场合的需要。此外,还具有自动稳定整流器输出大小的作用。
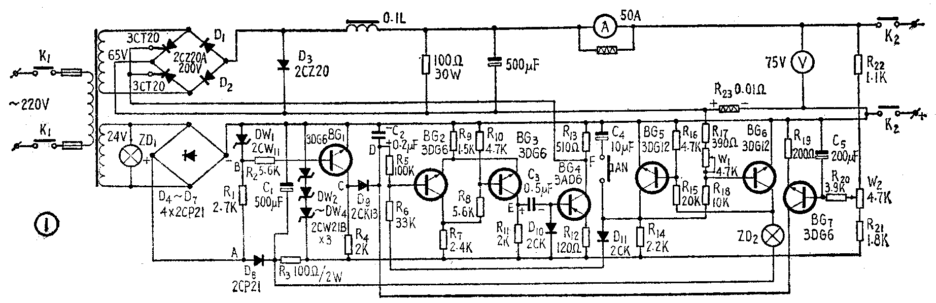
移相式宽脉冲触发电路如图1下半部分所示(上半部分为可控硅整流器主回路)。它由同步脉冲形成、移相、整形、触发脉冲形成及放大和过载保护几部分组成。各部分波形见图2。


同步脉冲形成 我们知道,可控硅整流电路中,触发脉冲必须与主回路电源电压同步。在图1中,采用了由限幅器(R\(_{1}\)、 DW1)和倒相器(BG\(_{1}\))组成的同步脉冲形成电路,产生同步信号,以控制触发脉冲形成的时刻。当电源电压过零时,限幅后的梯形波电压也过零(UB=0,使BG\(_{1}\)由饱和变为截止,其集电极电压迅速增高。电源电压过零后,BG1重新饱和,集电极电压又几乎降到零。这样,在C点就形成一很窄的同步脉冲。为了获得尽可能大的导通角范围,同步脉冲应当尽可能窄些;而同步脉冲的宽窄,取决于限幅电压与电源电压峰值之比。本电路最大导通角可达175°左右。D\(_{8}\)是隔离二极管。
移相 它的作用是根据可控硅整流器输出电压的变化,控制同步脉冲自动移相,进而实际触发脉冲的自动移相,以保证输出电压的稳定。移相过程是这样进行的:当BG\(_{1}\)截止时,C点电压迅速提高,D9导通,电容C\(_{2}\)经R4、D\(_{9}\)充电。由于C2、R\(_{4}\)数值都很小,充电时间可以忽略。C2充电后,BG\(_{1}\)的饱和使C点电压迅速地降低,D9处于反相,C\(_{2}\)便转为放电了。由于R5很大,C\(_{2}\)放电速度主要由BG7决定。可控硅整流器的输出电压经电位器W\(_{2}\)的中点接到BG7基极,使BG\(_{7}\)等效于一个50千欧的可变电阻。C2和BG\(_{7}\)组成一个零到10毫秒的延时电路。当输出电压变化时,BG7的导通程度——因而它的输出电阻——也跟着变化,C\(_{2}\)放电速度便也随之变化。这样使D点电压成为具有不同宽度的锯齿波(见图2),其起始点(前沿)不变,而根部宽度(后沿)则随输出电压而变化。
BG\(_{7}\)工作在小电流状态,稳压灵敏度较高。但它的放大倍数过大时会引起振荡,一般选在二、三十倍左右。
整形 BG\(_{2}\)、BG3接成射极耦合双稳态电路,起整形作用。移相后的锯齿波同步脉冲经该电路后,产生后沿与可控硅导通相位完全一致的方波脉冲(见图2E点波形)。为提高整形电路的输入阻抗,减小对移相电路的分流作用,BG\(_{2}\)、BG3均设计在小电流工作状态,并且BG\(_{2}\)的基极电阻R5很大。
触发脉冲形成及放大 这一部分主要由功放管BG\(_{4}\)、微分电容C3组成,作用是形成尖形触发脉冲,并使触发电流足够大。E点正方波脉冲到来时。经D\(_{1}\)0对C3充电;方波脉冲过后,C\(_{3}\)经BG4输入电阻放电,形成尖脉冲。这尖脉冲再经BG\(_{4}\)放大倒相后,在F点得到触发脉冲(图2)。触发脉冲的宽度由C3和BG\(_{4}\)输入电阻决定。图1中C3选用0.5微法,脉冲宽度可达1毫秒多,满足了电感性负载的需要。当需要特别宽的触发脉冲时,除可加大C\(_{3}\)外,还可把C3和D\(_{1}\)0去掉,使BG3和BG\(_{4}\)直接耦合。这时触发脉冲为方波,触发电流在可控硅导通期间保持不变,脉冲宽度达到极大值。改变BG4射极电阻R\(_{12}\),能调整触发功率的大小。图1中R12为120欧,触发电流峰值约60毫安,足以触发50安以下的可控硅。
综上所述,在F点产生的触发脉冲的前沿,决定于C\(_{3}\)开始放电的时间,也即决定于E点方波的后沿。而E点方波的后沿,又决定于D点锯齿波的宽度。D点锯齿波宽度是由BG7的输出电阻决定的。当可控硅整流器输出电压变化,例如因某种原因降低时,BG\(_{7}\)输出电阻减小,D点脉冲变窄,E点方波也变窄,F点触发脉冲前沿即前移,便可控硅导通角增大,输出电压回升。这样便起到自动稳定输出电压的作用了。
最后再介绍一下过载保护电路:BG\(_{5}\)、BG6组成截止式过载保护电路。它实际上是一个双稳态电路。可控硅整流器正常工作时,BG\(_{5}\)导通,BG6截止。在整流器输出电流过大的情况下,电阻R\(_{23}\)(用粗铜丝制成)上产生一个零点几伏的电压(极性如图1所示),经R17、W\(_{1}\)加在BG6基极上使它导通,电路反转,过载指示灯ZD\(_{2}\)亮。同时由于BG5截止,R\(_{14}\)上的降压减少,BG5集电极电压上升,D\(_{11}\)由截止变为导通,使BG2基极呈正向偏压而导通,BG\(_{3}\)截止,切断了触发脉冲。要电路重新工作时,按一下解除按钮AN就行了。过载保护电流的阀值由R23和W\(_{1}\)调节。
这种移相式宽脉冲触发电路,因为触发脉冲很宽,而且电路主要部分都工作在小电流状态,所以性能稳定,对负载适应能力强。我们曾在电感性负载(小电机)条件下长期使用,从未发生误触发及触发不可靠现象。负载频繁通断,输出电压浪涌波动也比较小。在输出电流超过额定值或短路时,保护电路立即翻转,使电路停止工作,保证了电路工作的安全可靠。(解放军某部技师 卢科)