晶体管收音机是由许多不同的零件组成的,有晶体管、电阻、电容器、磁性天线、线圈、变压器、电池、耳机或扬声器等等。我们装一部收音机,要用多少零件,这些零件又是怎样相互连接的?这就要靠电路图来帮忙了。当我们打开一张无线电电路图,就会看到图中画着一些不同的电路符号。这些不同的电路符号分别代表着不同的零件。例如通常用一个长方形的方框,两端引出两根引线来代表电阻。各种零件的名称,在电路图中又经常用拼音文字符号来代表,例如用R代表电阻,C代表电容等等。如果有几个同样的零件,又经常把它们编上顺序号码,如R\(_{1}\)、R2、……,C\(_{1}\)、C2……等等。各零件的规格和数值大小也在图中加以注明。这样就使电路图既能做到尽量简化,看起来又一目了然。

现在把晶体管收音机电路图中常用的电路符号、它的意义以及各种零件名称的文字代号列于附表中,供读者参考。读者只要熟悉了各种零件在电路图中的代表符号以及代表不同零件的文字符号,就能知道电路图中需用的是哪些零件,就可以按图准备零件,进行安装了。

电路图中用直线来表示零件间相互连接的导线,两直线交叉处绘有圆点的,则表示这两根导线应相互连接;两线交叉处没有圆点的,则表示这两根导线是彼此不连接的。这在附表中已有说明。绘有“接地”符号的,表示这些点应该用一根公共“地线”(导线)连接起来,它们都是交流“地电位”,也称“零电位”,所有“接地点”的电位都是相同的。
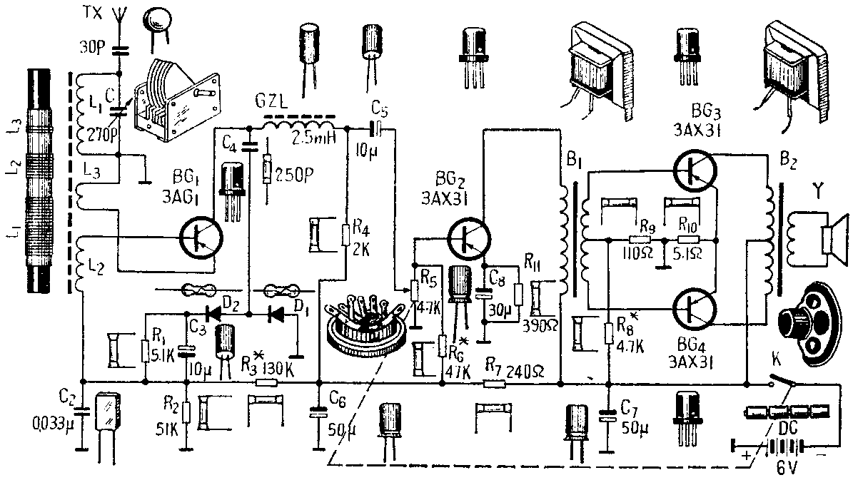
现在以一种典型的晶体管四管机为例,绘出它的电路图,并在代表各零件的电路符号旁边绘出零件实物图,供初学者对照参考。(常新)