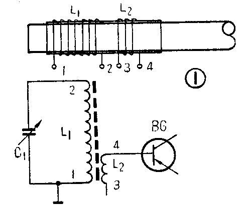
半导体收音机的输入电路一般采用磁性天线。磁性天线的典型接法如图1所示。在这里C\(_{1}\)是可变电容器,L1是调谐线圈。L\(_{1}\)和C1组成的调谐回路,用来选择欲接收的电台信号。L\(_{2}\)和L1绕在同一根磁棒上,通过L\(_{2}\)与L1的耦合作用,把选得的信号送到晶体管基极去。磁性天线电路虽然很简单,但对收音机的灵敏度等指标起着决定的作用。如何正确地设计磁性天线电路是一个值得研究的问题。下面分别来谈一谈有关磁性天线各部分的基本知识。

磁棒是由铁氧体材料做成的,这种材料有一定的导磁能力,能聚集电磁波中的磁力线,因而能使线圈中感应出外来信号的电动势。磁棒的长度越长、截面积越大、导磁率越高,线圈中感应出的电动势就越大,收音机的灵敏度也越高。所以为了提高收音机的灵敏度,在机壳体积允许的情况下,应该尽量用长的、截面积大的和导磁率高的磁棒。例如用φ10×200(直径10毫米、长200毫米)的磁棒比用φ10×70的磁棒在其他条件相同的情况下,灵敏度约可高2~3倍。目前国产中波磁棒一般都用MX0-400锰锌铁氧体材料做成,其导磁率为400,而短波磁棒则经常用NX0-60或NXO—40镍锌铁氧体材料做成,其导磁率分别为60或40。所以对于中波段最好用中波磁棒,如用短波磁棒虽然也能工作,但灵敏度要差得多。而对于短波段则只能用短波磁棒,不能用中波磁棒。原因是中波磁棒在短波段损耗太大,无法工作。
外来信号在线圈中感应的电动势,在数量上是很微小的,但由于L\(_{1}\)C1的谐振作用,L\(_{1}\)上将生成一个较大的电压。大家知道,这个电压将是感应电动势的Q倍(Q是线圈的品质因数)。线圈的Q值越高,L1上的电压也越大,送到晶体管的功率也越大,收音机的灵敏度也越高,对收音机的其他性能也越有利。对再生式收音机来说,线圈的品质因数Q越高,整机的选择性越好(超外差式收音机的选择性主要决定于中周)。怎样提高线圈的Q值呢?首先应该采用多股线绕制线圈。例如用七段、十四股或二十八股的丝包线,实践证明,用二十八股丝包线不仅灵敏度高,而且高、低端灵敏度也比较均匀,建议读者们采用。线圈绕制完毕,应将线头的每一股用砂纸砂干净,并浸上锡,切勿断股,否则也要影响Q值。还有L\(_{1}\)的圈数要绕得合适,以便使调整以后线圈端部大致位于磁棒端部5~20毫米处(图2)。遇到电感量不够时应该增加圈数,切勿将线圈推到磁棒的中间(尤其是对长磁棒)。因为这样做,虽然电感量可以增加,但线圈的Q值将降低得多。

表1列举了一些不同长度的MX0-400磁棒当配用270pf或360pf可变电容时,L\(_{1}\)的大致圈数。要说明三点;①由于各厂家生产的磁棒的性能不完全一致,表中的数据与实际可能有些出入,读者在绕制时最好将线头稍留长一些,以便必要时可增减3~5圈。②表中规定的圈数仅适用于用脚φ0.07×7的七股线绕制线圈,如股数增加圈数也应相应的增加一些。例如用φ0.07×28的二十八股线,圈数应增加10%左右。③表中对于长度大于120毫米的磁棒,线圈是采用分段绕制的。这样做可以充分利用磁棒,对于提高收音机灵敏度也是很有效的。具体办法就是将一个线圈分成两半,分置于磁棒的两端,要注意这两个线圈应是串联的,并且绕向应相同(图3)。


晶体管的输入阻抗只有1~3千欧,而调谐回路的阻抗则高达100千欧左右,因此为了将回路上有用信号的功率尽可能多地送到晶体管去,就必须进行匹配。也就是选择L\(_{1}\)和L2的合理的圈数比。通过计算和试验,一般取L\(_{2}\)的圈数均为L1的十分之一比较合适。对再生机来说,有时为了照顾选择性,可将L\(_{2}\)减去1~2圈。再生线圈L3的圈数则取3~5圈,视再生强弱而定。线圈绕制完毕,接到收音机上去,存在着一个接法问题。例如L\(_{1}\)到底是①头接地还是②头接地呢?事实证明不同接法效果是不一样的。假如接得不当,再生机会不起再生,或再生不均匀;超外差机会产生低端或高端啸叫等弊病。根据工厂的生产实践,普遍认为超外差机如图1接法,再生机如图4接法效果要好一些,读者们不妨试试。(青蓝)
