在一些偏僻的山区、农村,无线电爱好者在为广大贫下中农修理安装收音机时,可以用少量的普通元件,安装一台简单测试器。用它可以很方便地测量电路的通断、元件的好坏,并且可以调整偏流电阻等。
测试原理及使用方法
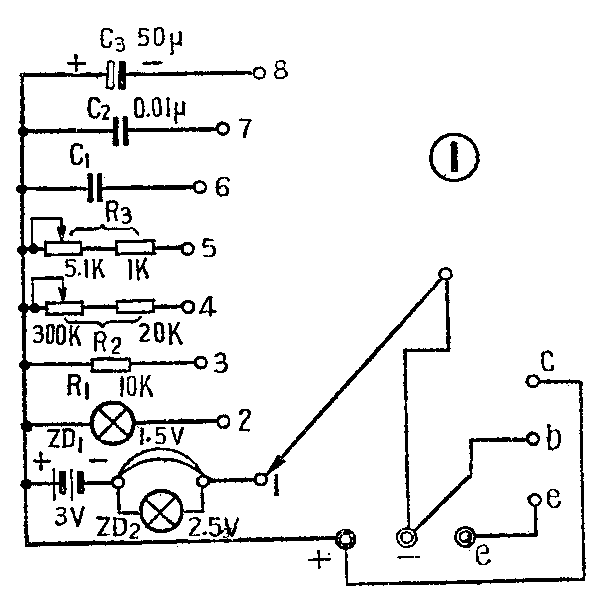
线路图很简单,如图1所示。当开关S拨到第一档时,可以测试各种元件、线路的通断。用正、负鳄鱼夹碰触被测元件两端,根据高阻抗耳机的声音有无或声音大小来辨别。

电珠ZD\(_{2}\)是用来测低阻抗元件。如根据电珠亮度就可判断磁棒线圈是否断接;可变电容器或固定电容是否短路;各种开关接触点是否良好;电解电容是否击穿等。
当开关S拨至第二档时,根据电珠ZD\(_{1}\)的发光亮度可以估计1.5伏电池的电流大小。
开关S拨到4或5档,可用R\(_{2}\)或R3调整收音机的各级偏流。面板上R\(_{2}\)、R3旋钮下标有阻值刻度,因此根据收音机的音量大小、音质好坏,就可直接读出该级偏流电阻。
当S拨到第6、7、8档时,将正负鳄鱼夹并联于收音机中被测电容两端,这时滑臂S要拨在与被测电容同容量或近似容量的档级上,根据收音机声音情况就可判断被测电容是否有毛病(测电解电容时要注意正负极)。
同万用电表配合,还可以测出三极管的穿透电流及放大倍数β的数值。
测试穿透电流的方法是:把开关S拨到6或7档,将被测三极管插入三极管插座,万用表拨至欧姆档R×100或R×1000的位置上,用红表笔“正”接鳄鱼夹“正”(即三极管集电极C),黑表笔“负”接鳄鱼夹“负”(测NPN管子时表笔应对调一下),但注意鳄鱼夹“负”插头要插在e孔(即三极管发射极),这时万用表上量得的阻值越大越好,若在50K以上表明穿透电流小,稳定性也好;若阻值在30K左右也可以用。电阻太小就证明穿透电流大,稳定性差,不宜使用。
测β时,表笔与插孔均不改变,电位器R\(_{2}\)旋钮拨至110K处,将滑臂S先后拨至3、4两档,用万用表分别量得阻值R'2和R'l,代入下列公式,就可得到该管的近似放大倍数β值。
元件选择及制作
1.先备齐下列元件:
1K、10K、20K固定电阻各1个;5.1K电位器1只;300K电位器1只;330P(图①中C\(_{1}\))、0.01μ云母或纸介电容器各1只;50μ小型电解电容器1只:单臂八掷式分线器1个(也可用波段开关改制);1.5V、2.5V小电珠各1个;尖头旋钮3个;香蕉插头及插口共3副(红、黑、绿各一副);小电池卡一副(也可用黄铜片自制);2000欧头戴式耳机一只或用高阻抗小舌簧喇叭;鳄鱼夹2个(红、黑各1个);彩色软接线单股、多股各1米;1.5V电池两节;五合板或质量较好的薄木板(用来制作面板、机盒)。
2.制作方法:
①三极管插座可用普通单股裸体软铜线,在大头针上绕成一厘米长短的螺旋形插座三个。绕法如图2。

②按图3的样子将分线器、插口、电位器R\(_{2}\)和R3、电珠ZD\(_{1}\)和ZD2、耳机、三极管插座排列固定好,用螺丝刀将尖头旋钮旋紧。

③将备齐的元件按图1连接起来。
④用红色多股软线把红色鳄鱼夹和红色香蕉插头连接起来;用黑色或其他颜色的多股软线把黑色鳄鱼夹同黑色香蕉插头连接起来。
⑤在面板上画出分线器各接触点,并标出所连元件的名称或用途。用万用表是R\(_{2}\)、R3的阻值,根据面板上旋钮的旋转角度画出刻度并标出相应阻值(如图3)。
⑥按面板大小做一个木盒,将面板连同各部件一起装入盒内,测试器便制作完毕。(李永恒)