随着我国社会主义革命和建设事业的飞跃发展,北京、上海等地的彩色电视台已相继试播。我国的彩色电视是采用“兼容制”发送的,除了彩色电视机可以直接收看外,有十二个频道的黑白电视机也可以收到黑白图象。为使只有五个频道的黑白电视机或自制的简易电视机也能收看,我们制作了一种频道转换器,将它插接到黑白电视机的天线插孔,就可以收看彩色电视台播出的节目了。下面我们介绍这种频道转换器的工作原理及制作方法。
工作原理
频道转换器实际上是一个变频器,只不过它与普通电视机的变频器所采用的本机振荡频率不同。一般电视机变频器的本机振荡频率是比欲接收的电视信号频率高一个中频,频道转换器的本机振荡频率则比欲接收的信号频率低一个中频。这是因为电视信号的图象载频和伴音载频有着严格的相对位置,经过变频以后的电视信号必须符合图象中频放大器的频率特性要求。

我国电视标准规定伴音信号的载频比图象信号的载频高6.5兆赫。而图象中频载频为34.25兆赫,伴音中频载频为27.75兆赫,即伴音中频较图象中频低6.5兆赫。故本机振荡频率必须采取高一个中频才能将两个信号的相对位置颠倒过来。如图①所示,经一次变频后的图象中频载频和伴音中频载频的相对位置(图①b)与电视发送信号的图象和伴音载频的相对位置(图①a)恰恰相反。例如第八频道电视发送信号图象载频为184.25兆赫;伴音载频为190.75兆赫;本机振荡频率为218.5兆赫,这里伴音载频比图象载频高6.5兆赫。经变频以后:
图象中频载频为:218.5-184.25=31.25兆赫;
伴音中频载频为:218.5-190.75=27.75兆赫。
显然,图象中频载频反而比伴音中频载频高6.5兆赫。一般电视机直接接收电视广播信号只经这样一次变频。
对于只有五个频道的黑白电视机,采用附加频道转换器接收彩色电视节目时,要经过两次变频,其过程是:先由附加频道转换器将第八频道(或其他高频道)的彩色电视信号变为第四频道(或其他低频道)的电视信号。这里频道转换器的本机振荡频率须比信号频率低一个“中频”(此“中频”即为第四频道的图象和伴音载频),为107兆赫。经频道转换器变频后的图象“中频”载频为:
184.25-107=77.25兆赫,
伴音“中频”载频为:
190.75-107=83.75兆赫。
这里图象与伴音载频的位置没有经过颠倒。
送入电视机进行第二次变频。电视机第四频道的本机振荡频率为111.5兆赫,变频后的图象中频载频为:
111.5-77.25=34.25兆赫,
伴音中频载频为:
111.5-83.75=27.75兆赫。
这一结果与电视机的频率特性的要求是一致的。如果频道转换器采用比信号频率高一个“中频”的本机振荡频率,经两次变频以后所得结果与电视机频率特性就不一致。
对于单频道简易直放式电视机来说,由于接收下来的电视信号经高频放大后不经变频,而直接送至视频检波器取出视频信号,所以频道转换器可以采用比信号频率高一个“冲频”的本机振荡频率。例如,用频道转换器,先将第八频道的电视信号转换为第二频道的电视信号,再用简易电视机收看。
这里取第八频道中心频率为187兆赫;第二频道中心频率为60.5兆赫,则本机振荡频率为:
187+60.5=247.5兆赫。
这样本机振荡频率工作在较高的频率上,对于业余条件的制作和调整都带来不少困难,同时对晶体管的要求也较高。若选择比欲接收的信号低一个“中频”,频道转换器的本机振荡频率为:
187-60.5=126.5兆赫,
这样对于制作和调整都较容易些。但是,也有缺点,就是带来比较大的“镜象干扰”。特别是当把第八频道转换为第二频道时更为严重。因为欲接收的第八频道中心频率为187兆赫,当“中频”为60.5兆赫(此“中频”即第二频道中心频率)时,本机振荡频率应为126.5兆赫,而其镜象频率为1265-60.5=66.5兆赫。在这个频率附近恰好有第二频道电视节目播出。这就是说,当第二频道的信号进入频道转换器后与本机振荡频率混合产生66.5兆赫的差频。而此差频又落入原电视机第二频道而产生干扰。
另一种干扰就是因屏蔽不良,而使第二频道信号直接窜入“中放”,即所谓“中频窜扰”。如果不采取适当的措施,就会使图象上有波纹,伴音也有干扰。这里采用了以下几项克服干扰的措施:
①在附加频道转换器的输入电路前加一“中频”陷波电路,见图⑤。

②频道转换器调谐要准确,尽量提高其对接收信号的增益,并要加以屏蔽。
③频道转换器与电视机连线尽量短。
④将“中放”(即简易电视机高放级)加以屏蔽,尽量减少第二频道信号窜入。
电路简介
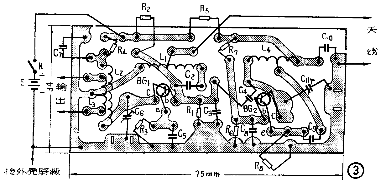
两管频道转换器的电路如图②所示。图中的元件数值是按照将第八频道信号转换为第四频道的信号要求标出的。实际上可将任一高频道信号转换为任一空闲的低频道接收。

由天线收到的信号,经过输入回路后和本机振荡信号一起送至BG\(_{1}\)晶体管进行混频;输出回路调谐于第四频道(76-84兆赫)。L2、L\(_{3}\)两线圈为紧耦合,输出信号用300欧扁馈线送至电视机天线插孔。为了获得足够的通频带,也可以在线圈L2上并联一只6-10千欧的电阻。
本机振荡电路,采用电感三点式振荡电路,C\(_{ll}\)为本机振荡频率微调电容。
图⑤为三管频道转换器的电路图。BG\(_{1}\)为高频放大管,BG2为本机振荡管,BG\(_{3}\)为混频管。本机振荡采用共基电路。图⑤中元件数值是按照将第八频道信号转换为第二频道信号的要求标出的。这个电路比前一种多了一级高频放大级,主要是为了提高选择性,抑制干扰。信号经高频放大后经电容C8注入BG\(_{2}\)管的基极,本机振荡为电容三点式,其输出信号是经电容C9进入BG\(_{2}\)管基极。混频输出回路调谐于第二频道的中心频率(60.5兆赫)。输出信号经一小段电缆送至电视机天线插孔。
制作与调整
对于图②所示电路晶体管的特征频率f\(_{T}\)的选择。BG1的f\(_{T}\)最好大于500兆赫,BG2最好大于300兆赫。这里采用的是超高频管3DG44,(f\(_{T}\)>1000兆赫)
线圈L\(_{1}\)、L2、L\(_{3}\)和L4均用直径为0.64毫米高强度漆包线绕成空心线圈,直径为8毫米。
L\(_{1}\)为5圈,距地一圈处抽头;L2为8圈;L\(_{3}\)为4圈,中心抽头,L3夹在L\(_{2}\)中间绕;L4为4圈,距地一圈处抽头。
电路所有元件安装在一块73×34平方毫米的印刷电路板上。电容器采用瓷质或云母质的。
整个频道转换器,连同一小型6伏积层电池一起装进一个旧式中频变压器的铝壳内,并装上一小型电源开关。(参看实物图)
频道转换器的输出引线,用一段30厘米左右长的扁馈线。
制作经检查无误后,先调整两只晶体管的工作点使I\(_{C}\)调在1-1.5毫安。然后将毫安表串接在BG2 管的集电极回路,用手靠近振荡线圈L\(_{4}\),其表针微微有些偏转,说明本机振荡已经起振。然后调整各个调谐回路,在业余条件下,可在电视节目播出时进行调整。先调本机振荡回路微调电容或拨动线圈改变电感量,使能收到图象和伴音,再根据情况反复调整其它各个回路电容电感,一直调到图象和伴音都达到理想结果为止。
对于图⑤电路的晶体管BG\(_{1}\)、BG3,f\(_{T}\)最好选择大于500兆赫,这里采用了两只3DGllD。本机振荡管BG2,选f\(_{T}\)大于200兆赫的,这里用3DG6。
线圈直径为8毫米,皆用旧塑料园珠笔杆为骨架(参看图⑥)。L\(_{1}\)、L5均用直径为0.35毫米线绕,L\(_{1}\)为9圈,L5初级为11圈,次级为3圈;L\(_{2}\)、L3、L\(_{4}\)均用直径为0.6毫米线绕,L2、L\(_{3}\)均为3圈,在距地一圈处和2圈处各抽一个头, L4为4圈。安装时,相邻两线圈要互相垂直。

元件装好后进行各级晶体管电流I\(_{C}\)的调整,均调在2毫安左右。先调高放级,用一短线先将L3短路,调好后再拆去。如果拆去短线I\(_{C}\)不变,说明没有自激,否则要反复改变中和电容器C8的数值,如仍不能消除,就要改变L\(_{2}\)与L3的相对位置,或将其屏蔽,直到短路L\(_{3}\)时IC值不变为止。其次进行本机振荡级的调整,这级I\(_{C}\)值可用电压表测量该级电源退耦电阻(R5)上的电压阵来推测。测量时用起子碰集电极或发射极,如I\(_{C}\)有变动,说明已起振。工作点调好后,可进行试收电视信号,此时将回路稍做一些变更:将C10并接到C\(_{11}\)上,以加大C12的频率覆盖范围,便于寻找电台。同时检查一下电视机的第2频道是否正常,然后将频道转换器接到电视机天线孔上,将电视机的音量及对比度电位器开至最大,缓慢旋动C\(_{12}\),使伴音和图象较好,再用非金属起子反复调整C2、C\(_{7}\)和C17使伴音和图象达到最佳为止。这时使C\(_{1}\)0复位,并以适当数值电容更换,应尽可能使在接收正常的情况下,C12的动片处于中间位置(半出半进)。
最后进行中频陷波器的调整。调整时,最好是在第八频道未播出时进行。反复调整C\(_{1}\),直到使第二频道信号不能进入,即干扰最小为止。
如果频道转换器与自制简易电视机装在一起,也可以用一个波段开关来转换,如图⑦。但是第八频道的天线,不能在这个开关上切换。因其工作频率较高,在普通的开关上会产生寄生反馈和耦合,以致破坏了正常接收,因此要给第八频道单独安装天线。

上面介绍的两种频道转换器,均就北京的电视广播要求制作的。其他地方自制时,可参考表中所列目前我国使用的12个频道的频率分配要求,自行设计。(孙大奇 郭允晟)
频率分配表
电视 频率范围 图象载频 伴音载频 本机振荡频率 频道中心频率
频道 (兆赫) (兆赫) (兆赫 ) (兆赫) (兆赫)
1 48.5-56.5 49.75 56.25 84 52.5
2 56.5-64.5 57.75 64.25 92 60.5
3 64.5-72.5 65.75 72.25 100 68.5
4 76—84 77.25 83.75 111.5 80
5 84-92 85.25 91.75 119.5 88
6 167-175 168.25 174.75 202.5 171
7 175-183 176.25 182.75 210.5 179
8 183-191 184.25 190.75 218.5 187
9 191-199 192.25 198.75 226.5 195
10 199-207 200.25 206.75 234.5 203
11 207-215 208.25 214.75 242.5 211
12 215-223 216.25 222.75 250.5 219

