在拍摄电影和剧场演出时,需要有亮度可调的灯光,以适应剧情气氛,增强艺术效果,给观众以身临其境的感觉,达到高度的思想内容和完美的艺术形式的统一。例如,在革命样板戏影片《海港》第三场中,高志扬有一段《一石激起千层浪》的唱段,当唱到“解放前,星条舰、花旗轮横行江上,……”时,电影画面背景光很暗,天空中愁云密布;而接着唱到“幸喜得解放军大炮轰响,轰散了乌烟瘴气出太阳”时,乌云驱散,出现了灿烂的蓝天白云。灯光的这一暗一亮,有力地烘托出高志扬在回忆对比新旧社会两重天时内心感情的强烈变化。这种根据电影或舞台演出需要的特殊效果来控制灯光变化的设备,叫做调光装置。
文化大革命前,调光装置一直采用三十年代水平的串联变阻器(节光器)和自耦调压器,有的电影制片厂甚至用大盐缸来调光。这些装置粗大笨重,操作费力,搬运不便,效果差,还浪费大量电力,很难满足演出的需要。
为了更好地宣传马列主义、毛泽东思想,使文艺更好地为无产阶级政治服务,为工农兵服务,我们和有关单位共同设计了可控硅调光装置,它具有重量轻、体积小、操作方便,可以集中控制、节约用电等优点,适合于专业文艺团体和工农兵业余文艺宣传队演出的需要。
下面介绍一种线路简单可靠的可控硅调光装置。
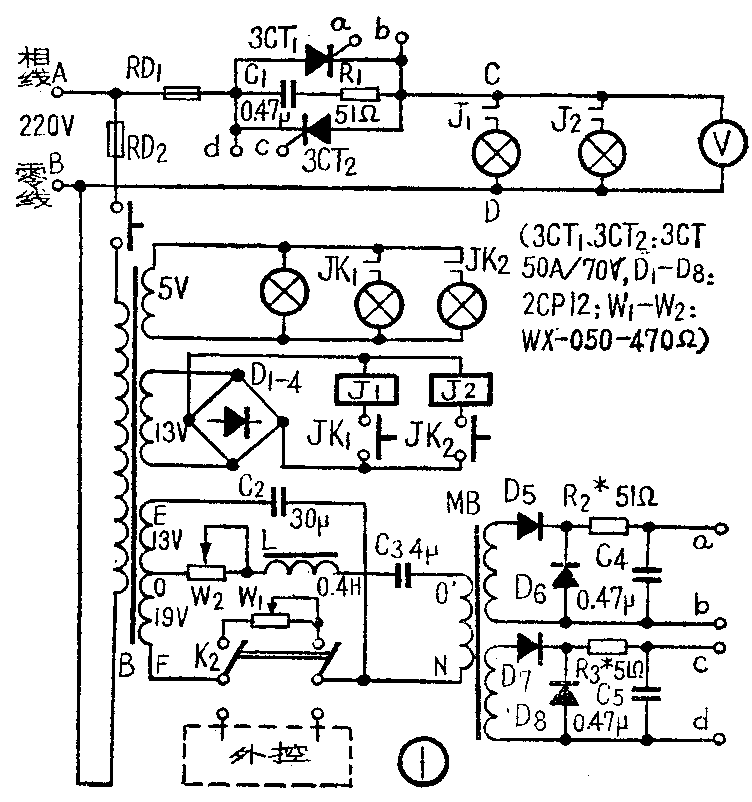
调光装置的负载是白炽灯。灯的亮度随灯丝发热量变化,而灯丝热量与电压有效值的平方成正比,和电压波形无关。因此采用可控硅交流调压器作为调光装置就可以满足要求,无需再加整流措施。为了保证灯光亮度调节范围大,调光装置输出电压下限(最小值)要尽可能关到零伏,上限(最大值)要开足。这就要求可控硅触发回路有180°的移相范围。本装置采用改进了的阻容移相桥触发回路,产生的触发信号为正弦波。整个调光装置的电路如图①所示。

主回路 由两只可控硅3CT\(_{1}\)、3CT2反并联而成。两只可控硅分别在电源的正负半周轮流工作。当电源电压为正半周时,A点电位高于B点电位,3CT\(_{1}\)承受正向阳极电压,3CT2承受反向阳极电压。在适当时刻(如ωt\(_{1}\),见图②),加在3CT1控制极上的触发信号达到可控硅触发电压时,3CT\(_{1}\)立即导通。电源电压进入负半周后,3CT1承受反向电压而关断;而3CT\(_{2}\)承受正向电压,在相应时刻(ωt2)触发信号将使之导通。这样负载上即可得到一个不是正弦波的交流电压。只要改变触发信号的相位,就能达到改变输出交流电压大小的目的。电压波形如图②所示。

主回路中R\(_{1}\)C1是为了防止可控硅元件承受换向电压时产生过电压而遭到损坏所加的保护电路。熔断器RD\(_{1}\)为过电流保护。
触发回路 采用改进了的阻容移相桥触发回路。
为了说明它的工作原理及特点,我们先来看图③所示的简单阻容移相桥电路。这是一个由电位器W\(_{1}\)、电容C2和带有中心抽头的同步变压器B两副边绕组构成的桥式电路,输出端为O、N两点。由于电阻和电容上的电压在相位上相差90°,而且U\(_{EF}\)=UW1+U\(_{C2}\),所以改变W1的阻值时,U\(_{ON}\)的相位将发生相应变化,且N点轨迹沿一半圆移动,如图④表示的那样(I为阻容移相桥中的电流)。当W1阻值等于零时,U\(_{ON}\)=UOF=\(\frac{1}{2}\)U\(_{EF}\),UON和U\(_{EF}\)同相位,a=0;随着W1阻值逐渐变大,U\(_{ON}\)越来越滞后于UEF;当W\(_{1}\)阻值足够大时,UON=-U\(_{EO}\),UON便和U\(_{EF}\)反相了,a=180°。这样从理论上讲,便可以实现0°至180°的移相。


但在ON间接上负载并计及变压器绕组的内阻时,实际情况和上述理论分析并不完全相同。当W\(_{1}\)阻值等于零时,由于变压器绕组内阻压降的影响,UON将滞后于U\(_{EF}\)一个角度,a>0;当W1阻值足够大时,由于负载压降的影响,a将小于180°。这样当用U\(_{ON}\)触发可控硅时,就会出现上限无法开足,下限也关不到零的情况。根据实验结果,可控硅导通角上下限均受到15°的影响。正是因为有上述缺点,再加上输出波形不陡,所以国内外资料多认为这种触发回路只能适用于简单的、要求不高的场合。
毛主席教导说:“在生产斗争和科学实验范围内,人类总是不断发展的,自然界也总是不断发展的,永远不会停止在一个水平上。因此,人类总得不断地总结经验,有所发现,有所发明,有所创造,有所前进。”怎样才能把上述电路移相角加以扩展呢?如前所述,当W\(_{1}\)阻值为零时,由于变压器绕组内阻的影响,UON比U\(_{EF}\)滞后了一个角度。于是我们想到,若能使ON支路的电流超前于UON一个角度,再从负载上取出信号触发可控硅,不就可以起到补偿移相角的作用了吗?根据这样的思路,我们在O、N间加入了电位器W\(_{2}\)、电感L、电容C3,并使ON间阻抗呈容性,构成改进了的阻容移相桥触发回路,见图⑤。

改进了的阻容移相桥触发回路扩展移相角的作用可进一步说明如下:当W\(_{1}\)阻值为零时,UON原是滞后于UEF的,因此可控硅最大导通角达不到180°。但现在ON支路呈容性,流过它的电流I\(_{2}\)将超前于UON,于是负载上电压U\(_{ON}\)也就超于UON,这就补偿了变压器绕组内阻对移相角的影响,使上限可以开足了(见图⑥)。但是,这种超前作用对下限端来讲是无益的,因此在下限端,即W\(_{1}\)阻值足够大时,W2的阻值也应该很大,以使这时超前角较小(I\(_{2}\)超前于UON的角度ф与ON支路的电阻值与电抗值之比有关,电阻的可调部分为W\(_{2}\),W2越小,超前的角度ф越大),保证下限尽可能关到零,移相范围达到180°。这样就能满足调光装置的要求了。

在实际电路中,移相桥采用变压器降压输出(图①),可提高输出阻抗,减小输出电流,使电容C\(_{3}\)容量减小。现取C3为4微法。至于L的数值,太大时影响补偿作用,上限开不足,太小时抗电源畸变性能差,这里取L为0.4亨,即可满足要求。二极管D\(_{5}\)-D8的作用是防止反向触发电压加在控制极上。
单机调压和遥控集中控制 调光装置可单机调压,也可遥控集中控制。单机调压时,W\(_{1}\)与W2可采用双联电位器,使它们的阻值同时变化,得到较理想的相位控制。W\(_{1}\)、W2阻值都为零时,输出电压最大;反之,W\(_{1}\)、W2 阻值均为最大值时,输出电压最小。如需遥控集中控制,可将K\(_{2}\)拨向“外控”。外控电路如图⑦所示,它用大功率晶体管DD15和由四只二极管2CP11构成的整流桥组合作为移相桥的一臂(代替W1)。当调节电位器W\(_{3}\)的阻值时,Ib变化,I\(_{c}\)也随之变化,流过整流桥的电流也变化,这就相当于W1阻值变化,达到了移相目的。W\(_{4}\)、W5两只电位器分别用来调节下限和上限。控制电源E可用12伏稳压电源或电池。这种外控电路可以15-30路同时控制。

磁性元件参考数据同步变压器B原边:φ0.14,2650T,副边:5V-φ0.29,67T;13V-φ0.27,175T;19V-φ0.27,254T。脉冲变压器MB原边:φ0.23,500T,副边φ0.23,400T(两组相同)。铁心材料均为D43—0.35。几何尺寸见图⑧。

应用效果 采用上述由改进了的阻容移相桥触发回路构成的可控硅调光设备,有下面的优点:
1.移相范围从0°-180°,“无抹顶之忧”。除可控硅本身压降1伏左右外,无移相造成的电压损失。
2.W\(_{2}\)、L和C3串联组成的支路不仅可起到补偿移相角的作用,而且能把因电源波形破碎引起的各种高次谐波滤掉,使脉冲无缺口,所以抑制相间干扰能力较强。
3.电路简单可靠,控制方便,节省操作人员。
可控硅调光装置的技术经济指标和变阻器、调压器相比较,效果是显著的。例如输出功率为15千瓦的调压器重量为96公斤,体积为0.08立方米,平均用电效率为0.85-0.9;而15千瓦可控硅调光装置重量仅为8公斤,体积为0.03立方米,平均用电效率达0.98。它的控制性能也要比调压器方便得多。(上海轻工业设计院)