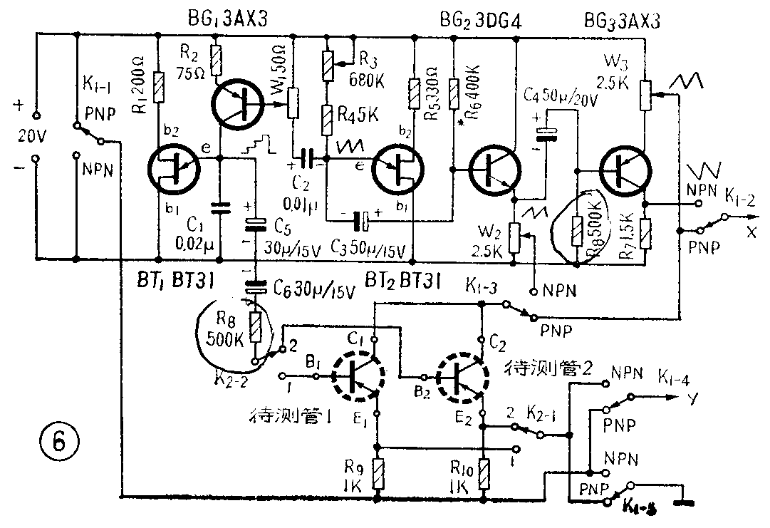
(高福文)上期介绍了简易晶体管特性曲线图示仪的原理,本文讲一讲它的调整和使用方法。仪器的完整线路见图6。

调整
线路焊接无误后,接通电源。首先用示波器观察单结管BT\(_{2}\)的发射极e与第一基极b1之间的电压波形,调节R\(_{3}\)应能得到锯齿波,而且其频率随R3的大小而改变。如果无论怎样改变R\(_{3}\)都不起振,则应检查单结管BT2。检查的方法是用三用表R×100档测量b\(_{1}\)b2之间的电阻R\(_{BB}\),阻值应在3KΩ左右,而且不随表笔所带电压的极性而改变。测量eb1和eb\(_{2}\)时,导电性应与一般二极管相同。若单结管损坏,则更换单结管再试。
锯齿波的电压正常以后,再以示波器观察单结管BT\(_{1}\)的发射极e和第一基极b1之间的电压,调节电位器W\(_{1}\)时应能得到阶梯形电压。阶梯电压的级数随W1的阻值的改变而变化,发生器即正常工作了。如果不出现阶梯波,首先检查BG\(_{1}\)是否穿透电流太大或者已经击穿。当BG1击穿以后,BT\(_{1}\)往往因eb1之间流过很大的电流而烧毁,所以也要检查单结管BT\(_{1}\)。若管子没有问题,但阶梯数太多,则是由于C1容量太大造成的;而阶梯数太少,则是由于C\(_{1}\)的容量太小的缘故。在0.02μ左右更换一合适的电容即可得到合适的级数。
射极输出器的调整很简单,断开C\(_{3}\),调节偏流电阻R6,使BG\(_{2}\)的发射极电压小于输入锯齿波电压的一半,一般在3伏以下即可。接通C3后,在BG\(_{2}\)的发射极、BG3的发射极和集电极都应观察到锯齿波。若都正常即可插上被测管子,接好示波器的接线,并且关掉示波器内部的锯齿波,进一步根据显示的特性曲线调整仪器。
经常遇到的问题是特性曲线起始部分被切掉,原因在于锯齿波不是从零伏开始变大。若问题出在观测NPN管时,只要加大R\(_{6}\),降低BG2的工作点即可解决。若出现在观察PNP管时,则要加大R\(_{8}\)并检查BG3是否穿透电流太大,必要时更换BG\(_{3}\)。
使用方法
1.观察PNP型晶体管共发射极电路的输出特性曲线族
首先将开关K\(_{1}\)拨到PNP的位置,然后将三极管三个电极分别插入管座的三个插孔“E”、“B”、“C”中。利用开关K2进行选择,分别观察第一管和第二管,整个线路简化为图1(a)。从示波器上得到的图形如图1(b)所示。调节W\(_{1}\)时,因为阶梯波的级数改变,所以曲线的数目也可改变。从图1(a)可以看到,为了使Y轴取得正极性的电压,将待测管的发射极接地,所以由于R9的分压作用,使得U\(_{ce}\)随着Ic的增大它所能达到的最大值减小了,表现在示波器上就是X轴的扫描电压随着I\(_{c}\)的增大而减小,于是特性曲线越来越短,它们的端点组成了直流负载线AB。

我们知道,在输出特性曲线族的每两根曲线之间的垂直距离表示ΔI\(_{c}\)的大小, 因为ΔIb是一定的,所以这个距离就相对的代表了β的大小。根据这个道理,利用开关K\(_{2}\)分别观察管1和管2的特性曲线时,根据曲线之间的间距可以比较管子的β间距大的β就大。因此,利用这种办法就能选配管子。只要两个管子的特性曲线相同,这两个管子的特性就是相同的,就可以配对使用。
2.观察NPN型管子的输出特性曲线族
首先把开关K\(_{1}\)拨到NPN的位置,然后插入管子,即可得到曲线族,线路简化为图2(a)。测试方法与测试PNP管相同。在示波器上将看到图2(b)所示的图形。

3.观察PNP和NPN型管子的输入特性曲线
当开关K\(_{1}\)拨到PNP的位置时,线路已经简化为图1(a),若只用“E ”“C”两插孔,线路进一步简化为图3。在“C”与“E”插孔之间所加的是负极性的锯齿波,所以观察PNP型管子的输入特性时,只要把管子的发射极插到“E”孔,将管子的基极插到“C”孔,管子的集电极开路。适当调节W3,示波器上将出现输入特性曲线。

观察NPN型管子的输入特性时,K\(_{1}\)仍在PNP的位置,但管脚的接法改为发射极插到管座的“C”孔,基极插到“E”孔(如图4)。因为在管子的发射结上加的仍是正向电压,示波器上同样会出现输入特性曲线。

硅管与锗管的死区电压不同,而且特性曲线的形状也不相同。我们将一个锗管和一个硅管分别插到两个管座上,利用K\(_{2}\)转换,得到了图5的曲线。为了便于比较,把两条线画在一起。从图中可以看到硅管的死区电压大于锗管,而且硅管的曲线比较陡,利用它的正向特性可以做为稳压管使用。

4. 观察二极管的特性曲线
测试线路与观察输入特性时相同,如图3。将二极管正极插入“E”孔,负极插入“C”孔,即可得到正向特性曲线。将二电极对调,对于反向击穿电压比较低的管子,可以得到反向击穿曲线。
最后把利用这个图示仪看到的一些晶体管的不够理想的特性曲线列在下面表内,供同志们参考。
