(太原工学院工人学员 卞成彪)超外差式收音机的故障,常见的有完全无声(指喇叭中一点喀喀声都没有)、有沙沙声而无电台播音、音轻灵敏度低、选择性差、失真、断音和啸叫等等。关于完全无声及音量控制电位器部分的故障检修方法,请参看本刊1973年第1、2期《怎样检修简易半导体收音机》一文,这里就不再重复了。下面我们将以“牡丹-644型”半导体收音机(见图1)为例,谈谈超外差式收音机常见故障的检修方法。

一、有沙沙声,收不到电台
这种故障一般发生在检波级和前面高频部分(指变频、中放部分)。应首先作有无明显断路和短路的直观检查,接着用改锥依次碰触检波二极管D\(_{2}\)的负极、正极,BG3、BG\(_{2}\)和BG1各管的基极,根据扬声器中咯咯声的有无或大小,就可初步判定故障出在哪一级电路中。
检波级出现故障时,可将远近程开关放在“近程”位置,用万用表R×100或R×1000电阻档测量D\(_{2}\)之间的正、反向电阻。正常时,正向电阻(即正表笔接D2 的负极,负表笔接地)应为300~500欧左右;反向电阻(表笔互换)应为5千欧左右。若测得正向电阻很小甚至为零,则说明D\(_{2}\)或者中频滤波电容C25有短路,可分别将D\(_{2}\)和C25与电路断开一头作检查;若正向电阻很大,接近5千欧,则有两种可能:一是D\(_{2}\)断路;一是中周B3次级有断路。若反向电阻低于5千欧甚至为零,刚D\(_{2}\)、C25、C\(_{26}\)中可能有短路,需分别用万用表进行检查。若反向电阻远大于5千欧,则说明检波器的负载电路R17、R\(_{18}\)有断路。检波级经过如上的检修后,改锥碰触D2的正负极时,扬声器中应有咯咯声。若无咯咯声,除查低频交连电容C\(_{27}\)是否完好外,对本机来说还应检查远近程开关是否接触不良或开路。可用万用表欧姆档测量各接点。在检波级和低放都正常时仍无电台信号,就需要对中频和变频级进行检查了。
收音机中频和变频部分的故障,主要的有:①变频管BG\(_{1}\)、中放管BG2、BG\(_{3}\)损坏或偏置电路有毛病造成这些管子不能工作;②中放级有短路或开路处,信号通不过去;③本机振荡停振。
检查三只高频管的直流工作状态及其是否损坏时,可以先用改锥碰触晶体管基极,大致确定故障在那一级;或者用万用表对各级管子的各极电压及集电极电流进行测量,将测量结果与正常数值进行比较,也会发现问题。附表列出了牡丹644型收音机各极主要电压、电流正常数值供参考。

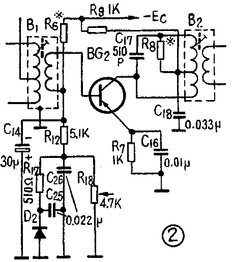
我们以图1中第一中频放大管BG\(_{2}\)为例。将有关电路简化如图2。

决定BG\(_{2}\)工作电流的主要是R6、R\(_{12}\)、E18、R\(_{17}\)、D2(正向电阻)和R\(_{7}\)。
这个电路里影响直流工作状态的因素有:①R\(_{6}\)开路时,BG2基极无电压,BG\(_{2}\)截止,集电极只有很小的穿透电流(即Iceo);电容C\(_{14}\)。短路时由于B1次级直流电阻很小,BG\(_{2}\)基极对地近似短路,BG2也不工作;B\(_{1}\)次级开路时,BG2基极开路,也无电压,BG\(_{2}\)不工作。②B1初、次级间短路,BG\(_{2}\)基极偏压较高(这时BG2有可能损坏);R\(_{12}\)开路,无分压作用, BG2基极偏压也升高;R\(_{17}\)、D2或R\(_{18}\)开路时,BG2基极偏压升高不太明显,一般用电表测量不出来,因此对直流工作状态影响不大;若C\(_{25}\)或C26开路,虽不影响BG\(_{2}\)直流工作状态,但失去中频滤波作用而引起啸叫,它们短路时,BG2基极偏压也不会有显著降低,但却使音频短路而不能收音;③R\(_{7}\)开路时,BG2无发射极电流,这时量集电极C点电压与电源电压相同。但要注意,这时如用电压表量R\(_{7}\)两端仍会有电压,且收音机有工作。因为这时电压表的内阻代替了R7。电容C\(_{18}\)短路时,BG2基极正偏压增大,I\(_{c}\)增大,有时虽尚能勉强工作,但可测得BG2集电极电压大大降低,R\(_{9}\)两端电压将为5伏以上,测集电极电流则为5毫安以上。④若本级所有电阻电容元件完好,焊接又无误,发射极电压超过0.4伏很多,甚至达2伏以上,说明管子已击穿损坏或穿透电流过大失去放大能力。若发射有无电压,或集电极C点电压近似等于电源电压,说明管子内部有断路不能工作。这两种情况均可配合测集电极电流方法就能确切判断管子是否已经损坏(对BG2作直流工作状态检查时,因有自动增益控制电路的影响,必须使双连旋至无电台信号处)。
上面已经以第一中放级为例说明了故障的基本检查方法,下面就以这种方法继续检查第二中放和变频级。
先检查BG\(_{3}\)发射极对地电压,如等于零,应先检查管子是否损坏,然后检查R10是否开路,B\(_{2}\)次级是否断路,C19是否短路,R\(_{15}\)是否开路。另外,若C21漏电或短路,BG\(_{3}\)发射极电压也将近似为零,而且测集电极电压时大大低于正常值。B3初级1、2端有断路,BG\(_{3}\)集电极电压为零,发射极电压也为零。若BG3发射极电压高于正常值许多(本机应为1.5伏左右)则说明:①BG\(_{3}\)击穿短路;②B2初、次级间有短路(关掉电源用万用表欧姆档可查出,或者测B\(_{2}\)次级对地电压,短路时将在5伏左右)。用此法同样地可测出BG2、BG\(_{1}\)管子是否损坏,B2\(_{1}\)和L2、L\(_{3}\)、L4的次级是否开路,旁路电容C\(_{4}\)、C14、C\(_{1}\)0以及交连电容C8和C\(_{1}\)0是否短路等等。需要特别说明的是,对于外差机来说,三只高频管集电极电流高于正常值的一倍,或两只中放管集电极电流低于正常值一半,并不至于造成不能收音,只是影响接收效果。不能收音时,要特别注意检查中放级的信号是否短路和开路。对本机来说,开关在远程位置,R15开路时,形成低放开路,而不能收音。中周B\(_{1}\)2的次级4端开路,使得中频信号开路而不能收音,B\(_{3}\)次级开路或对地短路也将不能收音。当电容C14或C\(_{18}\)对地短路时,虽然将使BG2或BG\(_{3}\)其中之一不能工作,但并不会造成完全断音,机器将仍能收到本地及强力电台的信号(后面还要进一步介绍)。
对中放级检查后,仍不能收到电台信号时,问题就在变频级。对这一级除了按上述方法检查BG\(_{1}\)的直流工作状态外,要注意检查本机振荡电路。本振电路的故障多为停振。检查的方法是:万用表拨在直流低电压档(5伏或2.5伏),表笔并接在BG1发射极电阻R\(_{3}\)两端,用改锥将双连的振荡连定片对地短路(或将振荡线圈L4初级短路——本机波段开关应置于中波位置),如电压明显减小,或将调谐指针旋至正在播音的电台位置,用手触及振荡连的定片,电压也将有明显的变动,说明本机振荡正常,否则本振有故降。可先检查交连电容C\(_{1}\)0(中波)是否开路,用相同电容并接一下就能判断;若C10短路,R\(_{3}\)将无电压。若L4初级开路,用万用表欧姆档可测出。若垫整电容C\(_{9}\)或交连电容C10变质漏电,高频损耗过大,也会停振。双连可变电容动片引出线接触不良,接触电阻增大造成振荡衰落,应置换或修复。变频管BG\(_{1}\)工作电流过低,或者管子内部有缺陷,截止频率过低而停振,可适当提高集电极电流或换新管。
两波段以上的外差机,发生因振荡回路故障造成本机振荡停振时,常出现一个波段不能收音,而另一个波段却能正常收音的现象。由于振荡线圈L\(_{3}\)、L4次级是串联的,其中之一断路时,两个波段都不能收音。这时,用万用表直流电压档测BG\(_{1}\)集电极和发射极对地电压都为零,用万用表欧姆档测L3的⑤端到L\(_{4}\)的④端直流电阻将很大。波段开关K1各转换接点接触不良时也会出现不能收音,一般用万用表欧姆档作通路检查就能查出故障的部位而加以排除。
二、灵敏度低及音轻
超外差机的灵敏度低及音轻故障,与再生机的差不多。检查电源电压如正常,收的电台数没有减少,只是音量降低,那么故障主要发生在低放级及检波级。低放级故障的检查方法与再生机相同。检波级的关键是二极管D\(_{2}\),检查方法如上述。灵敏度降低时,发音也将减弱。如果收的电台数目明显减少,甚至只能收到个别强信号电台,则故障必然发生在高频放大电路。可接下面步骤进行检查:
1、检查三只高频管BG\(_{1}\)、BG2、BG\(_{3}\)的直流工作状态。如发现:①集电极电流(或由发射极电压按公式I=\(\frac{V}{R}\)换算出的电流)低于正常值过多时,整机灵敏度将降低。BG1集电极电流减小时,波段的低端容易停振,例如收不到800千赫以下电台的信号,或者电源电压稍有下降就出现停振而不能收音。第二中放管BG\(_{3}\)集电极电流过小时,该极中放增益降低,因而不能输出必要的检波信号电压,造成灵敏度降低。②第一中放管偏置电阻R6开路,或C\(_{14}\)短路,造成该级无放大作用,BG2成了一个衰耗器,除了强力电台信号能串入第二中放电路外,较弱信号是难于通过的。如出现这种故障,人体的感应将十分突出,手握天线时,音量显著提高,手放开后音量显著减小。③集电极电流高于正常值一倍以上,增大偏置电阻R\(_{1}\) (或R6、R\(_{1}\)0)甚至断开时,电流无明显减小,这是由于穿透电流Iceo增大,β值下降,使放大能力降低,形成灵敏度低。若是BG\(_{1}\)和BG2有这种故障时,人体感应现象也将十分明显。
2、检查高频旁路电容C\(_{4}\)、C18、C\(_{19}\)、C21是否漏电和开路。尤其当它们有开路时,灵敏度将显著降低而且音量很小。用电容去并接即可查出。这几只电容器都是与一定的固定电阻相并朕,若它们漏电,与固定电阻并联后,电阻的限值将降低,就破坏了正常的直流工作状态(C\(_{4}\)、C14、C\(_{19}\)漏电时,等于基极偏流减小,从而引起集电极电流减小;L16、C\(_{21}\)漏电时,等于R7和R\(_{14}\)阻值减小而使集电极电流增大)。若这几只电容开路,交流信号只能在与它相并联的电阻上通过,将受阻力而消耗功率,在发射极电阻R7和R\(_{14}\)上不仅有功率损失,同时还存在交流负回授,使交流放大倍数降低,这样必然造成音轻和灵敏度低。
3、检查第二次自动增益控制二极管D\(_{1}\)。当D1短路时,等于在第一中周B\(_{1}\)的初级并接一低阻值电阻,使得B2Q值大大降低,中频增益降低,弱信号被衰减而降低灵敏度。用万用表欧姆档测D\(_{1}\)正反向电阻即能判断。
4、检查天线输入回路及三个中频调谐电路。天线线圈初级开路,或多股线有断股统调不准,灵敏度将降低,现象是人体感应明显。振荡电路的检查如上述。中周B\(_{1}\)2\(_{3}\)有开路和局部短路时,或者谐振电容C12、C\(_{17}\)、C22漏电和开路,这时从B\(_{3}\)开始依次微动中周磁心,在正常情况下,音量应有变化,调哪一级中周音量无变化时,问题就出现在那一级,可对中周及谐振电容分别进行检查。结合高频管直流工作状态的检查,可查中周线圈是否开路。用电容510P去置换中周谐振电容,可检查出三个谐振电容的开路、漏电或短路。当中周失调时,灵敏度将降低,只要左右微动一下磁心就能恢复。中周线圈局部短路,虽在产品收音机中比较少见,但经过上面几方面的检查未能发现故障时,有可能是中周局部短路。由于它的直流电阻低,一般万用表较难判断,只能采取置换的办法了。
三、选择性差
超外差机的选择性,主要是由调谐电路的质量所决定,而关键又在两级中频调谐回路及输入调谐回路。所以当选择性降低时,首先应检查输入调谐回路,两级中放管的工作状态,以及三节中频调谐回路是否有故障。检查方法同检查灵敏度降低时一样。但是,对于一次自动增益控制电路R\(_{12}\)开路时,不仅引起失真(下面分析),同时对强信号的控制失去作用,所以强信号在度盘上占去很宽一段位置,以致与相邻电台混台而降低了选择性。另外,在接收条件比较差的地区为了提高收音机的灵敏度而加接较长的外接天线时,天线与输入调谐回路L2耦合过紧,将出现明显的混台现象。原因是耦合过紧引起输入回路失调。属于这种情况,可以将耦合变松些。例如,是电容耦合的(图3),将耦合电容C减小些,一般为5~10P;是电感耦合的(图4),将天线线圈L\(_{1}\)适当减少圈数或将L1与L\(_{2}\)的距离拉开些,这样对选择性都将有明显的改善。

外差机还有一种特有的混台现象,即所谓“象频干扰”。它的现象是,一个电台可能在波段内两处同时出现。判断方法是:若两个同信号电台在度盘上相差的频率是二倍中频时,那么其中之一是象频信号(例如600千赫的电台信号在1530千赫位置上出现时,则1530千赫是600千赫的象频,因为1530-600=2×465)。象频的出现与机器输入回路的选择性,及其接收地点有关,故发生这种现象时,首先要检查输入回路,看初级有否开路。 (待续)