下面介绍一个简单的超低频正弦波振荡器。它的特点是用电抗管代替一般LC振荡器中的电感,成本低、体积小、重量轻、制造简便;并且由于采用射极输出器输出,所以具有较好负载特性。用它与演示检流计相配合,可以进行交流电路、整流滤波电路以及低频放大电路的某些教学演示实验。而以往这些演示实验一般是用电子示波器与低频信号发生器相配合进行的。用检流计和这种自制振荡器进行演示实验有以下优点:第一,示波器由于屏幕小、亮度弱,只能在较小范围内演示。而检流计则可以在更大的范围内进行演示。第二,它制造简便、成本低廉。第三,可以在没有交流电源的教室进行演示。当然,在精确度方面它比示波器差,但是这对于观察现象和作定性分析没有影响。

为了弄清楚电抗管振荡器的工作原理,我们先介绍一下如图1所示的电感三点式正弦波振荡器。图中L和C\(_{1}\)组成振荡回路,Rb是偏流电阻,C\(_{2}\)是耦合电容,Re是正反馈调节电阻。由于LC\(_{1}\)回路中存在电阻的缘故,光靠LC1是不能产生等幅振荡电压的。只有通过C\(_{2}\)将回路的振荡电压馈送给晶体管BG,使BG的发射极电流ie也随振荡电压变化,i\(_{e}\)经过Re流入LC\(_{1}\)回路,构成正反馈。也就是说,ie流过LC\(_{1}\)回路将给回路补充能量。如果在振荡电压的一个周期内这种补充的能量可以抵偿回路电阻所损耗的能量,那么LC1回路就可能产生等幅振荡。图中R\(_{e}\)的作用就是调节补充能量大小的。Re增大,补充的能量减小;反之R\(_{e}\)减小,补充的能量增大。补充的能量太小,振荡不能产生;补充的能量太大,振荡波形将严重失真,甚至产生间歇振荡。
图1所示的振荡器的振荡周期:
T=2π\(\sqrt{LC}\)\(_{1}\)
式中电感L的单位是亨,电容C\(_{1}\)的单位是法,周期T的单位是秒。按上式计算,若要产生一周期为2秒以上的超低频正弦振荡,如果电容取100微法,那么L的电感量应在1000亨以上。我们知道,制造这样大的电感,即使采用铁心线圈,也是很费劲的。造价高昂、体积庞大,又非常笨重。如果能巧妙地用电子线路构成回路中的电感L,那当然是件很好的事,有没有可能呢?回答是肯定的,那就是这里要介绍的电抗管电路。
电抗管工作原理

我们知道,一个电感L两端加以正弦电压U→,电感中就有正弦电流互通过(图2a)。电压将超前电流一相位角,对于纯电感电路电压将超前电流90°相角。正弦电压、正弦电流如果用向量表示,电压U→超前电流I→90°相角将如图2b所示。如果仅仅就电感的电压电流特性而言,那么电压超前电流90°相角就是它的根本特点。我们如果能用一电子线路,使其在这一特点上与电感相同,那么这个电子线路就可以认为在电特性上起到了电感的作用,用它与电容同样可以组成振荡回路。电抗管就是根据这一道理构成的。

图3a是电抗管的简化交流等效电路。由图我们知道:如果电阻R取值较大,电容C也取得很大(容抗很小),那么,对交流而言,RC串联支路的阻抗近似地等于电阻R。因此这个支路中的电流I\(_{1}\)→将与U→同相(图3b)。由于电容C的容量很大,它两端的电压Uc→将落后于电流I\(_{1}\)→90°相角。而晶体管的集电极电流Ic→将与U\(_{c}\)→同相。同时由于R较大,Ic》I\(_{1}\),所以可近似地认为I→=Ic→。我们把U→、I\(_{1}\)→、Uc→、I→\(_{c}\)、I→的关系用图3b表示,可以看出电压U→超前电流I→90°相角。因此这样的电子线路就具有电感的特点。这就是电抗管电路的基本工作原理。
实际线路、制作与调整

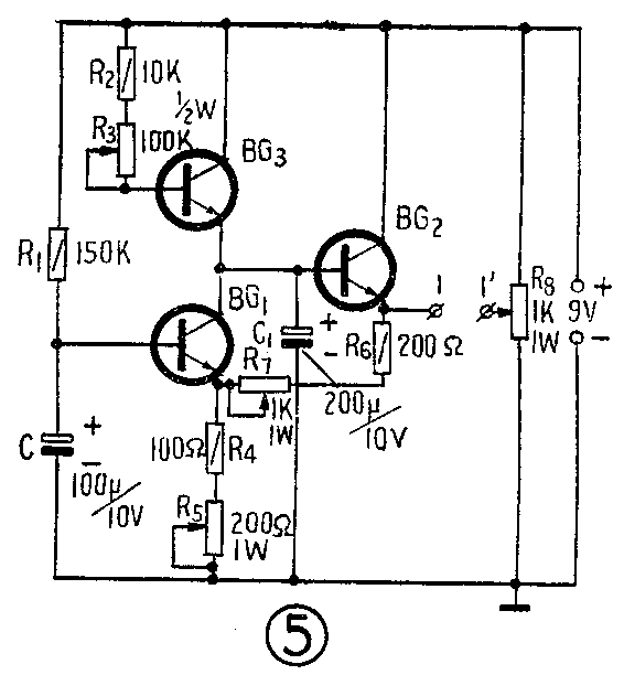
图4是电抗管超低频正弦波振荡器的实际线路。虚线框出的部分是电抗管,它的作用是代替图1中的L,它与电容C\(_{1}\)组成了振荡回路。将图4与图1对照可以看出:R8与R\(_{7}\)是图1中的Re,它们的作用是控制正反馈量的大小;图1中的耦合电容,由于图4采用直接耦合而被省去。虚线框中的电阻R和电容C即是图3a中的R和C;R是BG\(_{1}\)的偏流电阻;R2和R\(_{3}\)保证BG1有一定的电压与电流放大倍数,以完成电抗管的作用,同时又可以起到调节BG\(_{2}\)的静态工作点的作用;BG1的发射极接R\(_{4}\)、R5,R\(_{5}\)一端接地,发射极的引出线相当于图1中L的抽头,调节R5可以微调电抗管的等效电感量,用来调节振荡周期;R\(_{5}\)增大振荡周期增大。R8是直流零位调节电位器,以调节从1—1′端的输出电压,使其直流成分为零。
实际线路中的R也可以不要,这时BG\(_{1}\)的集电极——基极间的电阻仍可起到R的作用。接上R的好处是,在BG1的β较小时,振荡器也能起振。也可以用一晶体管代替R\(_{2}\)、R3,这样的线路如图5所示。

图4、图5中的管子都用3DG类型的管子。如果找不到这类管子,一般的高频管、低频管也可以。若用PNP型管子注意要将图中的电源正负极和电解电容的两个头对换。管子的β值最好在50以上。如果没有,只要β在20以上便可以做成功。
按图4(或图5)焊接好电路以后,将R\(_{7}\)拧到电阻最小位置,将万用表拧到直流电压110V档上,接到图4(或图5)的1——地间,然后调节R3,将观察到万用表指针摆动。这就表示振荡器已经起振。如果指针摆动不均匀,应缓慢地增大R\(_{7}\),至使指针摆动均匀为止。一般指针摆动时,如果不出现停顿或忽快忽慢的现象,振荡电压即是正弦波了。如果R5放在电阻最大位置,周期仍小于2秒,则应加大电容C\(_{1}\),或将BG1换β值略小的管子。
然后将1—1′端接到演示检流计上(检流计串连一电阻,使量程在±3V左右),调节电位器R\(_{8}\)的滑动头位置,使检流计指针左右两边摆幅相同。这时1一1′两端输出的就是不含有直流成分的纯正弦振荡电压了。(荣树熙)