我们参照本刊介绍关于半导体收音机用交流供电的方法(1965年第1期),装置了一具简单的整流器如图1,供给一台四管机应用。这台四管机正常工作电压为6伏,无信号电流6毫安,一般大信号输出情况下电流约20毫安。使用上述整流器时,发现它的输出电压不够稳定,随着收音信号的大小变化,电压变动很大,无信号时测得电压高出6伏许多,这对收音机工作显然是不利的。检查原因,原来当输出电流时,滤波电阻R上形成了一个大小随输出而变的压降,造成电压不稳定。输出小或无输出时,R上的压降小,端电庄则较高。


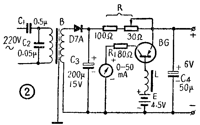
针对以上情形,我们作了一些改进如图2,消除了因电源内阻高而出现的输出电压不稳定的缺点,而且输出电压不受市电电压波动的影响,效果很好,方法如下:

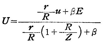
原理见图3。正常工作情况下,输出电流等于负载电流与分流管BG的发射极电流之和,即I=I\(_{z}\)+Ie。当负载电流增大时,I有增加的趋势,结果必然导至U\(_{R}\)的增加而使输出电压U降低。U的降低,BG发射结电压Ueb=U-E也随之下降,引起基极电流I\(_{b}\)减小。这个电流的减小,直接影响到Ie急剧下降(输出电流超出额定值或输出端短路时,BG不参与工作)。负载减小时I\(_{e}\)则回升。总之,它可以维持总电流I基本不变。由于U\(_{eb}\)很小(一般小于0.2伏),所以输出电压是稳定的。在U>E的正常工作情况下,U近似地可由下式表示:

这里r是分流管基极回路电阻,β是分流管的电流放大系数。可以看出U受u的影响很小,基本上等于电池的电动势E。
C\(_{1}\)是降压电容器,C2用以防止在电源接通的瞬间,变压器次级感应电压过高。BG集电极串入R\(_{1}\)后,可以减小集电极损耗,阻值选择,应使集电极电压等于输出电压的1/2。基极回路里的L用来防止基极电流突变,以保护分流管不致损坏。
元件 可变分流管BG宜采用低频管,要求β值是大些的,使在输出较大电流时,得到较好的稳压效果。C\(_{1}\)、C2为纸质电容器,耐压应在300伏以上。电源变压器可用一般6P1管用的输出变压器铁心绕制,数据如下:铁心截面积16×18平方毫米,用0.25亳米(33号)漆包线,初级绕1000匝,绕好后加一层锡箔作隔离层。次级用同号线绕120匝。L可用一只半导体输出变压器的初级代替。
使用 全部零件焊完毕后,必须对照线路仔细检查一遍,特别应注意BG的集电极回路是否接通,不可忽视。否则,打开电源分流管即将烧毁。检查元误后,将R中的可变电阻旋至最大阻值处,接通电源,电表即指示出一定数值。增减C\(_{1}\)的电容量,使集电根电流等于30毫安。如按图2装配,一般天需调整即可使用。
本设备额定输出电流约28毫安,电压变动不大于0.15伏。如果选用较大功率半导体管,或用几只β值相近的小功率半导体管并联使用,可增大输出电流,但整个装置亦须重新调整。输出电流较小时,β值小的半导体管也可以用。实验表明,当输出电流最大修选定为15毫安时,BG的β值等于8,L不用,电压变动也不到0.2伏。
电池E并不参与工作,长期放置不用,放电电流不超过10微安,故可不必取出。
电源变压器初级串入C\(_{1}\)后,增加了输入电压的不稳定,但对输出不致发生影响,而可使变压器的绕组大大减小,便于绕制。这样变压器即使在炎热的夏季长时间连续使用,也不致发热。
应当指出,市电电压的变动对输出电压虽无影响,但市电电压降低时,BG集电极电流下降,正常输出功率稍减。如嫌输出功率不足,可调整R的阻值,以资补偿。电流指示表可以不用,R用一只130欧固定电阻代替。

正常情况下,电流电压曲线如图4所示。整个设备呈电容性,这对电源来说是有利的。(林征)