我们最近为贫下中农设计了一台检波放大推挽输出的半导体收音机,经多方面使用,证明该机性能良好,灵敏度高,音量大,适合农村收听,造价低、装置容易,很受人民公社社员们欢迎。

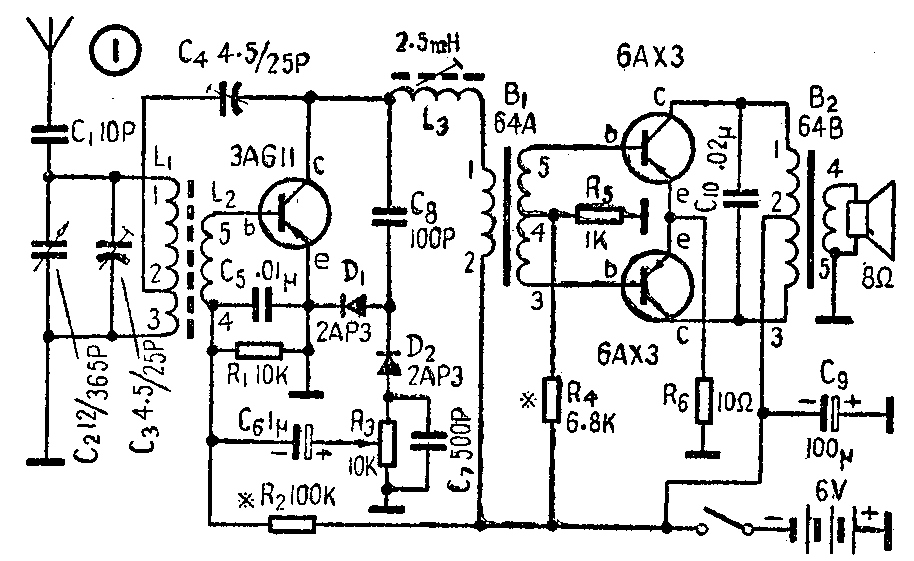
本机电路如图1。它是根据前“海棠TR2—1”型半导体收音机适当更改而成(参看1965年本刊第4期)。前面用一只高频管和两只二极管作高频放大、倍压检波和低频放大。然后经过变压器交连进行推挽放大输出,由于采取推挽输出,所以声音大,音质好。

磁性天线(图2)采用M4型φ10×150毫米(直径10毫米、长150毫米)磁棒。调谐线圈L\(_{1}\)用七股(每股0.06毫米)的丝包线,在φ11×20毫米浸蜡纸筒上单层密绕48圈,在44圈处抽一头,以备作再生,也就是再生线圈为4圈。这个线圈的绕线也可以用旧七股中频变压器上拆下的旧线。输入线圈L2是在距离L\(_{1}\)约8毫米处,用0.15毫米七股丝包塑胶线密绕5圈。
高频阻流圈L\(_{3}\)的电感量为2.5毫亨,可用市售的成品。自制时可用一个中频变压器的磁心;再取一个硬纸在磁心上卷一个纸筒,要能使磁心在纸筒内旋动。然后用硬纸板剪成两个纸环套在纸筒外面,用胶水固定住。再在纸筒上用0.12毫米径漆包线乱绕500圈即可。如图3所示。

输入输出变压器B\(_{1}\)B2:为了配合8欧阻抗的扬声器。可以采用一套64A、B型输入输出变压器。如果扬声器阻抗是3.2欧,可以用一套63AB型输入输出变压器。这两种产品都是北京有线电厂产品,考供半导体收音机用的。采用其他型号产品或自制也可以,但应注意能配合半导体管和扬声器音圈阻抗的需要。
本机装置时要注意使扬声器离磁棒远些。高频阻流圈与磁棒间距离会影响收音机性能,一般应离开3—5厘米。输入变压器和输出变压器也要离远些,要相互垂直放置。
全部元件可以装在一个普通的塑料菜盒里,以便随身携带。
电路中的R\(_{2}\)、R4是调整偏流用的电阻,需要根据具体管子调到合适的数值。(叶荣安)