用电脉冲法加工模具是一项新工艺,电脉冲机床是此项新工艺的专用设备。近年来,不少单位的职工,以毛泽东思想的武器,发扬自力更生,奋发图强的精神,先后制出了各种类型的新机床。其中尤以大功率、高生产率的高频电脉冲机床最为理想。用这类机床来加工一个凹模,一般只需30分钟至一小时。
一个大功率的、生产率高的脉冲电源,必须有其他方面的良好配合,才能得到预期的效率。为此,在调整和使用电脉冲机床时,多用示波器来观测机床的工作情况。但是,正规产品的示波器价格较高,体积大,因而在配备上,受到一定限制。为此,我们试制了一部简易的脉冲示波器。实践证明,完全能满足生产上的需要,且花钱少,容易制作。
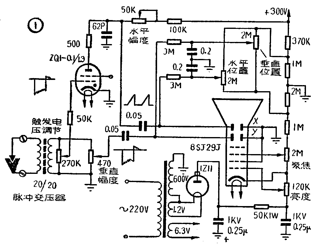
该示波器只用三只电子管。1Z11作高压整流,ZQ1-0.1/1.3作触发扫描,8SJ29J作显示。

(1)高压整流器:用普通五灯收音机的电源变压器,其高压绕组2×300V(中心抽头不用)输出,经1Z11整流后,供示波管使用。
(2)触发扫描器:为了在较宽的频率范围内,使扫描电压与信号电压同步,而采用触发扫描器。当闸流管的栅极上无负信号时,闸流管为导通状态,因而无扫描信号电压输出。当负的脉冲电压加到栅极上时,闸流管被封闭,于是直流+300V对62Pf的电容器充电。其充电曲线接近于直线(实际上是指数曲线)。此电压经0.05μf的电容器加到水平偏转板上,使电子束作水平扫描。当第一个脉冲终了,闸流管又恢复导电,于是扫描终止,直到第二个脉冲到来,才开始出现第二个扫描信号。其对应关系如图2所示。

(3)垂直输入:由于脉冲电源的输出功率很大,输出电压也很高(一般为几十伏至一百几十伏),所以脉冲信号不必经垂直放大就可直接加到垂直偏转板上,其幅度由“垂直幅度”电位器调节。
当示波管的灵敏度较低或脉冲电源的输出电压较低时,可用增大脉冲变压器的变压比,使电压升高一些的办法来得到足够大的图象,必要时,也可以采用降低示波管阳极电压的办法。
(4)脉冲变压器:主要用作隔离。因为机床工作时,根据电极材料的不同,有时是正极接地,有时是负极接地,而本示波器只允许正极性接地时才能工作。
(5)其他部分与一般示波器相同,故不赘叙。
这部简易示波器可以显示下述的机床工作情况。
(1)单个脉冲正半波的波形,脉冲宽度和脉冲幅度。当脉冲电源发生故障时,就能及时发现。
(2)放电间隙的情况:当间隙开路时,其显示为空载波形(见图3);间隙短路时为一亮点;当间隙恰好为放电距离时,可清晰地看到放电曲线(见图4)。

(3)脉冲利用率:脉冲利用率与生产率直接有关。利用率高时,放电曲线亮而稳定,否则曲线暗而断续。根据放电曲线的明暗程度,就可以即时调整工具电极的进给速度,以达到脉冲利用率最高而不短路。
(4)间隙处的排屑情况:当排屑良好时,放电曲线细而亮;排屑不良时,曲线粗而模糊。
制作中有下列几个问题应该说明。
脉冲变压器是用φ58×φ37×20的M4型铁氧体磁环作磁心,用φ0.5左右的漆包线绕两组,每组均为20匝。
1Z11的灯丝电源为1.2V,可在五灯机电源变压器线圈的最外层绕数匝,或在5V绕组上串一电阻,降压后使用。
图中各元件的数据是根据我们手头现有材料选用的,故仅供参考。例如闸流管亦可用ZQ1—0.1/0.3的,环形磁心也可用尺寸小一些的,示波管也可用其他型号的。
300V的直流电压直接由脉冲发生器电源供给,不必另备。
这部示波器的主要缺点是不能显出脉冲的负半波部分,但一般的负半波均很小,且对加工无重要意义,所以用这部示波器作高频脉冲机床的调节指示器是实用的。(李宏图)