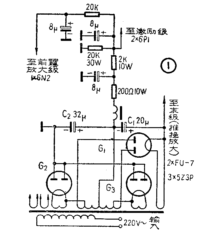
问:我们的80瓦扩音机的整流电路(如图1),为什么其中有两个整流管的屏极是接地的?桥式整流的原理是怎样的?
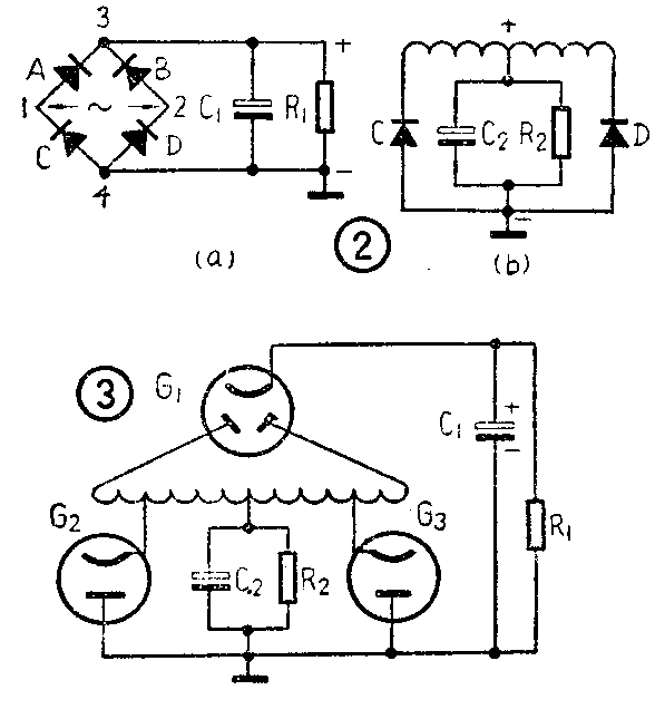
答:这是一个桥式整流和全波整流的混合电路。末级推挽放大2×FU-7(807)的屏压是由3×5Z3P(5U4)构成的桥式整流电路供给的。前置放大级1×6N2(6H2П)和激励级2×6P1(6H1П)的屏压和帘栅压,则由屏极接地的2×5Z3P构成的全波整流电路供给的。图2a表示由A、B、C和D四个整流元件构成的一个桥式整流电路,在1、2两点间接交流电源,3、4两点是直流输出处,R\(_{1}\)为负荷电阻。当交流电源左边为正,右边为负的半周内,电流只能通过整流元件A,负荷电阻R1和整流元件D完成回路;当右边为正左边为负的另一半周内,电流只能通过B、R\(_{1}\)和C。注意两半周内通过负荷电阻R1的电流方向,都是一样的。如此周而复始,这就是桥式整流的工作情况。图2b表示由C、D两个整流元件构成的全波整流电路,R\(_{2}\)是它的负荷电阻。把图一重新安排一下,可以绘成图3的样子。仔细观察图3,这显然就是图2a和b两部分的组合。G1、G\(_{2}\)和G3(3×5Z3P)整流管构成桥路,而G\(_{2}\)和G3另又构成全波整流电路,因为激励和前置放大级需要的电压低,所以接用变压器上两个抽头,又因为这两级要求纹波滤得更干净,所以这里另外又加了滤波和降压去耦电路。本来G\(_{1}\)应该用两个管子,但因G1负荷较轻,而且灯丝输出端可以联起来,所以可合用一个管子;G\(_{2}\)和G3的屏极,由于都是直流输出的负端,所以全接机壳。而这两管的丝极,则为交流电源输入处,不能联在一起,所以必须分用两个管子,实际上这两管负荷也较G\(_{1}\)大些,因为同时兼作全波整流。


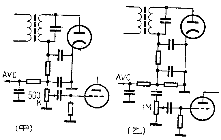
问:电子管收音机低频前级放大管栅漏电阻有的用5兆欧,有的用510千欧等,音量控制电位器有的用1兆欧,有的用500千欧,何故?用\(\frac{1}{2}\)6N2管时上述电阻和电位器各用何值最好?
答:采用5~10兆欧大阻值栅漏电阻的,是利用输入的信号来产生自动栅偏压的。这种电路放大管阴极直接接地(没有阴极电阻),在没有信号输入时,栅压为零。在有信号输入时,就会产生栅流。通过栅漏电阻产生自动栅偏压。由于栅流较小,所以需用较大阻值的电阻才能产生足够的栅偏压。因电子管未加固定栅偏压,为使屏流不致过大,屏极输出一般均采用阻容耦合,借屏极电阻的降压来限制屏流。这种电路,虽然比较简单,可以省用阴极电阻电容等几个元件,但因工作时经常有栅流,这样就加重了前级的负荷,而且失真较大。一般采用阴极偏流电阻的放大电路,是利用屏流流过阴极电阻产生自给栅偏压的。在没有信号输入时,栅极上已加有一个固定栅偏压,输入信号,不超过这个偏压时,不会产生栅流,只有在信号特别强时,才会有栅流,在栅漏电阻上产生附加偏压。为了不使这种附加偏压过大,影响电子管的正常工作,因而栅漏电阻不宜过大,应根据电子管手册中规定的数值使用,一般在0.5~1兆欧。6N2的栅漏电阻应为0.5兆欧,可用标称值510千欧或470千欧。
音量控制器阻值的大小,主要应使检波器的负载电阻尽量接近它的规定值,可以减少失真。如附图甲用500千欧较好,图乙用1兆欧较好。

问:上海广播器材厂出品160—A型六灯机,往往发生整流管烧毁,灯丝电源和功放级6P1的阴极间的电阻(1K)烧毁(见附图)的故障,这时电源变压器温度激增,喇叭有交流声,调谐指示无蓝光。不知是何原因?

答:这种机器的装置结构有些特殊,整流管6Z4是横插的,又安装在电源变压器的上方。因为变压器上方较热,电子管横向装置,地心引力对灯丝影响也较大,这都会使灯丝变形加剧,灯丝上面的氧化铝绝缘涂层本来很容易碎裂,这样,更易造成局部短路,增大丝流,产生高温,致阴极局部烧红,甚至熔化和屏极相碰,终于烧毁灯丝。等到发生磁极现象,灯丝接6P1阴极的电阻,当然因过负荷而烧毁。同时,交流高压由6Z4阴极直接加至各管屏极上,因此有交流声,调谐指示管则因无直流高压而不发蓝光。变压器的高压线圈因被滤波电容器短接,自然要发高热。如不即速关机,滤波电容器和被短接的高压线圈,都有损毁的可能。遇有这种故障,更换整流管和1K电阻后即可修复。但要彻底消除这种故障,最好把6Z4直立安装,并在高压变压器接地处,再加接一个保险丝(0.15安),以资保护。