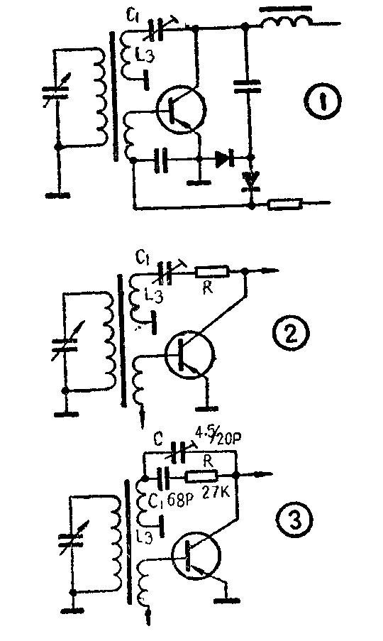
一般来复式半导体收音机都加有再生,如图1中的L\(_{3}\)、C1。但是这种再生电路有个严重的缺点——再生不均匀,在接收波段的低频端再生较弱,高频端的再生较强。

这主要是C\(_{1}\)对高低频容抗相差很大所引起的。针对上述情况,加大C1容量,并且串联一个电阻R(如图2)。实验的结果告诉我们:这种电路与上一种相反——低频端再生较强,高频端再生较弱。再在C\(_{1}\)、R上并联一只电容C(如图3),实验证明,只要仔细调整R、C可以使再生非常均匀。
C\(_{1}\)可用60—100PF电容, R一般在15K—35K之间,C用半可变电容较为方便。图3中是笔者所用的数值。
调整时,C放在最小容量位置,R用50K电位器代替,放在高阻值位置。先调节电位器,使低频端刚出现再生,然后调节C,使高频端刚出现再生。这时低端再生可能略有加强,要多次调整C和电位器,才能使再生非常均匀。调整好后,焊下电位器测出阻值,换上阻值相等的电阻即可。(田益耕)